GM Service Manual Online
For 1990-2009 cars only
Makes
🢒
Cadillac
🢒
2004
🢒
Seville
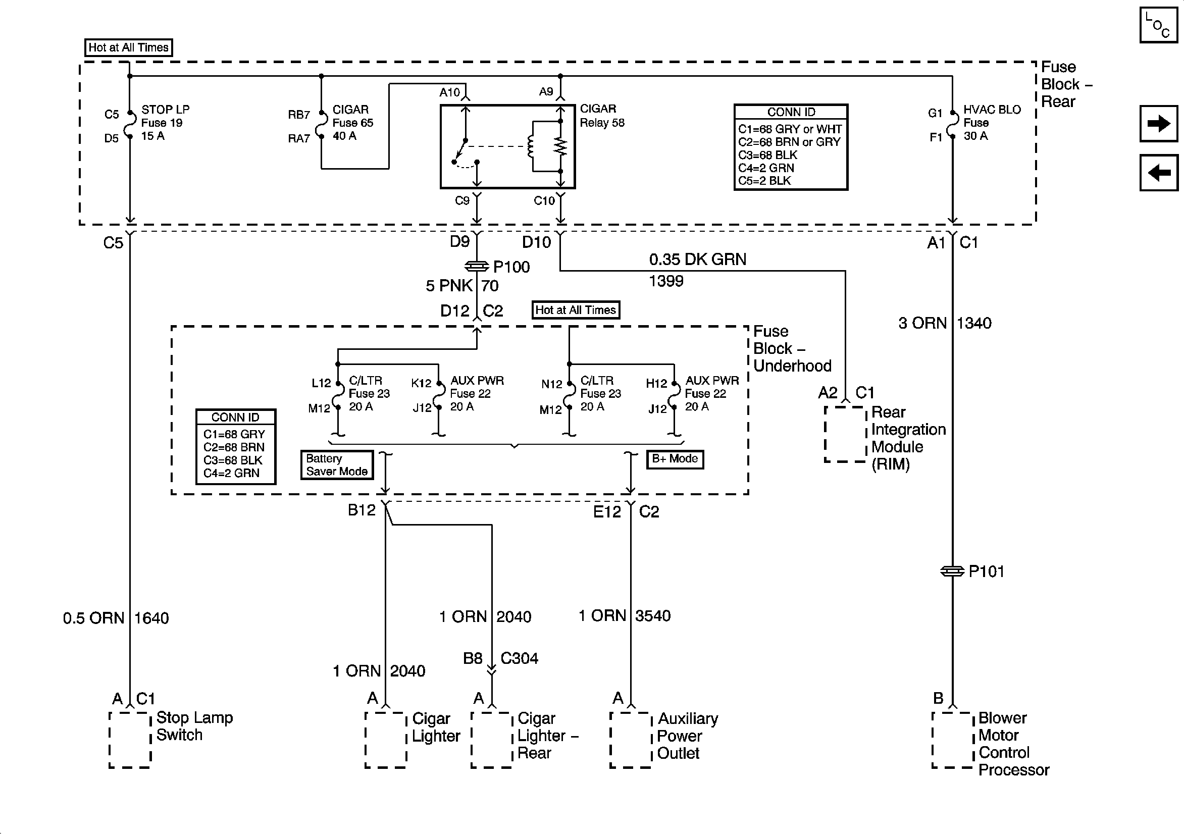
🢒 Power Distribution Schematics-Cigar Relay and Stop LP, Cigar, HVAC BLO Fuses
Power Distribution Schematics-Cigar Relay and Stop LP, Cigar, HVAC BLO Fuses
CIGAR Relay and STOP LP, CIGAR HVAC BLO Fuses
Master Electrical Component List
Power Distribution Schematics-NAV, EXPORT BRK and SDAR Fuses
Power Distribution Schematics-IGN 1 Relay,SIR,Vent Sol and Ignition 1 Fuses