GM Service Manual Online
For 1990-2009 cars only
Makes
🢒
Cadillac
🢒
2004
🢒
Seville
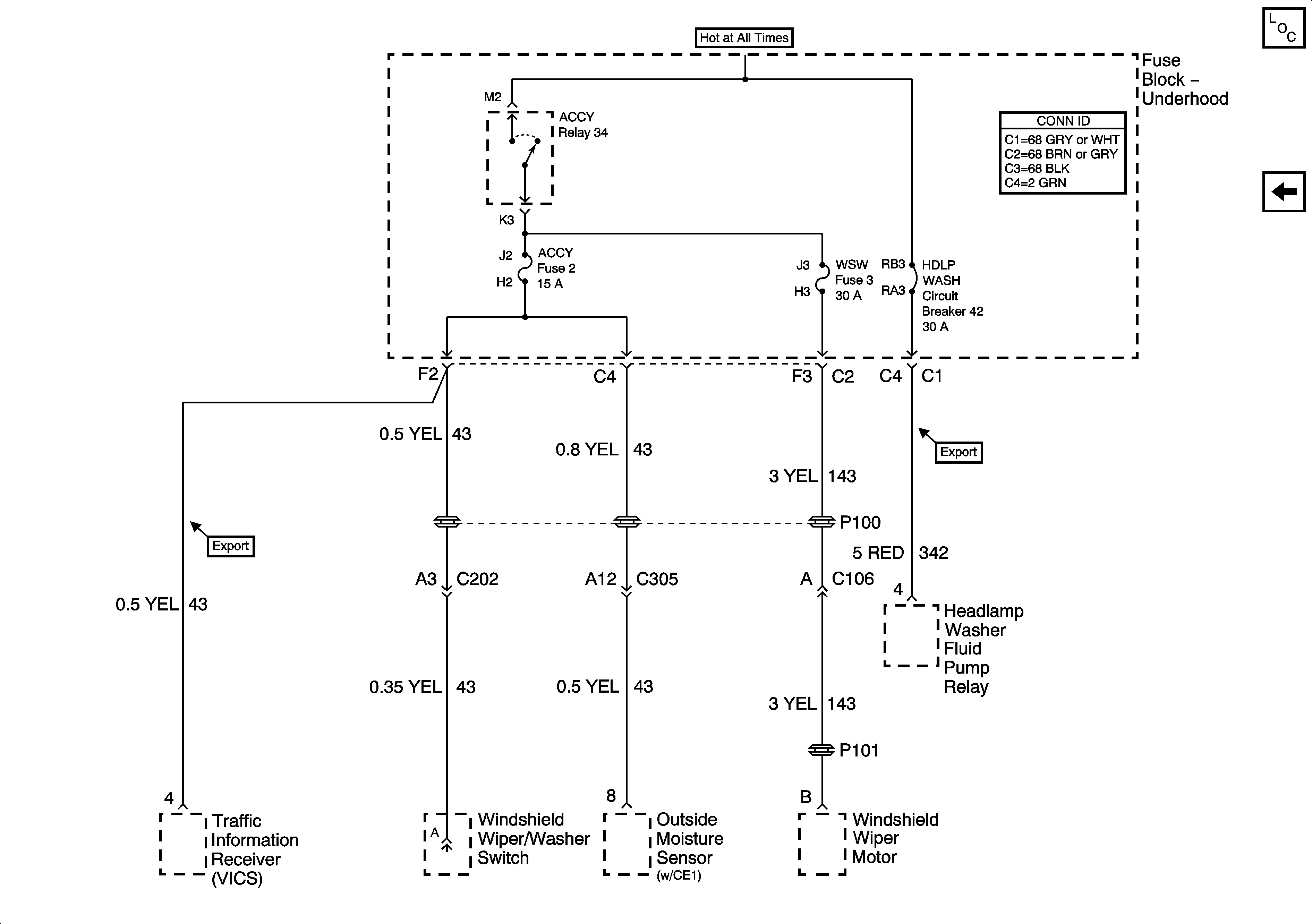
🢒 Power Distribution Schematics-ACCY,WSW Fuses,ACCY Relay-HDLP/WASH Cir Brkr
Power Distribution Schematics-ACCY,WSW Fuses,ACCY Relay-HDLP/WASH Cir Brkr
ACCY and WSW Fuses and ACCY Relay and HDLP WASH Circuit Breaker
Master Electrical Component List
Power Distribution Schematics-NAV, EXPORT BRK and SDAR Fuses