GM Service Manual Online
For 1990-2009 cars only

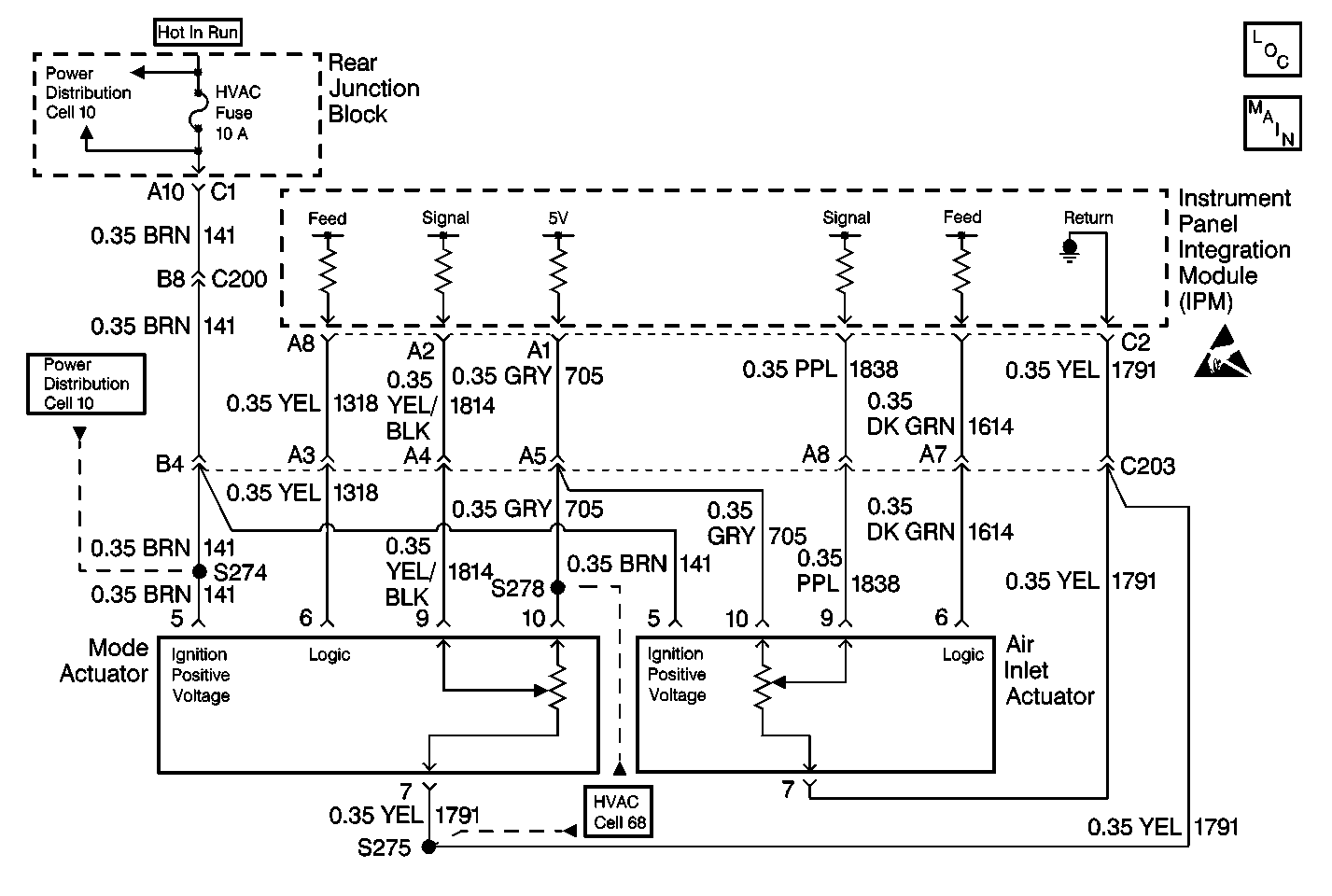
Object Number: 298483  Size: MF
HVAC Air Delivery/Temperature Control Schematics Electric Actuators
HVAC Air Delivery/Temperature Control Schematics Electric Actuators
HVAC Schematic Icons
HVAC Schematic References
HVAC Schematic References

Circuit Description

The rear junction block supplies ignition voltage through circuit 141 (BRN). The IPM commands the actuator to move by suppling voltage on the command circuit 1614 (DK GRN). The command line voltage and motor actions are as follows:

    • 0 volts moves toward full hot.
    • 2.5 volts stops the motor.
    • 5 volts moves toward full cold.

The IPM determines the current position by monitoring the voltage on the feedback circuit 1838 (PPL). A feedback potentiometer supplies a regulated 5 volt signal by the IPM on circuit 705 (GRY), and a ground from the IPM circuit 1791 (YEL). The pot is gear driven inside the actuator. The feedback voltage is a function of the motor position with a high voltage of 4-5 volts indicating full hot door position. A low voltage of less then 1 volt indicates the full cold position. Operation of the air mix door actuator can be evaluated through scan tool data.

Conditions for Setting the DTC

    • Ignition is ON.
    • Feedback circuit is open or shorted.

Action Taken When the DTC Sets

    • A default value of 128 counts will be used by the IPM.
    • This default value results in only two positions of the actuator full outside air and full recirc air being used by the system.

Conditions for Clearing the MIL/DTC

    • Using a scan tool.
    • A current DTC will clear when the diagnostic runs and does not fail.
    • IPM battery voltage is interrupted.

Test Description

The numbers below refer to the step numbers on the diagnostic table.

  1. This step determines whether the Body Control Module Diagnostic Symptom Check was performed.

  2. This test allows the calibration of the scan tool by the actuator.

  3. This step determines if the instrument panel integration module (IPM) is malfunctioning.

  4. This step determines if the actuator is operational.

Step

Action

Value(s)

Yes

No

1

Was the BCM diagnostic system check performed?

--

Go to Step 2

Go to Diagnostic System Check - Body Control System

2

  1. Install the scan tool.
  2. Start the engine and bring to normal operating temperature.
  3. Using the scan tool, establish communications with (IPM).
  4. Recalibrate all actuators.

Is the difference between minimum and maximum counts within the specified range?

150-220 counts

Go to Step 3

Go to Step 4

3

  1. Clear all the DTCs using the scan tool.
  2. Operate the system.

Does the system operate normally?

--

Go to Step 18

Go to Step 4

4

  1. Disconnect the electrical connector from the actuator.
  2. Measure the voltage at terminal 10, CKT 705 (GRY).

Is the voltage measured at the specified value?

5 V

Go to Step 5

Go to Step 9

5

Measure voltage at terminal 5, CKT 141 (BRN).

Is the voltage measured at the specified value range?

10 - 15 V

Go to Step 6

Go to Step 9

6

Measure voltage between terminal 7, CKT 1791 (YEL) and terminal  5,CKT 141 (BRN)

Is the voltage measured at the specified value range?

10 - 15 V

Go to Step 7

Go to Step 9

7

  1. Measure voltage at terminal 6, CKT 1614 (DK GRN).
  2. Change temperature between Max Hot - Cold ( 15 - 32   degrees   celcius.

Is the voltage measured at the specified value?

0 - 5 V

Go to Step 8

Go to Step 9

8

Measure voltage at terminal 9, CKT 1838 (PPL).

Is the voltage measured at the specified value?

5 V

Go to Step 9

Go to Step 11

9

Inspect the circuits for an open, or short conditions.

Is an open or short condition present?

--

Go to Step 10

Go to Step 11

10

Repair the open or short condition.

Is the repair complete?

--

Go to Step 21

--

11

View actuator data on the scan tool.

Is the actuator actual data displayed on the scan tool at the specified value?

5 V or 255 counts

Go to Step 12

Go to Step 20

12

Short terminal 9, CKT 1814 (YEL / BLK) to ground.

Is the specified value present?

0  V or 0  Counts

Go to Step 13

Go to Step 20

13

Connect the electrical connector to the actuator.

Is the actuator actual data displayed on the scan tool at the specified value?

5 V or 255 Counts

Go to Step 19

Go to Step 14

14

Using the scan tool, move the actuator to the hot position and the cold position.

Does the actuator move in both directions?

--

Go to Step 15

Go to Step 16

15

Did the actuator actual position feedback change?

--

Go to Step 21

Go to Step 19

16

Short terminal 10, CKT 705 (GRY) to terminal 6, CKT 1614 (DK GRN).

Did the actuator move?

--

Go to Step 17

Go to Step 18

17

Did the actuator actual position feedback change?

--

Go to Step 21

Go to Step 19

18

Short terminal 7, CKT 1791 (YEL) to terminal 6, CKT  1614 (DK GRN).

Did the actuator move?

--

Go to Step 17

Go to Step 19

19

Replace the actuator. Refer to Air Inlet Actuator Replacement in HVAC Systems with A/C-Automatic.

Is the repair complete?

--

Go to Step 21

--

20

Replace the (IPM). Refer to Body Control Module Replacement Heater and A/C Control/IPM.

Is the repair complete?

--

Go to Step 21

--

21

Confirm proper operation of the A/C system.

Does the system operate normally?

--

Go to Diagnostic System Check - Body Control System

--