GM Service Manual Online
For 1990-2009 cars only

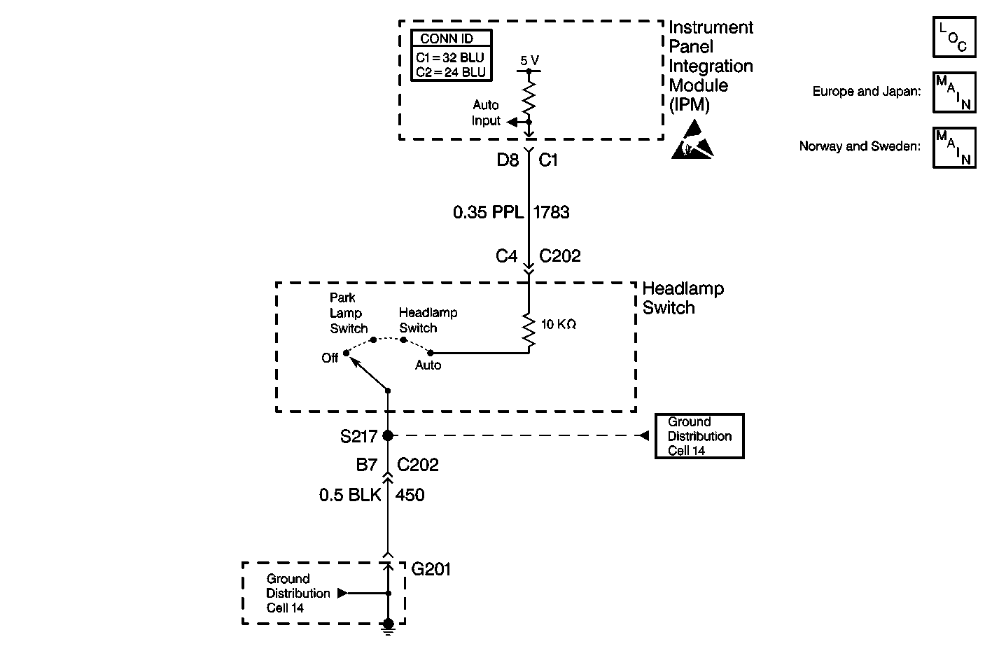
Object Number: 309038  Size: MF
Lighting Systems Components
Cell 100: Headlamp Switch, Ambient Light Sensor
Handling ESD Sensitive Parts Notice
Cell 68

Circuit Description

Right hand drive vehicles do not have twilight sentinel. The instrument panel integration module (IPM) receives an input from the auto switch in the headlamp switch. The headlamp switch receives ground from G201 via CKT 450 (BLK). When the headlamp switch is in the AUTO position, the IPM sends a class 2 message to the dash integration module (DIM) indicating that the headlamp switch is in the AUTO position. The DIM will automatically control the turning on and off of the headlamps and park lamps depending on ambient light conditions.

Conditions for Setting the DTC

The IPM will set the DTC B2420 any time it detects a short condition from the auto switch.

Action Taken When the DTC Sets

The DIM will not automatically control the headlamps and park lamps. They must be turned on manually.

Conditions for Clearing the DTC

    • The IPM sees that the auto switch input is no longer shorted.
    • Use the On-Boards clearing DTCs feature.
    • Use a scan tool.

Test Description

The numbers below refer to the step numbers on the diagnostic table:

  1. Perform the entire Body Control System Diagnostic System Check or the Lighting Systems Diagnostic System Check before continuing with the diagnosis of this DTC.

  2. Determines whether there is a concern with the headlamp switch or the input wiring. DTC B2420 will set again if there is a short in the wiring or there is an internal IPM problem. DTC B2420 will not set again if there is a concern with the headlamp switch because the switch has been disconnected from the instrument panel integration module (IPM) input.

  3. Determines whether there is a short to battery positive voltage (B+) in the input wiring to the IPM.

  4. Determines whether there is a short to ground in the input wiring to the IPM.

  5. Clear all DTCs after the repair procedure is complete.

Step

Action

Value(s)

Yes

No

1

Was the entire Body Control Module Diagnostic System Check or Lighting Systems Diagnostic System Check performed?

--

Go to Step 2

Go to Diagnostic System Check - Body Control System or Diagnostic System Check - Lighting Systems

2

  1. Turn the ignition switch to the ON position.
  2. Connect a scan tool to the data link connector (DLC).
  3. Disconnect the headlamp switch connector C202.
  4. Using the scan tool, clear all DTCs. Refer to Diagnostic Trouble Code (DTC) Clearing .

Does DTC B2420 reset?

--

Go to Step 3

Go to Step 6

3

  1. Disconnect the instrument panel integration module (IPM) connector C1.
  2. Connect a DMM from the IPM connector C1 cavity D8 (PPL) to ground.

Is the voltage within the specified range?

10-15 V

Go to Step 7

Go to Step 4

4

  1. Reconnect the IPM connector C1.
  2. Connect a DMM from the IPM connector C1 cavity D8 (PPL) to ground.

Is the voltage less than the specified value?

1 V

Go to Step 8

Go to Step 5

5

Replace the instrument panel integration module (IPM). Refer to Body Control Module Replacement in Body Control System.

Is the IPM replacement complete?

--

Go to Step 9

--

6

Replace the headlamp switch. Refer to Cruise Control Switch Assembly - Pivot and Pulse in Steering Wheel and Column-Tilt.

Is the headlamp switch replacement complete?

--

Go to Step 9

--

7

Repair the short to battery positive voltage (B+) in CKT 1783 (PPL). Refer to Wiring Repairs in Wiring Systems.

Is the circuit repair complete?

--

Go to Step 9

--

8

Repair the short to ground in CKT 1783 (PPL). Refer to Wiring Repairs in Wiring Systems.

Is the circuit repair complete?

--

Go to Step 9

--

9

  1. Turn the ignition switch to the OFF position.
  2. Reconnect or install any connectors or components that were disconnected or removed.
  3. Turn the ignition switch to the ON position.
  4. Clear any DTCs. Refer to Diagnostic Trouble Code (DTC) Clearing .

Are all DTCs cleared?

--

Go to Diagnostic System Check - Body Control System or Diagnostic System Check - Lighting Systems

--