GM Service Manual Online
For 1990-2009 cars only

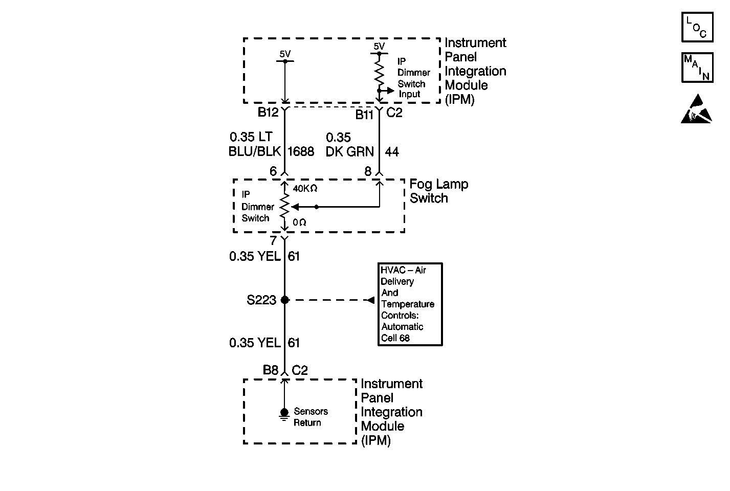
Object Number: 293708  Size: MF
Lighting Systems Components
Cell 117: Dimming Control, IP Dimmer Switch
Handling ESD Sensitive Parts Notice
Cell 68

Circuit Description

The instrument panel integration module (IPM) receives an input from the IP dimmer switch in the fog lamp switch. The IPM supplies the ground for the switch through the sensor return. The resistance of the IP dimmer switch varies between 0 ohms and 40 Kohms as the switch is operated. As the resistance of the IP dimmer switch varies, the voltage input to the IPM changes. The IPM determines the level of dimming for the switch backlighting and VF displays. The IPM then sends a message via the class 2 serial data line to the dash integration module (DIM), the driver door module (DDM), the instrument cluster (IPC), the radio (IRC), and the cellular telephone docking station (PHN) indicating level of dimming for the switch backlighting and VF displays.

Conditions for Setting the DTC

The IPM will set the DTC B2422 any time it detects that the IP dimmer switch input voltage is out of range.

Specification
Normal switch input voltage: 0.095-4.75 V

Action Taken When the DTC Sets

The IPM will set the dimming level to maximum brightness.

Conditions for Clearing the DTC

    • The IPM sees that the IP dimmer switch input voltage is within the valid range.
    • Use the On-Boards clearing DTCs feature.
    • Use a scan tool.

Test Description

The numbers below refer to the step numbers on the diagnostic table:

  1. Perform the Body Control Module Diagnostic System Check or Lighting Systems Diagnostic System Check before continuing with the diagnosis of this DTC.

  2. Clear all DTCs after the repair procedure is complete.

Step

Action

Value(s)

Yes

No

1

Was the entire Body Control Module Diagnostic System Check or Lighting Systems Diagnostic System Check performed?

--

Go to Step 2

Go to Diagnostic System Check - Body Control System or Diagnostic System Check - Lighting Systems

2

  1. Disconnect the fog lamp switch connector.
  2. Disconnect the instrument panel integration module (IPM) connector C2.
  3. Connect a DMM from the IPM connector C2 cavity B11 (DK GRN) to ground.

Is the resistance less than the specified value?

5 ohms

Go to Step 11

Go to Step 3

3

Connect a DMM from the fog lamp switch connector cavity 8 (DK GRN) to the IPM connector C2 cavity B11 (DK GRN).

Is the resistance less than the specified value?

5 ohms

Go to Step 4

Go to Step 12

4

Connect a DMM from the fog lamp switch connector cavity 7 (YEL) to the IPM connector C2 cavity B8 (YEL).

Is the resistance less than the specified value?

5 ohms

Go to Step 5

Go to Step 8

5

Connect a DMM from the IPM connector C2 cavity B12 (LT BLU/BLK) to ground.

Is the resistance less than the specified value?

5 ohms

Go to Step 9

Go to Step 6

6

Connect a DMM from the fog lamp switch connector cavity 6 (LT BLU/BLK) to the IPM connector C2 cavity B12 (LT BLU/BLK).

Is the resistance less than the specified value?

5 ohms

Go to Step 7

Go to Step 10

7

Replace the fog lamp switch. Refer to Fog Lamp Switch Replacement in Lighting Systems.

Is the fog lamp switch replacement complete?

--

Go to Step 13

--

8

Repair the open in CKT 61 (YEL) between the fog lamp switch and S223. Refer to Wiring Repairs in Wiring Systems.

Is the circuit repair complete?

--

Go to Step 13

--

9

Repair the short to ground in CKT 1688 (LT BLU/BLK). Refer to Wiring Repairs in Wiring Systems.

Is the circuit repair complete?

--

Go to Step 13

--

10

Repair the open in CKT 1688 (LT BLU/BLK) between the IPM and the fog lamp switch. Refer to Wiring Repairs in Wiring Systems.

Is the circuit repair complete?

--

Go to Step 13

--

11

Repair the short to ground in CKT 44 (DK GRN). Refer to Wiring Repairs in Wiring Systems.

Is the circuit repair complete?

--

Go to Step 13

--

12

Repair the open in CKT 44 (DK GRN) between the IPM and the fop lamp switch. Refer to Wiring Repairs in Wiring Systems.

Is the circuit repair complete?

--

Go to Step 13

--

13

  1. Turn the ignition switch to the OFF position.
  2. Reconnect or install any connectors or components that were disconnected or removed.
  3. Turn the ignition switch to the ON position.
  4. Clear any DTCs. Refer to Diagnostic Trouble Code (DTC) Clearing .

Are all DTCs cleared?

--

Go to Diagnostic System Check - Body Control System or Diagnostic System Check - Lighting Systems

--