GM Service Manual Online
For 1990-2009 cars only

Tool Required

    • J 8001 Dial Indicator Set
    • J 42155 Getrag Axle Differential Housing Lifting Tool
    • J 42157 Getrag Axle Left Output Shaft Bearing Installer
    • J 42164 Getrag Axle Pinion Gear Holder
    • J 42170 Getrag Axle Bearing Race Installer
    • J 42173 Getrag Axle Ring Gear Holder
    • J 46405 Output Shaft Seal Installer

    Object Number: 1041917  Size: SH

    Important: If the pinion assembly components have not been replaced, reuse the original pinion housing shims. If the pinion assembly components have been replaced, refer to Drive Pinion Shim Selection for selection of the proper size shims.

  1. Assemble the drive pinion prior to rear axle assembly. Refer to Drive Pinion Assemble .
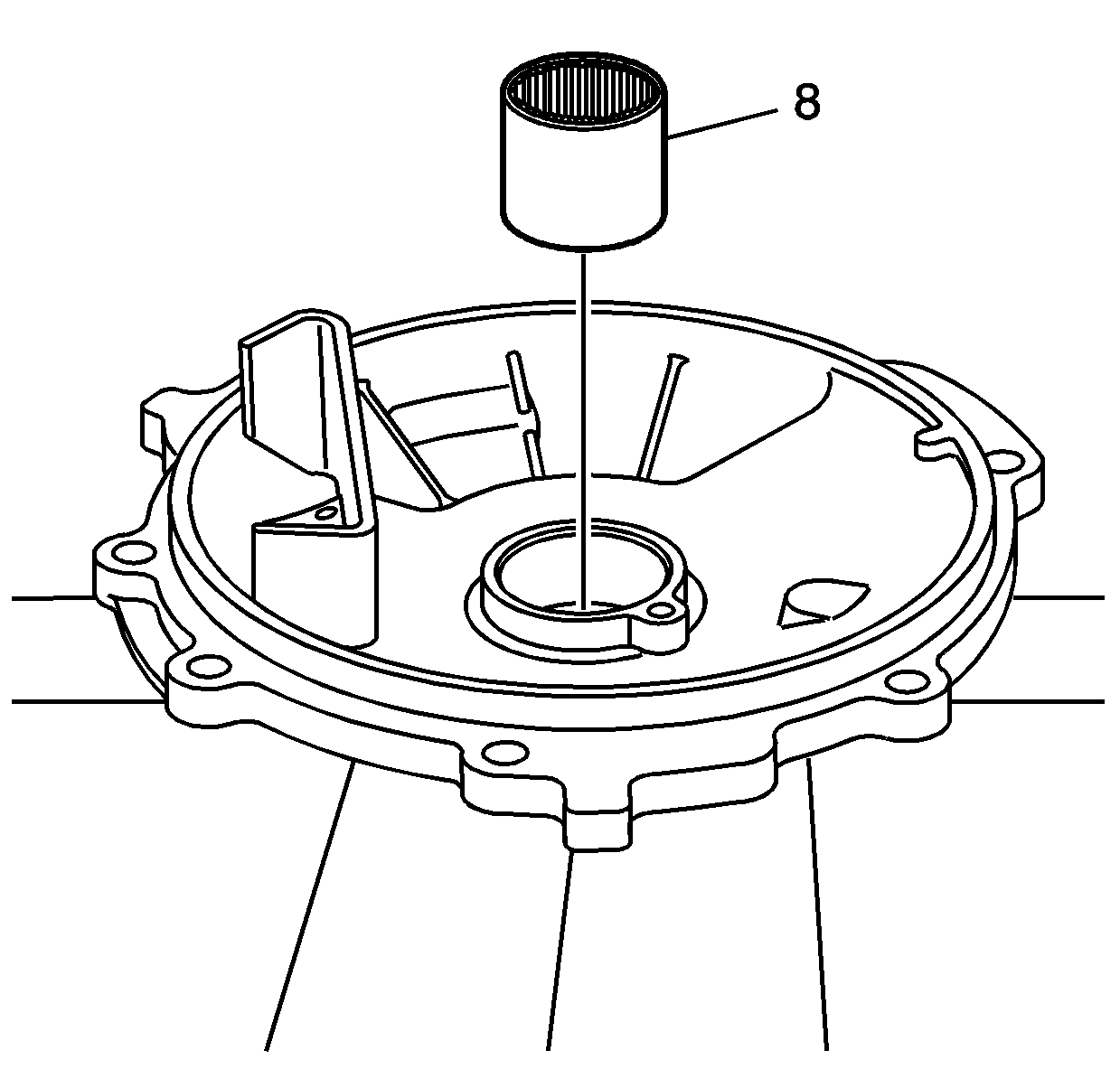
  2. Install the bearing (8) to the cover - left.

  3. Object Number: 1041979  Size: SH
  4. Install the bearing into the cover - left using the J 42157 and a hydraulic press.

  5. Object Number: 1041985  Size: SH
  6. Install the oil seal into the cover - left using the J 46405 .
  7. Install the oil seal into the cover - right using the J 46405 .

  8. Object Number: 1041725  Size: SH
  9. Install the pinion housing assembly (4) and the selected shim or shims (19) to the differential housing. Refer to Drive Pinion Shim Selection for shim selection.
  10. The use of M8 x 1.25 dowels or long bolts will ease in pinion housing/cage and shim installation and alignment.

    Notice: Refer to Fastener Notice in the Preface section.


    Object Number: 1041716  Size: SH
  11. Install the pinion housing/cage bolts (7).
  12. Tighten
    Tighten the bolts to 28 N·m (20 lb ft).


    Object Number: 1041663  Size: SH
  13. Install the C-clip (115) into the groove of the output shaft.

  14. Object Number: 1041988  Size: SH
  15. Apply threadlocker GM P/N 12345382 (Canadian P/N 10953489) or equivalent to the threads (2) of the bolts (21).
  16. Apply sealant GM P/N 1052942 (Canadian P/N 10953466) or equivalent to the head (1) of the bolts (21), only to seal them. Also apply to the threads (3) of the stud (22) that goes into the carrier.
  17. Install the adapter (23) and bolts (21).
  18. Tighten
    Tighten the bolts to 10 N·m (89 lb in).

  19. Install 2 M10 x 1.5 nuts onto the transmission stud (22). Install the stud into the adapter.
  20. Tighten
    Tighten the stud to 42 N·m (31 lb ft).


    Object Number: 1041989  Size: SH
  21. Install the O-ring (9) to the groove of the cover - right (3) and the dowel (10) into the carrier.
  22. Install the cover - right and bolts (7).
  23. Tighten
    Tighten the bolts to 25 N·m (18 lb ft).


    Object Number: 732188  Size: MH
  24. Install the J 8001 onto the transmission stud. Position the tip of the dial indicator against the center of the ring gear tooth surface.

  25. Object Number: 1041990  Size: SH
  26. Install the J 42164 into the splines of the pinion. You must hold J 42164 to retain the pinion in order to properly measure backlash.

  27. Object Number: 732185  Size: SH
  28. Move the output shaft - right in both directions in order to measure the gear backlash. Measure the backlash in two to three locations. Refer to Rear Axle Specifications .

  29. Object Number: 1041991  Size: SH

    Important: Note the location of the cover - rear bolt for assembly.

  30. Install the cover - rear (5), bolt (16), and O-ring (17).
  31. Tighten
    Tighten the bolt to 10 N·m (89 lb in).


    Object Number: 1041560  Size: SH
  32. Remove the bolts (3) and the differential assembly (1) from the J 42173  (2).

  33. Object Number: 1041550  Size: SH
  34. Install the O-ring (9) into the groove of the cover - left (2).
  35. Install the magnet (15) and dowel (10) to the carrier.
  36. Apply a continuous 3 mm (0.125 in) bead of sealant GM P/N 1052942 (Canadian P/N 10953466) or equivalent to the left cover flange (2).
  37. Apply sealant around the bolt holes. Keep sealant away from the O-ring.
  38. Install the cover - left (2) and bolts (7).
  39. Tighten
    Tighten the bolts to 28 N·m (20 lb ft).

  40. Clean the excess sealant from the left cover/housing split line.

  41. Object Number: 1041532  Size: SH
  42. Install the drain plug (25) and washer (24).
  43. Tighten
    Tighten the drain plug to 35 N·m (26 lb ft).

  44. Refer to Rear Axle Lubricant Replacement .