GM Service Manual Online
For 1990-2009 cars only
Figure 1:

Instrument Panel


Object Number: 1252421  Size: MF
(1)Dimmer/Head Up Display (HUD) Switch
(2)Turn Signal/Multifunction Switch
(3)Inflatable Restraint Steering Wheel Module
(4)Instrument Panel Cluster (IPC)
(5)Air Temperature Sensor - Inside
(6)Windshield Wiper/Washer Switch
(7)Driver Information Center (DIC) Switch
(8)Hazard Switch
(9)CD Changer
(10)Valet Switch
(11)Inflatable Restraint I/P Module
(12)Inflatable Restraint I/P Module Disable Switch
(13)I/P Compartment Lamp
(14)Radio
(15)HVAC Control Module
(16)Cigar Lighter
(17)Courtesy Lamp Switch - Console
(18)Folding Top Switch
(19)Inflatable Restraint I/P Module Disable Switch LED
(20)Traction Control Switch
(21)Auxiliary Power Outlet
(22)Courtesy Lamp - Console
(23)Automatic Transmission Shift Lever
(24)Ignition Mode Switch
(25)Steering Wheel Controls - Right
(26)Horn Switch
(27)Data Link Connector (DLC)
(28)Steering Wheel Controls - Left
Figure 2:

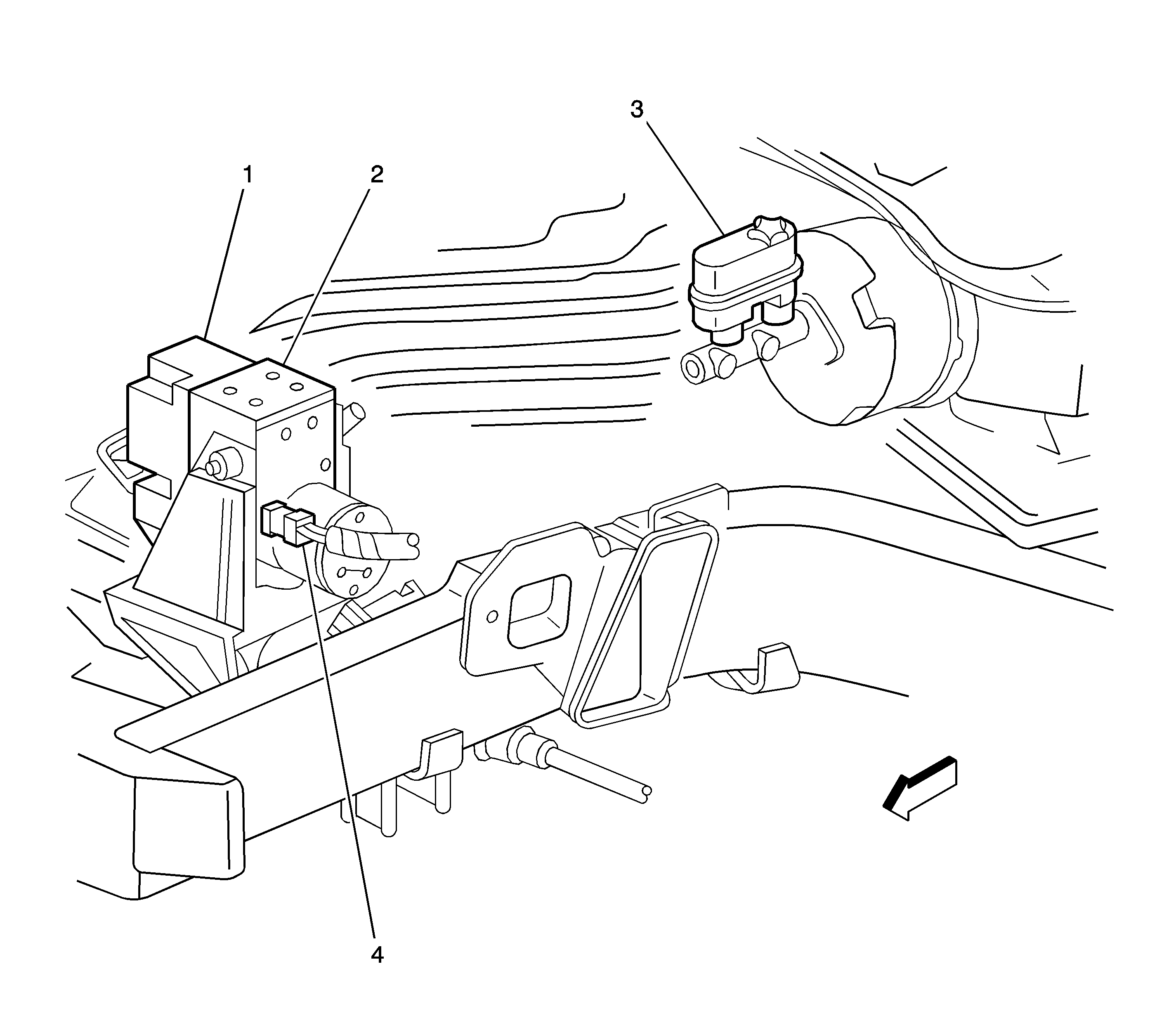
LF of the Engine Compartment


Object Number: 1261626  Size: LF
(1)Electronic Brake Control Module (EBCM)
(2)Brake Pressure Modulator Valve (BPMV)
(3)Brake Fluid Level Switch
(4)Brake Fluid Pressure Sensor
Figure 3:

Wheel Speed Sensor


Object Number: 1358081  Size: LF
(1)Wheel Speed Sensor (WSS) - LF
(2)Wheel Speed Sensor (WSS) - LR
(3)Wheel Speed Sensor (WSS) - RR
(4)Wheel Speed Sensor (WSS) - RF
Figure 4:

Behind the Center of the I/P


Object Number: 1358215  Size: LF
(1)Inflatable Restraint Sensing and Diagnostic Module (SDM)
(2)Yaw and Lateral Accelerometer Sensor