GM Service Manual Online
For 1990-2009 cars only

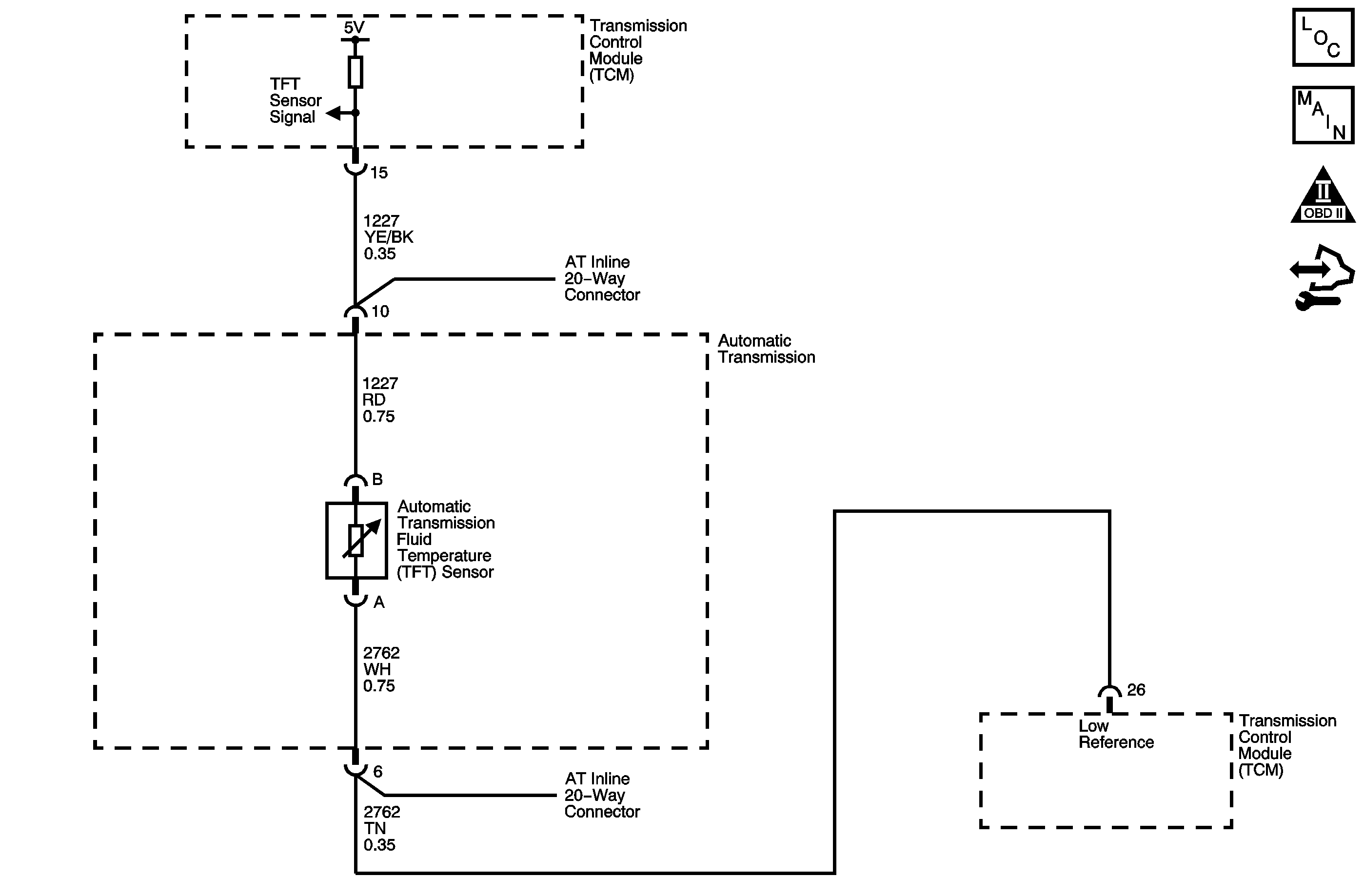
Object Number: 1466818  Size: MF
Master Electrical Component List
Automatic Transmission Controls Schematics
OBD II Symbol Description Notice
Control Module References

Circuit Description

The automatic transmission fluid temperature (TFT) sensor is part of the automatic transmission internal wiring harness assembly. The TFT sensor is a thermistor, or a resistor that changes value when the temperature changes. The sensor has a negative-temperature coefficient. This means that as the temperature increases, the resistance decreases, and as the temperature decreases, the resistance increases. The transmission control module (TCM) supplies a 5 volt reference signal to the sensor and measures the voltage drop in the circuit. When the transmission fluid is cold, the sensor resistance is high and the TCM detects high signal voltage. As the fluid temperature increases, the resistance of the sensor decreases, which lowers the signal voltage.

If the TCM detects an open in the TFT sensor or signal circuit, then DTC P0713 sets. DTC P0713 is a type C DTC.

DTC Descriptor

This diagnostic procedure supports the following DTC:

DTC P0713 Transmission Fluid Temperature (TFT) Sensor Circuit High Voltage

Conditions for Running The DTC

    • No ISS DTCs P0716 or P0717.
    • No OSS DTCs P0722 or P0723.
    • The output shaft speed is greater than 200 RPM for 200 seconds (3 minutes and 20 seconds) cumulative.
    • The TCC slip speed is greater than 120 RPM for 200 seconds (3 minutes and 20 seconds) cumulative.
    • The engine run time is greater than 5 seconds.

Conditions for Setting The DTC

The TCM detects a transmission fluid temperature of -39° C (-38° F) or less for 25 seconds.

Action Taken When the DTC Sets

    • The TCM does not request the ECM to illuminate the malfunction indicator lamp (MIL).
    • The TCM freezes transmission adaptive functions.
    • The TCM calculates a default transmission fluid temperature based on engine coolant temperature, intake air temperature and engine run time.
    • The TCM records the operating conditions when the Conditions for Setting the DTC are met. The TCM stores this information as a Failure Record.
    • The TCM stores DTC P0713 in TCM history.

Conditions for Clearing the DTC

    • A scan tool can clear the DTC.
    • The TCM clears the DTC from TCM history if the vehicle completes 40 warm-up cycles without a non emission related diagnostic fault occurring.
    • The TCM cancels the DTC default actions when the fault no longer exists and the DTC passes.

Step

Action

Value(s)

Yes

No

1

Did you perform the Diagnostic System Check - Vehicle?

--

Go to Step 2

Go to Diagnostic System Check - Vehicle in Vehicle DTC Information

2

  1. Install a scan tool.
  2. Turn ON the ignition, with the engine OFF.
  3. Important: 

       • Before clearing the DTC, use the scan tool in order to record the ECM and the TCM Failure Records. Using the Clear Info function erases the Failure Records from the ECM and TCM.
       • Using the Clear Info function erases stored DTCs in both the ECM and TCM.

  4. Record the DTC Failure Records.
  5. Clear the DTC.
  6. Select Trans. Fluid Temp. on the scan tool.

Does the scan tool display a Trans. Fluid Temp. less than the specified value?

-39°C (-38°F)

Go to Step 3

Go to Intermittent Conditions in Engine Controls - 4.6L

3

  1. Turn OFF the ignition.
  2. Disconnect the AT inline 20-way connector. Additional DTCs may set.
  3. Install the J 45681 jumper harness on the transmission side of the AT inline 20-way connector.
  4. Using the DMM and the J 35616 GM terminal test kit, measure the resistance between the TFT sensor signal circuit and low reference circuit of the J 45681 .

Is the resistance less than the specified value?

100 K ohms

Go to Step 5

Go to Step 4

4

  1. Test the TFT signal circuit for a short to voltage between the TCM connector and the TFT sensor. Refer to Testing for a Short to Voltage in Wiring Systems.
  2. Repair the wiring as necessary. Refer to Wiring Repairs in Wiring Systems.
  3. Replace the automatic transmission wiring harness. Refer to Transmission Internal Electrical Harness Replacement .

Is the repair complete?

--

Go to Step 7

--

5

  1. Test the TFT signal circuit for an open between the TCM connector and the AT inline 20-way connector.
  2. Test the TFT low reference circuit for an open between the TCM connector and the AT inline 20-way connector.

Refer to Testing for Continuity and Wiring Repairs in Wiring Systems.

Did you find and correct an open condition?

--

Go to Step 7

Go to Step 6

6

Replace the TCM.

Refer to Control Module References in Computer/Integrated Systems for replacement, set-up and programming.

Did you complete the replacement?

--

Go to Step 7

--

7

Perform the following procedure in order to verify the repair:

  1. Select DTC.
  2. Select Clear Info.
  3. Operate the vehicle under the following conditions:
  4. • Turn ON the ignition, with the engine OFF.
    • The Trans. Fluid Temp. must be greater than -40°C (-40°F) for 12.5 seconds.
  5. Select Specific DTC.
  6. Enter DTC P0713.

Has the test run and passed?

--

Go to Step 8

Go to Step 2

8

With the scan tool, observe the stored information, capture info and DTC info.

Does the scan tool display any DTCs that you have not diagnosed?

--

Go to Diagnostic Trouble Code (DTC) List - Vehicle in Vehicle DTC Information

System OK