GM Service Manual Online
For 1990-2009 cars only

Removal Procedure

Caution: Refer to Exhaust Service Caution in the Preface section.

Caution: Refer to Protective Goggles and Glove Caution in the Preface section.

  1. Raise and suitably support the vehicle. Refer to Lifting and Jacking the Vehicle .

  2. Object Number: 932058  Size: SH
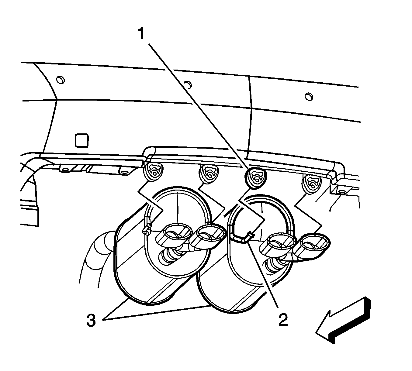
  3. Loosen the right side exhaust muffler clamp (2).

  4. Object Number: 932049  Size: SH
  5. Slide the muffler out from the hanger (1).
  6. Remove the right muffler.

Installation Procedure

Notice: Refer to Exhaust System Inspection Notice in the Preface section.

  1. Mark the position of the muffler band clamp (2) on the intermediate exhaust pipe.
  2. Remove the muffler band clamp from the intermediate exhaust pipe by grinding the weld.
  3. Install a new muffler band clamp on the intermediate exhaust pipe.
  4. Install the right muffler.

  5. Object Number: 932049  Size: SH
  6. Slide the muffler into the hanger.

  7. Object Number: 932058  Size: SH
  8. Position the new muffler band clamp (2) on the intermediate exhaust pipe using the alignment mark created previously. The muffler band clamp bolt must not be positioned below the exhaust pipe.
  9. Notice: Refer to Fastener Notice in the Preface section.

  10. Tighten the right side exhaust muffler clamp.
  11. Tighten
    Tighten the exhaust muffler clamp to 44 N·m (32 lb ft).

  12. Lower the vehicle.