GM Service Manual Online
For 1990-2009 cars only

Removal Procedure

The high mount stop lamp is illuminated by a Light Emitting Diode (LED). The lamp and diode are serviced as an complete assembly.

  1. Open the rear compartment.
  2. Remove the rear compartment lid trim panel. Refer to Rear Compartment Lid Inner Panel Trim Replacement .

  3. Object Number: 914400  Size: SH
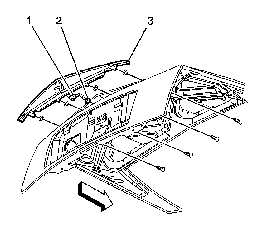
  4. Disconnect the electrical connector (2) from the stop lamp wring harness inside of the rear compartment lid.
  5. Remove the bolts attaching the stop lamp to the rear compartment lid.
  6. Remove the stop lamp (3) from the rear compartment lid.

Installation Procedure


    Object Number: 914400  Size: SH

    Important: Ensure the rubber grommet (1) attached to the stop lamp wiring harness is properly installed and sealed, in order to avoid water intrusion into the rear compartment and chafing of the wiring harness.

  1. Position the stop lamp (3) to the rear compartment lid.
  2. Notice: Refer to Fastener Notice in the Preface section.

  3. Install the stop lamp bolts.
  4. Tighten
    Tighten the bolts to 2 N·m (18 lb in).

  5. Connect the electrical connector (2) to the stop lamp wring harness inside of the rear compartment lid.
  6. Inspect the stop lamp for proper operation.
  7. Install the rear compartment lid trim panel. Refer to Rear Compartment Lid Inner Panel Trim Replacement .
  8. Close the rear compartment.