GM Service Manual Online
For 1990-2009 cars only
Makes
🢒
Cadillac
🢒
2007
🢒
XLR
🢒
Body Hardware and Trim
🢒
Interior Trim and Paneling
🢒 Pressure Relief Valve Replacement
Removal Procedure
Open the rear compartment.
Pull back the rear compartment passenger trim panel. Refer to
Rear Compartment Side Trim Replacement - Right Side
.
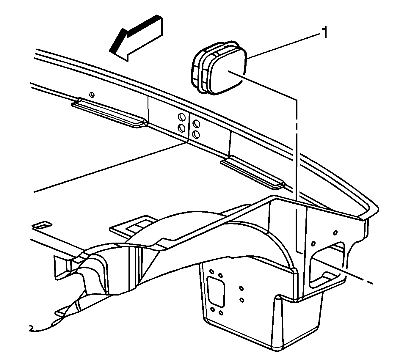
Release the tabs attaching the valve (1) to the rear compartment panel.
Installation Procedure
Position the valve (1) to the rear compartment panel with the flaps hanging down.
Press the valve into place.
Re-Position the rear compartment passenger trim panel. Refer to
Rear Compartment Side Trim Replacement - Right Side
.
Close the rear compartment.