GM Service Manual Online
For 1990-2009 cars only

Removal Procedure


    Object Number: 1111822  Size: SH
  1. The distance (A) from the windshield header to the leading edge of the folding top panel is 400 mm (15.75 in).
  2. Place a protective covering over the interior of the vehicle and the adjacent body panels.

  3. Object Number: 1229875  Size: SH
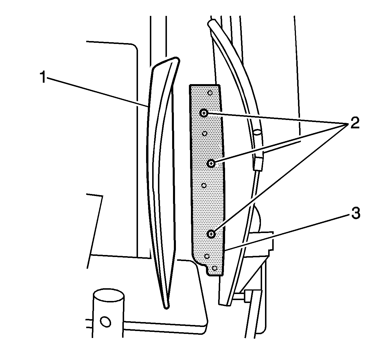
  4. Partially remove the quarter window trim (1) to gain access to the quarter window screws (2).
  5. Using a grease pencil, mark the location of the screws (2) on the quarter window bracket (3).
  6. Remove the quarter window screws (2).

  7. Object Number: 1229882  Size: SH
  8. Remove the quarter window (1) from the vehicle.

Installation Procedure


    Object Number: 1229875  Size: SH
  1. Position the quarter window to the vehicle.
  2. Apply LOCTITE™ Blue, GM P/N 12345382 (Canadian P/N 10953489) or equivalent to the bolts.
  3. Install the quarter window screws (2). Do NOT tighten.
  4. Notice: Refer to Fastener Notice in the Preface section.

  5. Align the screws (2) to the marks on the bracket (3).
  6. Tighten
    Tighten the screws to 7 N·m (62 lb in).

  7. Install the quarter window trim (1).
  8. Manually close the folding top. Refer to Folding Top Manual Operation .
  9. Adjust the quarter window, if required. Refer to Folding Top Quarter Window Adjustment .
  10. Remove the protective covering.
  11. Cycle the folding top under power through one complete cycle in both directions.
  12. Inspect the folding top for proper operation. Refer to Power Folding Top Description and Operation .