GM Service Manual Online
For 1990-2009 cars only

Front Fog Lamp Replacement XLR

Removal Procedure

  1. Remove the wheelhouse panel. Refer to Front Wheelhouse Liner Replacement.

  2. Object Number: 915125  Size: SH
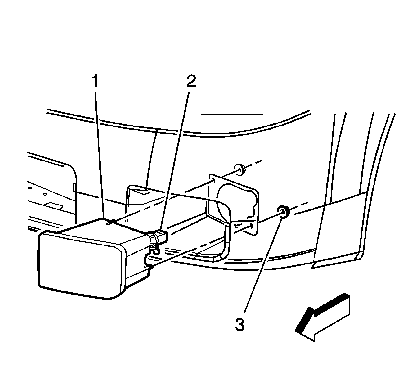
  3. Disconnect the electrical connector from the bulb/socket (2).
  4. Remove the nuts (3) attaching front fog lamp (1) to the front fascia.
  5. Remove the fog lamp (1) from the fascia.
  6. Remove the bulb/socket from fog lamp. Refer to Front Fog Lamp Bulb Replacement.

Installation Procedure

  1. Install the bulb/socket to fog lamp. Refer to Front Fog Lamp Bulb Replacement.

  2. Object Number: 915125  Size: SH
  3. Install the fog lamp (1) to the fascia.
  4. Notice: Refer to Fastener Notice in the Preface section.

  5. Install fog lamp nuts (3).
  6. Tighten
    Tighten the nuts to 6 N·m (53 lb in).

  7. Connect the fog lamp electrical connector to the bulb/socket (2).
  8. Inspect the fog lamp for proper operation.
  9. Install the wheelhouse panel. Refer to Front Wheelhouse Liner Replacement.
  10. Aim the fog lamp. Refer to Fog Lamp Aiming.