GM Service Manual Online
For 1990-2009 cars only

Removal Procedure

  1. Raise the door window.
  2. Remove the door panel. Refer to Door Trim Panel Replacement .

  3. Object Number: 929155  Size: SH
  4. Remove the large water deflector (1) for inside access to the rear of the door.
  5. Mark the striker location on the outer door edge.
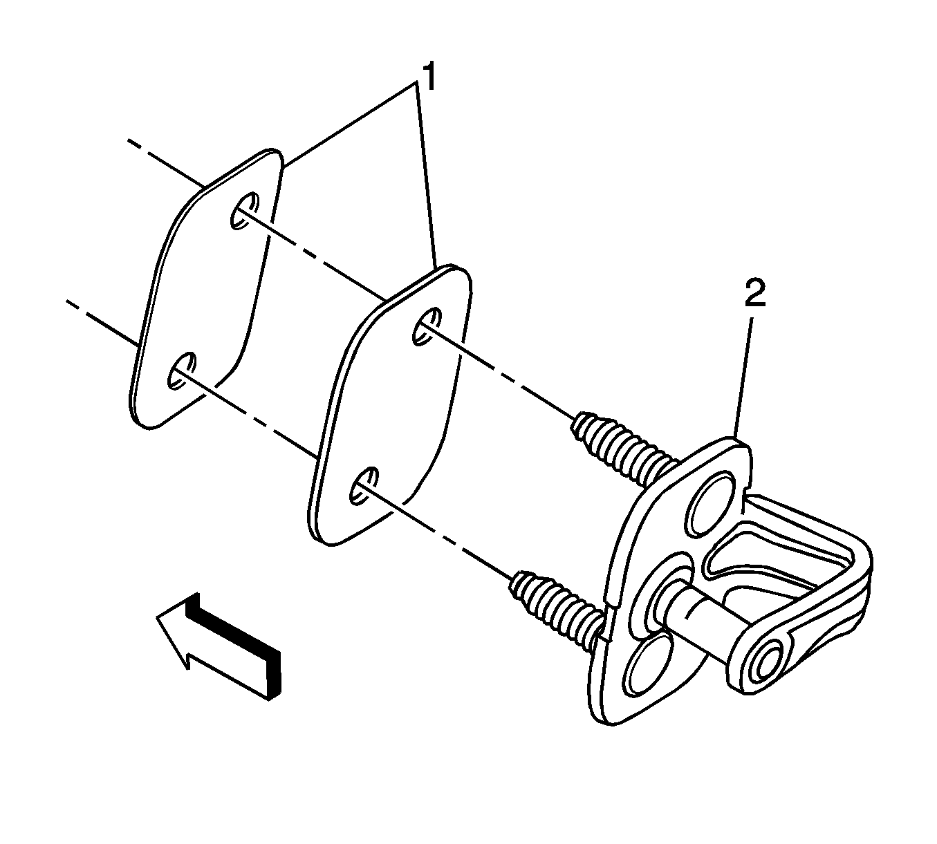
  6. Remove the striker fasteners (1) from the inside of the door.

  7. Object Number: 929175  Size: SH
  8. Remove the striker (2).

Installation Procedure


    Object Number: 929174  Size: SH
  1. Position the striker (2) onto the door, with the latching pin toward the door latch.

  2. Object Number: 929175  Size: SH
  3. Install the fasteners (1) snugly onto the striker.
  4. Notice: Refer to Fastener Notice in the Preface section.

  5. Align the striker (2) to the previous marks. Tighten the fasteners.
  6. Tighten
    Tighten the door lock striker screws to 25 N·m (18 lb ft).

  7. If you are unable to locate the previous striker marks, perform the following steps:
  8. 4.1. With the striker installed, and the fasteners snug but still adjustable, have an assistant hold the outer door panel flush with the quarter panel.
    4.2. Tighten the striker fasteners from the interior of the vehicle while the door is flush with the quarter panel.

    Tighten
    Tighten the door lock striker screws to 25 N·m (18 lb ft).


    Object Number: 929155  Size: SH
  9. Install the large water deflector (1) to the rear of the door.
  10. Install the door panel. Refer to Door Trim Panel Replacement .
  11. Verify the fit of the panels, and the operation of the door latch by using the manual and electric door release.