GM Service Manual Online
For 1990-2009 cars only

Removal Procedure


Object Number: 1508861  Size: SH

The front hinge pillar panel is bolted, welded and bonded with structural adhesive to the side structure and frame rail. The replacement front hinge pillar panel is serviced as an assembly. You must remove and replace the side door opening panel in order to replace the front hinge pillar.

    Caution: Refer to Approved Equipment for Collision Repair Caution in the Preface section.

  1. Disable the SIR system. Refer to SIR Disabling and Enabling .
  2. Disconnect the negative battery cable. Refer to Battery Negative Cable Disconnection and Connection .
  3. Remove all related panels and components.
  4. Repair as much of the damage as possible to factory specifications. Refer to Dimensions - Body .
  5. Note the location of the sealers and the anti-corrosion materials and remove these components from the repair area as necessary. Refer to Anti-Corrosion Treatment and Repair .

  6. Object Number: 986434  Size: SH
  7. Remove the bolts (1) attaching the front hinge pillar to the windshield frame.

  8. Object Number: 1508874  Size: SH

    Important: Do NOT damage the inner panels or the reinforcements.

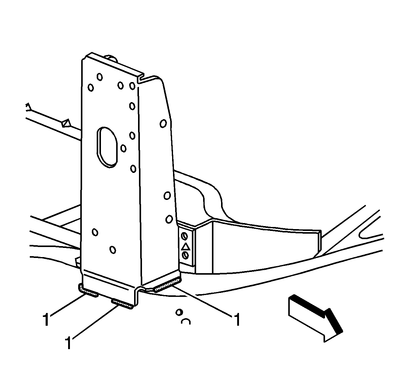
  9. Locate and remove all factory welds (1) from the outer hinge pillar. Note the number and location of the welds for installation of the new hinge pillar.

  10. Object Number: 1508869  Size: SH
  11. Locate and remove all factory welds (1) from the inner hinge pillar. Note the number and location of the welds for installation of the new hinge pillar.

  12. Object Number: 1508864  Size: SH
  13. Remove the damaged hinge pillar.
  14. Note the location of the adhesive and remove all remaining loose adhesive.

Installation Procedure

  1. Before applying the adhesive, dry fit the hinge pillar for proper fit and alignment.
  2. Prepare all welding attachment surfaces as necessary.
  3. Important: Use primer only on bonding surfaces. Do NOT top coat any bonding surfaces. Refer to the adhesive manufacture's recommendation.

  4. Clean and prepare all bonding mating surfaces according to the adhesive manufacturer's recommendations.
  5. Apply a consistent bead of structural adhesive 10 mm (3/8 in) in diameter to mate with the bonding surfaces. Refer to Sheet Molded Compound (SMC) Panel Bonding .

  6. Object Number: 1508868  Size: SH
  7. If the weld (1) is not accessible, replace the weld with structural adhesive.
  8. Apply 3M® Weld-Thru Coating P/N 05916 or equivalent to all mating surfaces.

  9. Object Number: 1508865  Size: SH
  10. Position the hinge pillar to the vehicle using 3-dimensional measuring equipment.
  11. Notice: Refer to Fastener Notice in the Preface section.

  12. Install the bolts (1) that attach the windshield frame to the front hinge pillar.
  13. Tighten
    Tighten the bolts to 25 N·m (18 lb ft).


    Object Number: 1508869  Size: SH
  14. Using a metal inert gas (MIG) welder, stitch weld the inner hinge pillar to the vehicle in the locations noted on the original panel.

  15. Object Number: 1508874  Size: SH
  16. Using a MIG welder, stitch weld the outer hinge pillar to the vehicle in the locations noted on the original panel.
  17. Apply the sealers and the anti-corrosion materials to the repair area, as necessary. Refer to Anti-Corrosion Treatment and Repair .
  18. Paint the repair area. Refer to Basecoat/Clearcoat Paint Systems .
  19. Install all related panels and components.
  20. Connect the negative battery cable. Refer to Battery Negative Cable Disconnection and Connection .
  21. Enable the SIR system. Refer to SIR Disabling and Enabling .