GM Service Manual Online
For 1990-2009 cars only

Object Number: 1357373  Size: SH

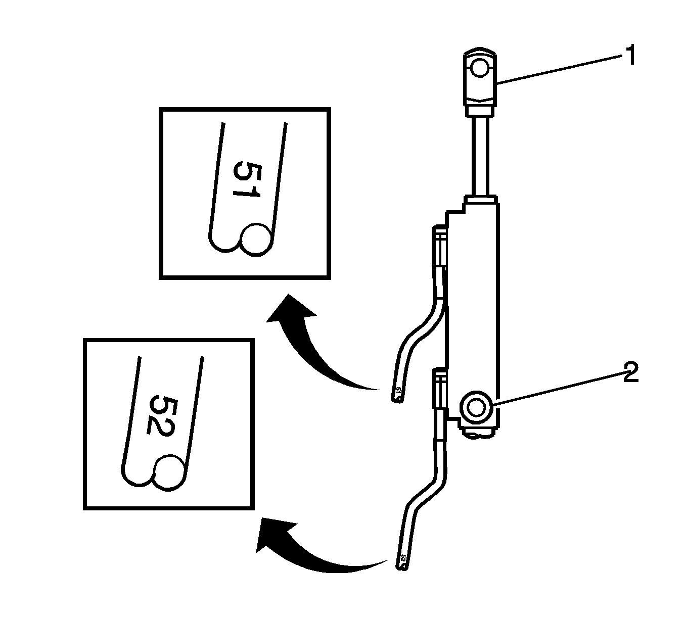
Each cylinder is serviced by 2 hoses:

    • The rod end (1)
    • The closed end (2)

Object Number: 1357374  Size: SH

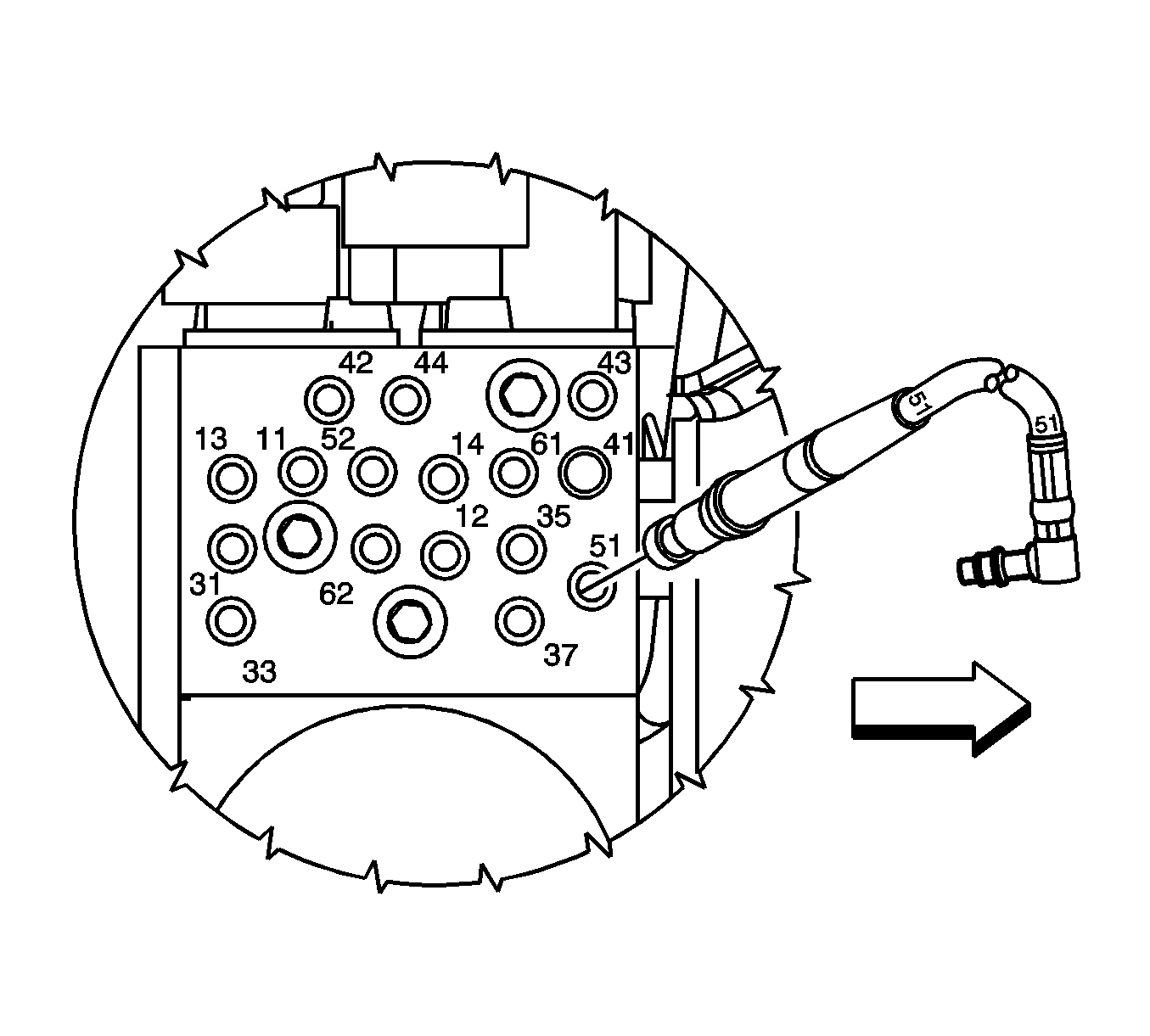
Each hose has an identification number stamped on the cylinder side and on the pump side near the connection point. Corresponding numbers are also stamped on the pump manifold plate to aid in identification.

The following chart identifies the hose that supplies fluid to each specific cylinder.

Folding Top Hydraulic Cylinder Hose Identification Chart

Hydraulic Cylinders

Hose Location and Number

Rod End

Closed End

Folding Top Compartment Lid Hydraulic Cylinder Hose - Rear

41 - Left

43 - Right

42 - Left

44 - Right

Folding Top Hydraulic Cylinder Hose

11 - Left

13 - Right

12 - Left

14 - Right

Folding Top Latch Hydraulic Cylinder Hose

51

52

Folding Top Storage Compartment Closeout Panel Hydraulic Cylinder Hose - Front

61

62

Folding Top Storage Compartment Panel Hydraulic Cylinder Hose - Rear

31 - Left

33 - Right

35 - Left

37 - Right