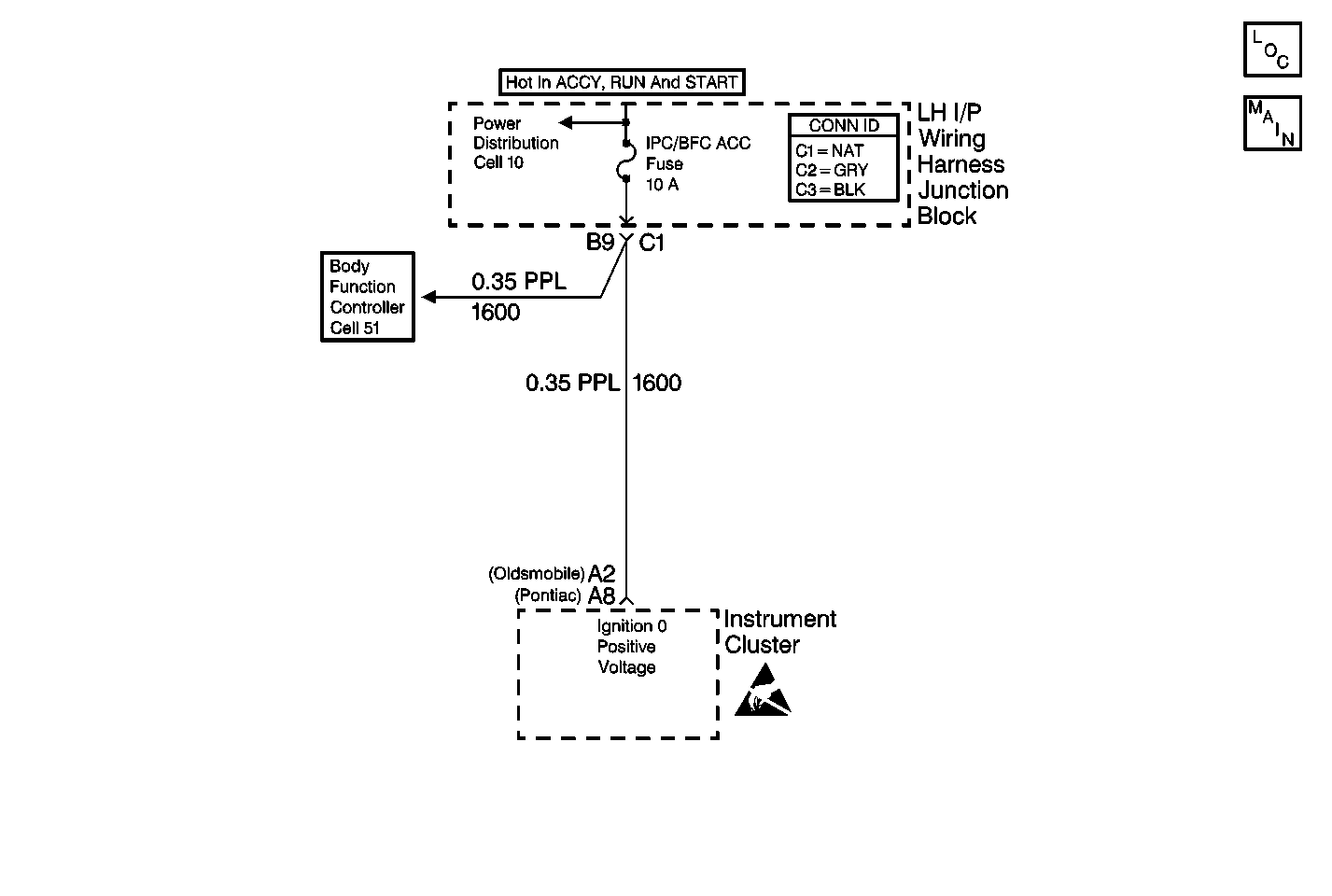
This is the ignition switch position Ignition 0, 1600 circuit, input to the body control module (BCM) and the instrument cluster.
All of the following conditions must be met:
| • | Ignition 0 is not active. |
| • | Ignition 1 is active for 20 seconds. |
DTC B1365 stores in the instrument cluster memory.
| • | All instrument cluster history codes will be cleared after 100 ignition cycles (from OFF to RUN) with no current codes active during the 100 ignition cycles. |
| • | The instrument cluster goes to sleep. The instrument cluster reinitializes with the fault cleared. |
| • | Use the scan tool. |
| • | When the diagnostics direct you to take electrical measurements at the terminal assignments of the Wiring Harness Junction Blocks, refer to Power Distribution. This measurement is for terminal assignments of the Wiring Harness Junction Blocks. |
| • | If the DTC is a history DTC, the problem may be intermittent. Perform the tests shown while wiggling the wiring and connectors. This may often cause the malfunction to appear. |
An intermittent may be caused by any of the following conditions:
| • | A poor connection |
| • | Wire insulation that has been rubbed through |
| • | A broken wire inside the insulation |
Inspect for a poor connection of a damaged harness. Inspect all of the harnesses and connectors for the following conditions:
| • | Improper mating |
| • | Broken locks |
| • | Improperly formed or damaged terminals |
| • | Poor terminal-to-wire connections |
| • | Damaged harnesses |
The numbers below refer to the step numbers on the diagnostic table.
This test determines whether voltage is being delivered to the instrument cluster
This determines whether an open exists in CKT 1600 between the instrument cluster and the LH IP wiring harness junction block.
Step | Action | Value(s) | Yes | No |
|---|---|---|---|---|
|
Important: A short to ground will cause an open fuse(s). Before performing this diagnostic procedure, inspect the fuse(s) for an open. | ||||
1 | Was the Instrument Cluster Diagnostic System Check performed? | -- | Go to Step 2 | |
Is the measured voltage equal to the specified value? | B+ | Go to Step 3 | Go to Step 6 | |
3 | Test for a poor connection at the instrument cluster connnector C1 terminal A8. Did you find a poor connection? | -- | Go to Step 4 | Go to Step 5 |
4 | Repair the poor connection. Refer to Wiring Repairs in Wiring Systems. Is the repair complete? | -- | Go to Step 11 | -- |
5 | Replace the instrument cluster. Refer to Instrument Cluster Replacement . Is the repair complete? | -- | Go to Step 11 | -- |
Is the measured resistance within the specified range? | 0-2 ohms | Go to Step 8 | Go to Step 7 | |
7 | Repair an open in circuit 1600 between the LH IP wiring harness junction block connector C1 terminal B9 and the instrument cluster connector terminal A8. Refer to Wiring Repairs in Wiring Systems. Is the circuit repair complete? | -- | Go to Step 11 | -- |
8 | Test for a poor connection at the LH IP wiring harness junction block connector C1 terminal B9, circuit 1600. Refer to Wiring Repairs in Wiring Systems. Did you find a poor connection? | -- | Go to Step 9 | Go to Step 10 |
9 | Repair the poor connection at the LH IP wiring harness junction block connector C1 terminal B9, circuit 1600. Refer to Wiring Repairs in Wiring Systems. Did you find a poor connection? | -- | Go to Step 11 | -- |
10 | Replace the LH IP wiring harness junction block. Is the repair complete? | -- | Go to Step 11 | -- |
11 | Clear the DTCs from memory. Are the DTCs cleared from memory? | -- | -- | |