GM Service Manual Online
For 1990-2009 cars only

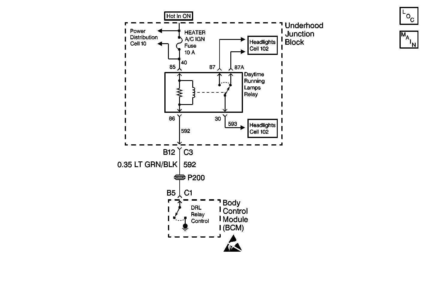
Object Number: 399502  Size: MF
Body Control Module Components
Body Control System Schematics

Circuit Description

This is a trouble code (both current and history) that indicates a system problem has occurred that is preventing the daytime running lamps (DRL) function from performing properly.

Conditions for Setting the DTC

All of the following conditions must be met:

    • The body control module (BCM) commands the DRL off.
    • The DRL Relay output is inactive.
    • The headlamp feedback is present for 5 seconds.

Action Taken When the DTC Sets

    • Stores DTC B2601 in the BCM memory.
    • The lowbeams are in DRL mode when the BCM commands the DRL to turn OFF.
    • The SERVICE VEHICLE SOON indicator illuminates.
    • The check gauges chime sounds

Conditions for Clearing the DTC

    • The BCM goes to sleep and reinitializes with the fault cleared.
    • All of the BCM history codes clear after 100 ignition cycles (from OFF to ON) with no current codes active during the 100 ignition cycles.
    • Use the Scan Tool scan tool.

Diagnostic Aids

    • All other DRL DTCs must be diagnosed before DTC B2601.
    • If the DTC is a history DTC, the problem may be intermittent. Perform the above tests while wiggling the wiring and connectors. This may often cause the malfunction to appear.

Test Description

The number below refers to the step number on the diagnostic table.

  1. Listen for an audible click when the DRL relay operates. Command both the ON and OFF states. Repeat the commands as necessary.

Step

Action

Yes

No

Schematic Reference: Headlights/Daytime Running Lights (DRL) Schematics

1

Did you perform the Body Control Module System Check?

Go to Step 2

Go to Body Control Module System Check

2

  1. Install a scan tool.
  2. Turn ON the ignition, with the engine OFF.
  3. With a scan tool, command the daytime running lights (DRL) relay ON and OFF.

Does the DRL relay turn ON and OFF with each command?

Go to Intermittents and Poor Connections Diagnosis in Wiring Systems

Go to Step 3

3

Test the control circuit of the DRL relay for a short to ground. Refer to Circuit Testing and Wiring Repairs in Wiring Systems.

Did you find and correct the condition?

Go to Step 6

Go to Step 4

4

Inspect for poor connections at the harness connector of the body control module (BCM). Refer to Intermittents and Poor Connections Diagnosis and Connector Repairs in Wiring Systems.

Did you find and correct the condition?

Go to Step 6

Go to Step 5

5

Important: Perform the set up procedure for the body control module.

Replace the body control module. Refer to Body Control Module (BCM) Programming/RPO Configuration in Body Control System.

Did you complete the replacement?

Go to Step 6

--

6

  1. Use the scan tool in order to clear the DTCs .
  2. Operate the vehicle within the Conditions for Running the DTC as specified in the supporting text.

Does the DTC reset?

Go to Step 2

System OK