GM Service Manual Online
For 1990-2009 cars only
Makes
🢒
Chevrolet
🢒
2000
🢒
Alero Export
🢒
Body and Accessories
🢒
Keyless Entry
🢒 Keyless Entry Schematics
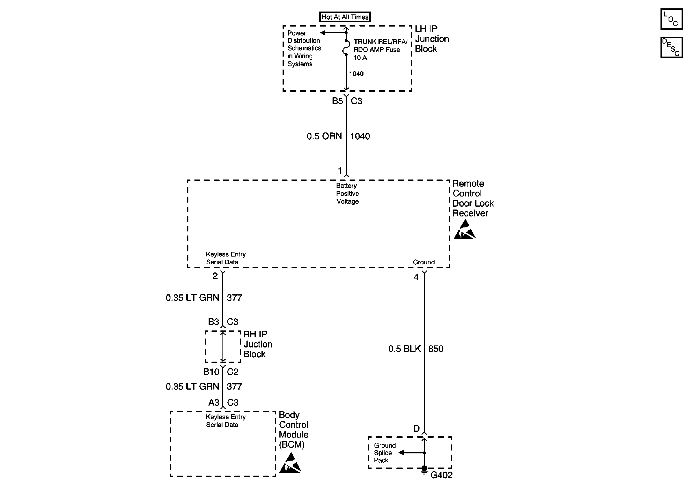
Remote Control Door Lock Receiver and BCM
Keyless Entry Components
Keyless Entry System Description
Handling ESD Sensitive Parts Notice
Handling ESD Sensitive Parts Notice
Power Distribution Schematics