GM Service Manual Online
For 1990-2009 cars only
Makes
🢒
Chevrolet
🢒
2000
🢒
Alero Export
🢒
Body and Accessories
🢒
Theft Deterrent
🢒 Theft Deterrent System Schematics
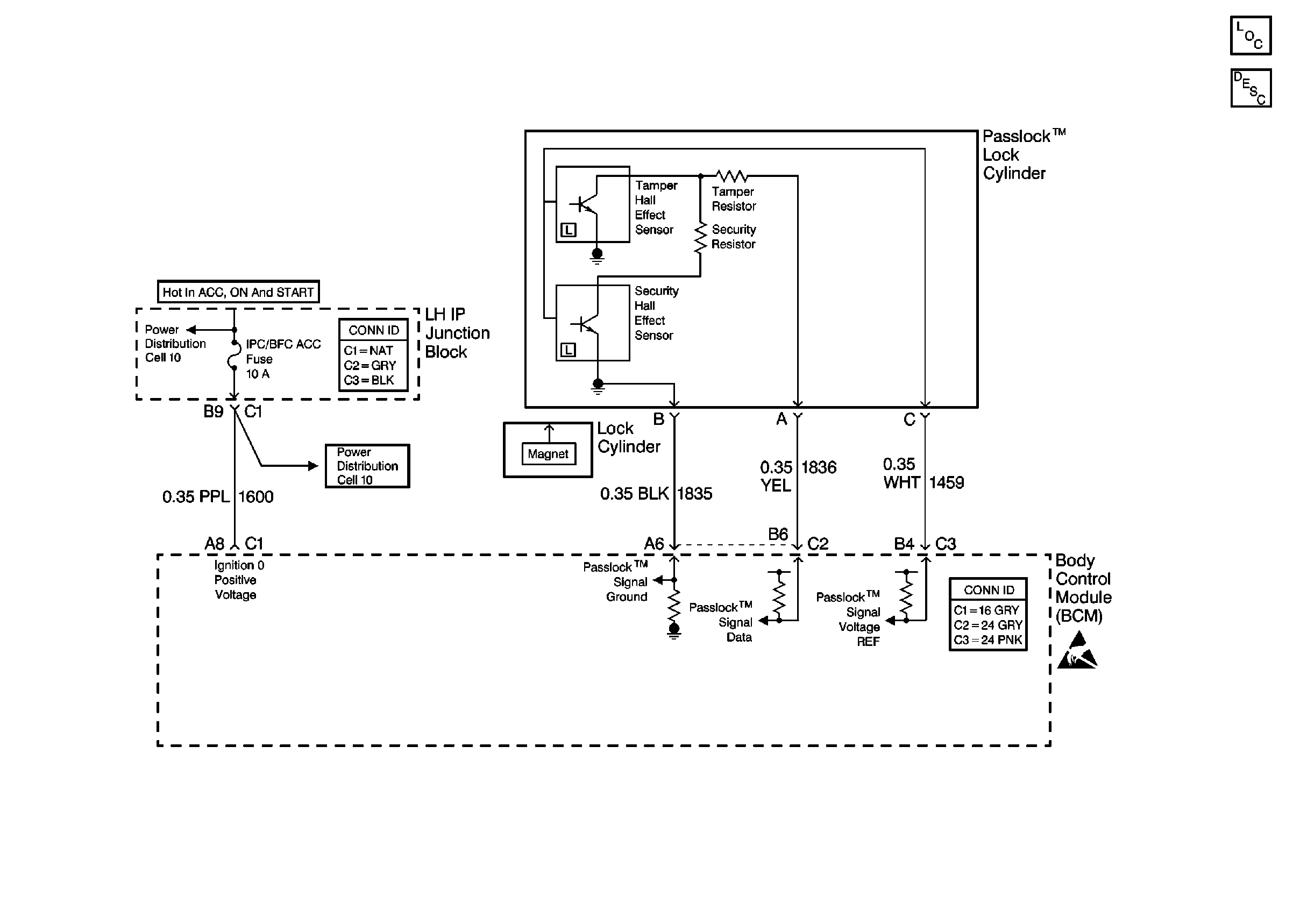
Theft Deterrent: Passlock⢠Lock Cylinder and BCM
Theft Deterrent System Components
Handling ESD Sensitive Parts Notice
Power Distribution Schematics
Power Distribution Schematics