GM Service Manual Online
For 1990-2009 cars only

WHISTLE TYPE NOISE AT PART THROTTLE DESCRIPTION

THROTTLE SENSITIVE INDUCTION WHISTLE

VEHICLES AFFECTED: 1987 A, N, P, CARS, S TRUCK AND M VAN WITH ------------------ 2.5L L4 ENGINE (VIN CODES R, U AND E)

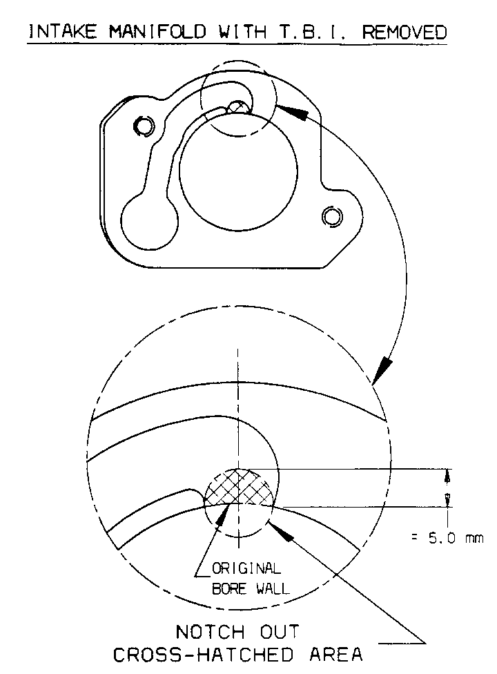
Some customer comments of a high pitched, throttle sensitive whistle may be received on early built 1987 2.5L engines. If this condition occurs, it should be most noticeable at part throttle cruise and is likely to be caused by the geometry of the throttle bore/idle air passage junction.

To address this condition, the geometry was changed in the intake manifold casting soon after 1987 start of production. The change to the casting was a relief, or notch, in the floor of the idle air passage at the junction to the throttle bore. (See Illustration)

The whistle-free geometry can be retrofitted into early manifolds on a vehicle, if needed, as follows:

1. Remove air cleaner and open throttle blade.

2. With a suitable light, inspect the throttle bore/idle air passage junction to see if it has the relief. If it does, then the whistle is due to loose hoses, air cleaner, or other cause.

3. Remove TBI (Throttle Body Injector).

4. Put a clean rag into the intake manifold throttle bore to prevent aluminum filings from falling into the manifold.

5a. Use a 1/4 inch die grinder tool or equivalent to grind a relief into the manifold.

b. File a notch into the idle air passage floor in the manifold per the Illustration.

c. Use a shop vacuum to draw aluminum filings away from manifold while grinding.

6. Vacuum the entire area of rework when grinding is completed, remove rag, and vacuum again. NOTE: IT IS VERY IMPORTANT THAT FILINGS DO NOT GET INTO THE MANIFOLD.

7. Reinstall TBI with a new gasket, P/N 10066605.

8. Install air cleaner.

9. Road test vehicle to verify work. (When properly executed, this procedure has been 100 % effective).


Object Number: 89900  Size: FS

General Motors bulletins are intended for use by professional technicians, not a "do-it-yourselfer". They are written to inform those technicians of conditions that may occur on some vehicles, or to provide information that could assist in the proper service of a vehicle. Properly trained technicians have the equipment, tools, safety instructions and know-how to do a job properly and safely. If a condition is described, do not assume that the bulletin applies to your vehicle, or that your vehicle will have that condition. See a General Motors dealer servicing your brand of General Motors vehicle for information on whether your vehicle may benefit from the information.