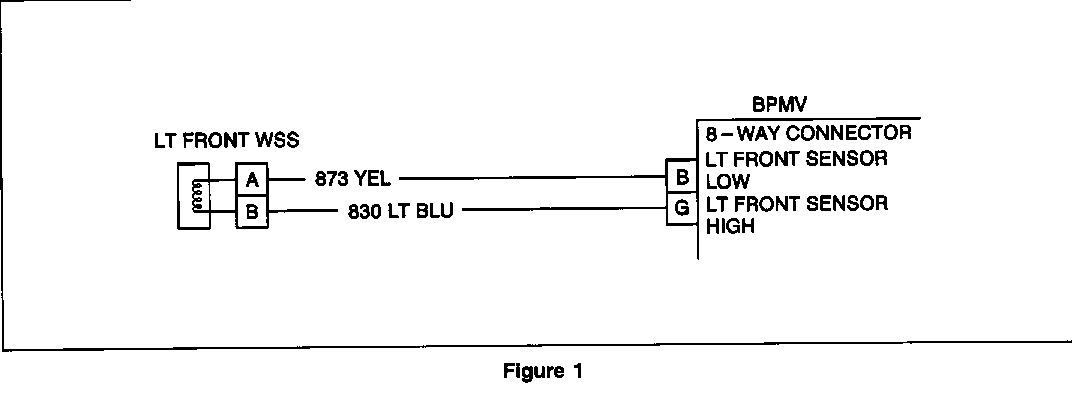
THIS BULLETIN CORRECTS AN ERROR FOUND IN SECTION 5E1 "ANTILOCK BRAKES" OF THE 1994 C/K AND OLDSMOBILE BRAVADA SERVICE MANUALS AND THE 1994 AND 1995 G, M/L, AND S/T SERVICE MANUALS. THE INCORRECT THUMBNAIL SKETCH FOR THE LEFT FRONT WHEEL SPEED SENSOR SHOWS A LIGHT BLUE WIRE AND A DARK GREEN WIRE. THE CORRECT WIRE COLORS ARE LIGHT BLUE AND YELLOW.
FIGURE 1 SHOWS THE CORRECTED SCHEMATIC THUMBNAIL SKETCH. THE FOLLOWING TABLE LISTS ALL BOOKS AFFECTED BY THIS CHANGE AND THE RELATED PAGE NUMBERS:
PLATFORM SECTION YEAR AFFECTED PAGES
M/L 5E1 1994 22, 24, 26 M/L 5E1 1995 24, 26, 28 C/K 5E1 1994 24, 26, 28 G 5E1 1994 + 1995 24, 26, 28 S/T 5E1 1994 26, 28, 30 S/T 5E1 1995 24, 26, 28 BRAVADA 5E1 1994 26, 28, 30
FIGURES: 01 ATTACHMENTS: 00
GENERAL MOTORS BULLETINS ARE INTENDED FOR USE BY PROFESSIONAL TECHNICIANS, NOT A "DO-IT-YOURSELFER". THEY ARE WRITTEN TO INFORM THOSE TECHNICIANS OF CONDITIONS THAT MAY OCCUR ON SOME VEHICLES, OR TO PROVIDE INFORMATION THAT COULD ASSIST IN THE PROPER SERVICE OF A VEHICLE. PROPERLY TRAINED TECHNICIANS HAVE THE EQUIPMENT, TOOLS, SAFETY INSTRUCTIONS AND KNOW-HOW TO DO A JOB PROPERLY AND SAFELY. IF A CONDITION IS DESCRIBED, DO NOT ASSUME THAT THE BULLETIN APPLIES TO YOUR VEHICLE, OR THAT YOUR VEHICLE WILL HAVE THAT CONDITION. SEE A GENERAL MOTORS DEALER SERVICING YOUR BRAND OF GENERAL MOTORS VEHICLE FOR INFORMATION ON WHETHER YOUR VEHICLE MAY BENEFIT FROM THE INFORMATION.
COPYRIGHT 1995 GENERAL MOTORS CORPORATION. ALL RIGHTS RESERVED.