GM Service Manual Online
For 1990-2009 cars only

Installation Procedure

Tools Required

J 25016 Pump Oil Seal Installer


    Object Number: 7817  Size: SH
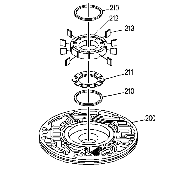
  1. Install the oil seal assembly.

  2. Object Number: 7818  Size: SH
  3. Install the front helix retainer.

  4. Object Number: 7819  Size: SH
  5. Install an o-ring seal and oil seal ring into the groove on the back side of the slide.
  6. Use Transjel J-36850 or an equivalent to retain the seal and the ring on the slide.
  7. Install the pivot pin spring and the pivot pin.
  8. Install the pump slide.
  9. Index the slide notch with the pivot pin.
  10. The oil seal ring must face downward into the pump pocket.

  11. Install the pump slide seal support and the pump slide seal.

  12. Object Number: 7815  Size: SH
  13. Install the pump slide inner and outer springs.

  14. Object Number: 7816  Size: SH
  15. Install the bottom pump vane ring and the rotor guide into the rotor and retain with Transjel or an equivalent.
  16. Install the rotor with the rotor guide toward the pump pocket.
  17. Install the pump vanes.
  18. Install the top pump vane ring.