GM Service Manual Online
For 1990-2009 cars only
Makes
🢒
Chevrolet
🢒
1996
🢒
Astro - 2WD
🢒
Transmission/Transaxle
🢒
Automatic Transmission - 4L60-E
🢒 Case Bushing
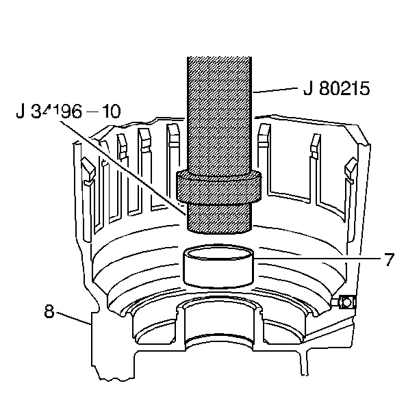
Removal Procedure
Remove the case bushing.
Installation Procedure
Tools Required
•
J 8092
Driver Handle
•
J 34196-B
Bushing Set
Install a case bushing.