GM Service Manual Online
For 1990-2009 cars only

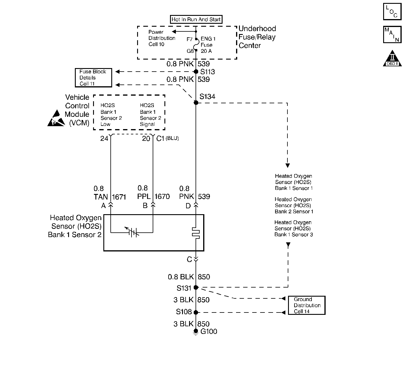
Object Number: 34419  Size: LF
Handling ESD Sensitive Parts Notice
Engine Controls Components
H02S Mechanization
OBD II Symbol Description Notice

Circuit Description

Important: If the voltage is measured with a 10 megohm digital voltmeter, the voltage may read as low as 0.32 volt.

The VCM supplies a voltage of about 0.45 volt (450 mV) between the HO2S High and the HO2S Low circuits.

The Heated Oxygen Sensor (HO2S) varies the voltage from approximately 1.0 volt (1000 mV) during rich conditions to 0.10 volt (100 mV) during lean conditions. The sensor is like an open circuit and produces no voltage when it is below 360°C (600°F).

The HO2S heater provides for a faster sensor warm-up which allows the sensor to become active in a shorter period of time and remain active during a long extended idle. The DTC P0140 determines if the HO2S or the HO2S circuit has developed an open. This is a type B DTC.

Conditions for Setting the DTC

The following conditions will set the DTC:

    • No TP sensor DTCs
    • No EVAP DTCs
    • No IAT sensor DTCs
    • No MAP sensor DTCs
    • No ECT sensor DTCs
    • No MAF sensor DTCs
    • No intrusive test in progress
    • The system voltage measures at least 9.0 volts,
    • The engine run time is greater than 2 minutes.

HO2S Sensor Open Test Enable

    • A Closed Loop
    • The DTC P0141 (HO2S heater) not set
    • HO2S voltage greater than 0.299 volts but less than 0.598 volts.
    • Engine run time is greater than 2 minutes
    • HO2S (Bank1, Sensor 2) voltage is greater than 299 mV but less than 598 mV

Action Taken When The DTC Sets

The MIL (Malfunction Indicator Lamp) turns ON after 2 test failures.

Conditions for Clearing the MIL/DTC

The VCM turns OFF the MIL after 3 consecutive driving trips without a fault condition present. A history DTC will clear if no fault conditions have been detected for 40 warm-up cycles (the coolant temperature has risen 22°C (40°F) from the start-up coolant temperature and the engine coolant temperature exceeds 71°C (160°F) during that same ignition cycle) or the scan tool clearing feature has been used.

Diagnostic Aids

Important: Never solder the HO2S wires. For proper wire and connection repairs, refer to Wiring Repairs in Engine Electrical.

A intermittent may be caused by a poor connection, a rubbed through wire insulation, or a wire broken inside of the insulation.

Check for the following conditions:

    • A poor connection or a damaged harness: Inspect the harness connectors for the following conditions:
       - Backed out terminals
       - Improperly formed or damaged terminals
       - A poor terminal to wire connection
       - A damaged harness
    • A malfunctioning HO2S heater or heater circuit: With the ignition switch turned ON and the engine OFF, the HO2S voltage displayed on a scan tool should gradually drop to below 0.150 volt (150 mV), indicating that the heater works properly. If not, disconnect the HO2S and connect a test light between the terminals C and D. If the test light does not light, repair the open in the HO2S ground circuit or the HO2S ignition feed circuit. If the test light lights, replace the HO2S.
    • The Intermittent test: Use a scan tool in order to monitor the HO2S signal voltage while moving the related connectors and the wiring harness with a warm engine running at part throttle in a Closed Loop. If the failure is induced, the HO2S signal voltage reading changes from its normal fluctuating voltage (above 600 mV and below 300 mV) to a fixed value around 450 mV. This may help to isolate the location of the malfunction.

Test Description

The numbers listed below refer to the step numbers on the diagnostic table.

  1. If the conditions for the setting DTC P0140 exist, the system will not go into a Closed Loop.

  2. This step determines if the sensor or the wiring is the cause of the DTC P0140.

  3. This test checks the continuity of the HO2S 2 High signal circuit.

Step

Action

Value(s)

Yes

No

1

Important: Before clearing the DTCs, use the scan tool in order to record the Freeze Frame and the Failure Records data. Using the Clear Info function will lose this data.

Was the Powertrain On-Board Diagnostic (OBD) System Check performed?

--

Go to Step 2

Go to Powertrain On Board Diagnostic (OBD) System Check

2

  1. Connect the scan tool.
  2. Run the engine at the normal operating temperature.
  3. Run the engine above the specified value for 2 minutes.

Does the scan tool indicate a Closed Loop?

1200 RPM

Go to Step 5

Go to Step 3

3

  1. Disconnect the Heated Oxygen Sensor (HO2S (Bank 1, Sensor 2) electrical connector.
  2. Jumper the HO2S (Bank 1, Sensor 2) harness the Hi and the Low circuits (VCM side) to ground.
  3. Turn ON the ignition leaving the engine off.

Does the scan tool data display indicate the HO2S (Bank 1, Sensor 2) voltage less than the specified value?

0.2 V (200 mV)

Go to Step 7

Go to Step 4

4

  1. Remove the jumpers.
  2. Reconnect the HO2S (Bank 1, Sensor 2).
  3. Turn off the ignition.
  4. Disconnect the blue VCM connector.
  5. Probe the VCM harness HO2S High (Bank 1, Sensor 2) circuit with a test lamp to the B+.

Is the test lamp ON?

--

Go to Step 6

Go to Step 9

5

The DTC is intermittent. If no additional DTCs are stored, refer to the Diagnostic Aids. If additional DTCs are stored, refer to those tables.

Were any additional DTCs stored?

--

Go to The Applicable DTC Table

Go to Step 6

6

Check for an open in the HO2S (Bank 1, Sensor 2) signal circuit.

Was a problem found?

--

Go to Step 11

Go to Step 8

7

Check for a faulty HO2S (Bank 1, Sensor 2) connection.

Was a problem found?

--

Go to Step 11

Go to Step 10

8

Check for a poor connection at the VCM.

Was a problem found?

--

Go to Step 11

Go to Step 12

9

Repair the open HO2S (Bank 1, Sensor 2) ground circuit. Refer to Wiring Repairs in Engine Electrical.

Is the repair complete?

--

Go to Step 13

--

10

Replace the HO2S (Bank 1, Sensor 2). Refer to Heated Oxygen Sensor (HO2S) Replacement .

Is the replacement complete?

--

Go to Step 13

--

11

Repair the circuit as necessary. Refer to Wiring Repairs in Engine Electrical.

Is the repair complete?

--

Go to Step 13

--

12

Replace the VCM.

Important: If the VCM is faulty, program the new VCM. Refer to VCM Replacement/Programming .

Is the replacement complete?

--

Go to Step 13

--

13

  1. Using the scan tool, select the DTC and the Clear Info.
  2. Start the Engine.
  3. Idle at the normal operating temperature.
  4. Select the DTC and the Specific.
  5. Enter the DTC number which was set.
  6. Operate the vehicle within the conditions for setting this DTC as specified in the supporting text.

Does the scan tool indicate that this diagnostic ran and passed?

--

Go to Step 14

Go to Step 2

14

Using the scan tool, select the Capture Info and the Review Info.

Are any DTCs displayed that have not been diagnosed?

Using the scan tool

--

Go to The Applicable DTC Table

System OK