GM Service Manual Online
For 1990-2009 cars only
Makes
🢒
Chevrolet
🢒
1997
🢒
Astro - 2WD
🢒
Transmission/Transaxle
🢒
Automatic Transmission - 4L60-E
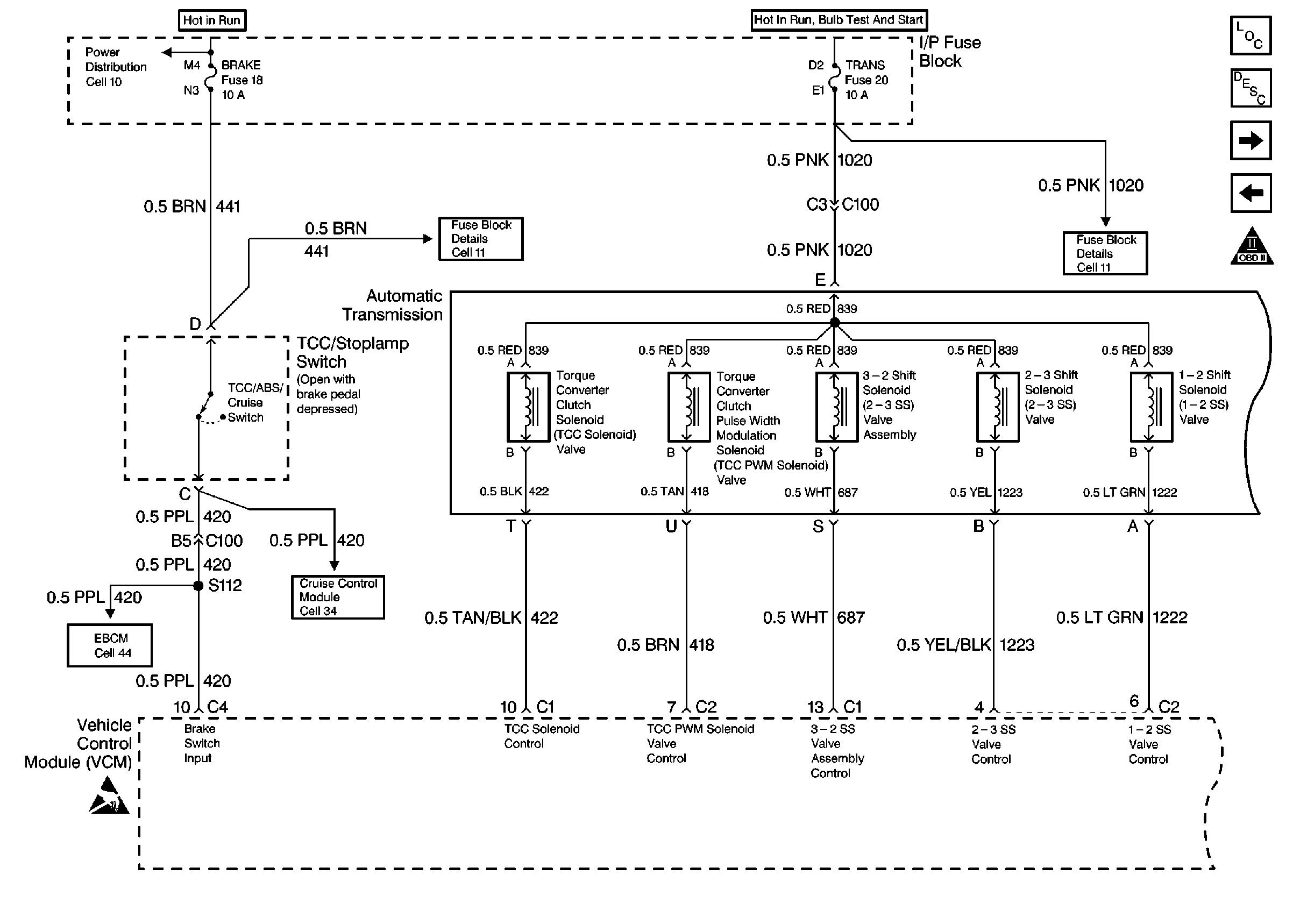
🢒 Automatic Transmission Controls Schematics
Figure
1:
Transmission Shift Controls
Automatic Transmission Components
Automatic Transmission Inline Harness Connector End View
Transmission Switch Input controls
OBD II ICON
Figure
2:
Transmission Switch Input controls
Automatic Transmission Components
Four Wheel Drive Inputs
OBD II ICON