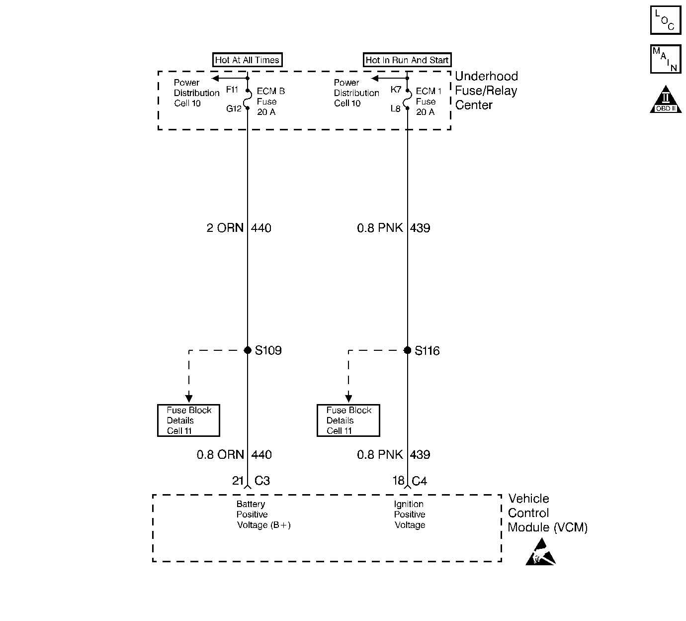
Circuit 439 is the ignition voltage feed for the VCM. Circuit 440 is the battery voltage feed for the VCM.
When the VCM detects a low voltage or a high voltage, then DTC P0560 sets. DTC P0560 is a type D DTC.
| • | The system voltage is low: |
| - | The engine speed is greater than 1250 RPM. |
| - | The system voltage is less than 10.5 volts at a maximum transmission temperature of 151°C (304°F). |
| - | The system voltage is less than 6.7 volts at a minimum transmission temperature of -40°C (-40°F). |
| - | All conditions met for 4 seconds |
| • | The system voltage is greater than 19 volts for 2 seconds. |
| • | All transmission output devices are OFF. |
| • | The VCM freezes shift adapts from being updated. |
| • | The VCM does not illuminate the Malfunction Indicator Lamp (MIL). |
| • | A scan tool can clear the DTC from the VCM history. The VCM clears the DTC from the VCM history if the vehicle completes 40 warm-up cycles without a failure reported. |
| • | The VCM cancels the DTC default actions when the fault no longer exists and the ignition is OFF long enough in order to power down the VCM. |
| • | Inspect the wiring for poor electrical connections at the VCM. Look for the following conditions: |
| - | A bent terminal |
| - | A backed out terminal |
| - | A damaged terminal |
| - | Poor terminal tension |
| - | A chafed wire |
| - | A broken wire inside the insulation |
| • | When diagnosing for an intermittent short or open condition, massage the wiring harness while watching the test equipment for a change. |
| • | Charging the battery with a battery charger may set DTCs. Jumpstarting an engine may set DTCs. |
| • | If DTCs set when you operate an accessory, inspect the applicable wiring for faulty connections. Inspect the wiring for excessive current draw. |
| • | Inspect the following items for faulty connections: |
| • | The starter solenoid |
| • | The fusible link |
| • | The generator terminals |
| • | Inspect the belts for excessive wear. Inspect the belts for proper tension. |
| • | Inspect the VCM ground circuits for ground integrity. |
The numbers below refer to the step numbers on the diagnostic table.
This step tests the charging system voltage.
This step tests battery voltage input at the VCM.
This step tests ignition voltage input at the VCM.
Step | Action | Value(s) | Yes | No | ||||
|---|---|---|---|---|---|---|---|---|
1 | Was the Powertrain On-Board Diagnostic (OBD) System Check performed? | -- | ||||||
2 |
Important: Before clearing the DTCs, use the scan tool in order to record the Failure Records for reference. The Clear Info function will erase the data. Important: If any other DTCs are present, refer to the applicable diagnostic charts before continuing. Is the voltage measured greater than the specified value? | 10.5 volts | Go to Battery Diagnosis, Section 6 | |||||
3 | Start the engine and warm to normal operating temperature. Is the generator/check engine lamp ON? | -- | Go to Charging System Diagnosis, Section 6 | |||||
Is the system voltage within the specified range? | 13-15 volts | Go to Charging System Diagnosis, Section 6 | ||||||
Is there a voltage variance between the voltage measured at the battery (taken in Step 2) and at terminal C3-21 that is greater than the specified value? | 0.5 volts | |||||||
6 | Repair the high resistance condition in circuit 440. Refer to Electrical Diagnosis, Section 8. Is the repair complete? | -- | -- | |||||
Is there a voltage variance between the voltage measured at the battery (taken in Step 2) and at terminal C4-18 that is greater than the specified value? | 0.5 volts | |||||||
8 | Repair the high resistance condition in circuit 439. Refer to Electrical Diagnosis, Section 8. Is the repair complete? | -- | -- | |||||
9 | Replace the VCM. Refer to VCM Replacement/Programming , Section 6. Is the replacement complete? | -- | -- | |||||
10 | In order to verify your repair, perform the following procedure:
Has the test run and passed? | -- | System OK |