GM Service Manual Online
For 1990-2009 cars only

Removal Procedure

  1. Raise the vehicle. Refer to Lifting and Jacking the Vehicle in General Information.

  2. Object Number: 178964  Size: SH
  3. Remove the top bolts from the stabilizer links.
  4. Remove the stabilizer links from the frame brackets.

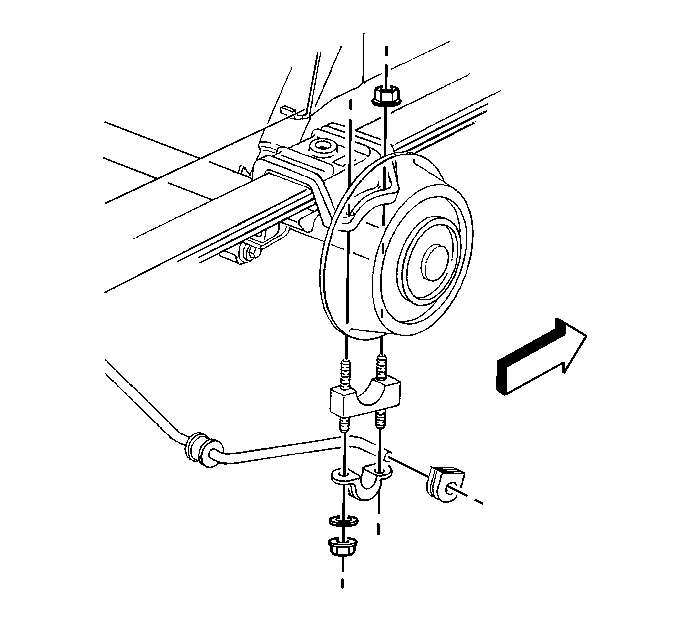
  5. Object Number: 178966  Size: SH
  6. Remove the nuts from the stabilizer clamps.
  7. Remove the stabilizer clamps.
  8. The stabilizer shaft assembly will be clear from the vehicle.

  9. Remove the insulator from the stabilizer shaft.

  10. Object Number: 178965  Size: SH
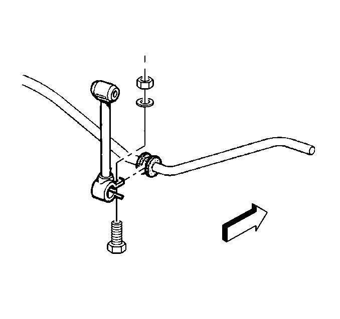
  11. Remove the following components from the link assembly:
  12. • The lower link nuts
    • The washers
    • The bolts
  13. Remove the link from the insulator and the stabilizer assembly.
  14. Pry open the lower link in order to obtain clearance from the link insulator.

  15. Remove the link insulator from the stabilizer shaft.

Installation Procedure


    Object Number: 178965  Size: SH
  1. Install the link insulators to the stabilizer shaft.
  2. Install the link assembly to the link insulator.
  3. Install the link bolts, the washers, and the nuts. Do not tighten the bolts.

  4. Object Number: 178966  Size: SH
  5. Install the clamp insulators.
  6. Install the stabilizer shaft to the anchor plate.
  7. Install the clamp over the insulator onto the anchor plate studs.
  8. Install the clamp washers and the nuts.

  9. Object Number: 178964  Size: SH
  10. Install the stabilizer links to the frame brackets.
  11. Notice: Use the correct fastener in the correct location. Replacement fasteners must be the correct part number for that application. Fasteners requiring replacement or fasteners requiring the use of thread locking compound or sealant are identified in the service procedure. Do not use paints, lubricants, or corrosion inhibitors on fasteners or fastener joint surfaces unless specified. These coatings affect fastener torque and joint clamping force and may damage the fastener. Use the correct tightening sequence and specifications when installing fasteners in order to avoid damage to parts and systems.

  12. Install the upper link bolts and the nuts.
  13. Tighten

        • Tighten the bolts to 45 N·m (33 lb ft).
        • Tighten the clamp nuts to 60 N·m (44 lb ft).
        • Tighten the lower link nuts to 18 N·m (14 lb ft).
  14. Lower the vehicle.