GM Service Manual Online
For 1990-2009 cars only

Removal Procedure

    Caution: This vehicle is equipped with a Supplemental Inflatable Restraint (SIR) System. Failure to follow the correct procedure could cause the following conditions:

       • Air bag deployment
       • Personal injury
       • Unnecessary SIR system repairs
    In order to avoid the above conditions, observe the following guidelines:
       • Refer to SIR Component Views in order to determine if you are performing service on or near the SIR components or the SIR wiring.
       • If you are performing service on or near the SIR components or the SIR wiring, disable the SIR system. Refer to Disabling the SIR System.

  1. Disable the supplemental inflatable restraint (SIR) system. Refer to Disabling the SIR System in SIR.
  2. Remove the steering column. Refer to Steering Column Replacement in Steering Wheel and Column - Standard or Steering Column Replacement in Steering Wheel and Column - Tilt.

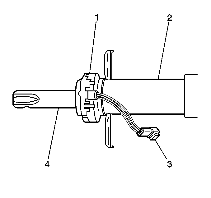
  3. Object Number: 284668  Size: SH
  4. Disconnect the steering handwheel speed sensor electrical connector (3).

  5. Object Number: 245335  Size: SH
  6. Remove the bearing and the adapter assembly from the steering column jacket.

  7. Object Number: 284677  Size: SH
  8. Remove the protective cover (3) from the bearing and the adapter assembly (2).
  9. Remove the steering handwheel speed sensor (1) from the bearing and the adapter assembly (2).

Installation Procedure


    Object Number: 284677  Size: SH
  1. Install the steering handwheel speed sensor (1) to the bearing and the adapter assembly (2).
  2. Install the protective cover (3) to the bearing and the adapter assembly (2).

  3. Object Number: 245335  Size: SH
  4. Install the bearing and the adapter assembly into the steering column jacket.

  5. Object Number: 284668  Size: SH
  6. Connect the steering handwheel speed sensor electrical connector (3).
  7. Install the steering column. Refer to Steering Column Replacement in Steering Wheel and Column - Standard or Steering Column Replacement in Steering Wheel and Column - Tilt.
  8. Caution: This vehicle is equipped with a Supplemental Inflatable Restraint (SIR) System. Failure to follow the correct procedure could cause the following conditions:

       • Air bag deployment
       • Personal injury
       • Unnecessary SIR system repairs
    In order to avoid the above conditions, observe the following guidelines:
       • Refer to SIR Component Views in order to determine if you are performing service on or near the SIR components or the SIR wiring.
       • If you are performing service on or near the SIR components or the SIR wiring, disable the SIR system. Refer to Disabling the SIR System.

  9. Enable the SIR system.
  10. Refer to Enabling the SIR System in SIR.