GM Service Manual Online
For 1990-2009 cars only

Cycling Clutch Orifice Tube (CCOT) Air Conditioning System

System Components


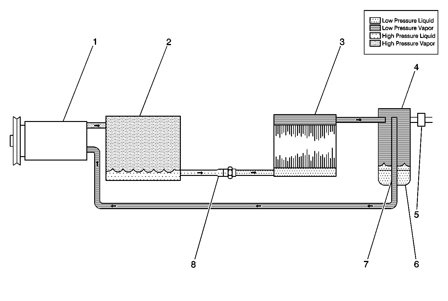
Object Number: 257927  Size: MF
(1)A/C Compressor
(2)A/C Condenser
(3)A/C Evaporator
(4)A/C Accumulator
(5)A/C Low Pressure Switch
(6)Dessicant Bag
(7)Oil Bleed Hole
(8)A/C Condenser Orifice

In the cycling clutch orifice tube (CCOT) refrigerant system, a compressor (1) cycles ON and OFF in order to maintain the desired cooling and to prevent evaporator freeze-up. The temperature selector on the control assembly maintains comfort in the passenger compartment.

A cycling pressure switch (5), located on the standard service low-side fitting, is the freeze protection device in the system. This switch controls the on/off operation of the compressor. The switch regulates the refrigeration cycle by sensing low--side pressure as an indicator of evaporator pressure. The cycling pressure switch also senses refrigerant pressure on the suction side of the system. When the air temperature reaches 10°C (50°F), the equalized pressures within the charged air conditioning system close the contacts of the pressure switch.

When the driver selects an air conditioning mode, the compressor clutch coil receives electrical energy. As the compressor reduces the evaporator pressure to approximately 175 kPa (25 psi), the pressure switch opens, de-energizing the compressor clutch. As the system equalizes and the pressure reaches approximately 315 kPa (46 psi), the pressure switch contacts close, re-energizing the clutch coil. This cycling continues maintaining the evaporator discharge air temperature at approximately 1°C (33°F).

Because of this cycling, some slight increases and decreases of engine speed/power may occur under certain conditions. This is normal. The system cycles in order to maintain the desired cooling and in order to prevent evaporator freeze-up.

The operating characteristics of the low-side cycling pressure system provide additional compressor protection. If a massive discharge occurs in the low side of the system, or if the orifice tube (8) becomes plugged, the contacts of the pressure switch may not close due to insufficient low-side pressures. If there is a low charge, insufficient cooling accompanied by rapid compressor clutch cycling will be noticed at high air temperatures.

When the air conditioning system stops operating, the refrigerant in the system flows from the high-pressure side of the expansion tube (orifice) to the low-pressure side. This flow may be detected as a hissing sound that continues for 30-60 seconds after the unit is turned OFF, until the pressure in the system equalizes. This is a normal condition. The hissing actually occurs during operation as well, but the hissing is not audible with the engine running.

The air conditioning systems available for this vehicle are as follows:

    • C60 Front Manual Controls, HVAC System
    • C69 Rear Floor Mounted, HVAC System

Unit Repair Information

For the bench repair procedures of the DELPHI Thermal HT-6 air conditioning compressor, refer to HD6/HT6 Air Conditioning Compressor Service or Unit Repair R-134a.