GM Service Manual Online
For 1990-2009 cars only
Figure 1:

Battery Wiring (RWD)


Object Number: 181452  Size: MF
(1)Underhood Fuse-Relay Center
(2)Battery
(3)G102
(4)Starter Motor
(5)Starter Solenoid
(6)G103
Figure 2:

Battery Wiring (A4WD)


Object Number: 181454  Size: MF
(1)Underhood Fuse-Relay Center
(2)Battery
(3)G102
(4)Starter Motor
(5)Starter Solenoid
(6)G103
Figure 3:

Crankshaft Position Sensor Wiring


Object Number: 211875  Size: LF
(1)Crankshaft Position Sensor
(2)Crankshaft Position Sensor Connector
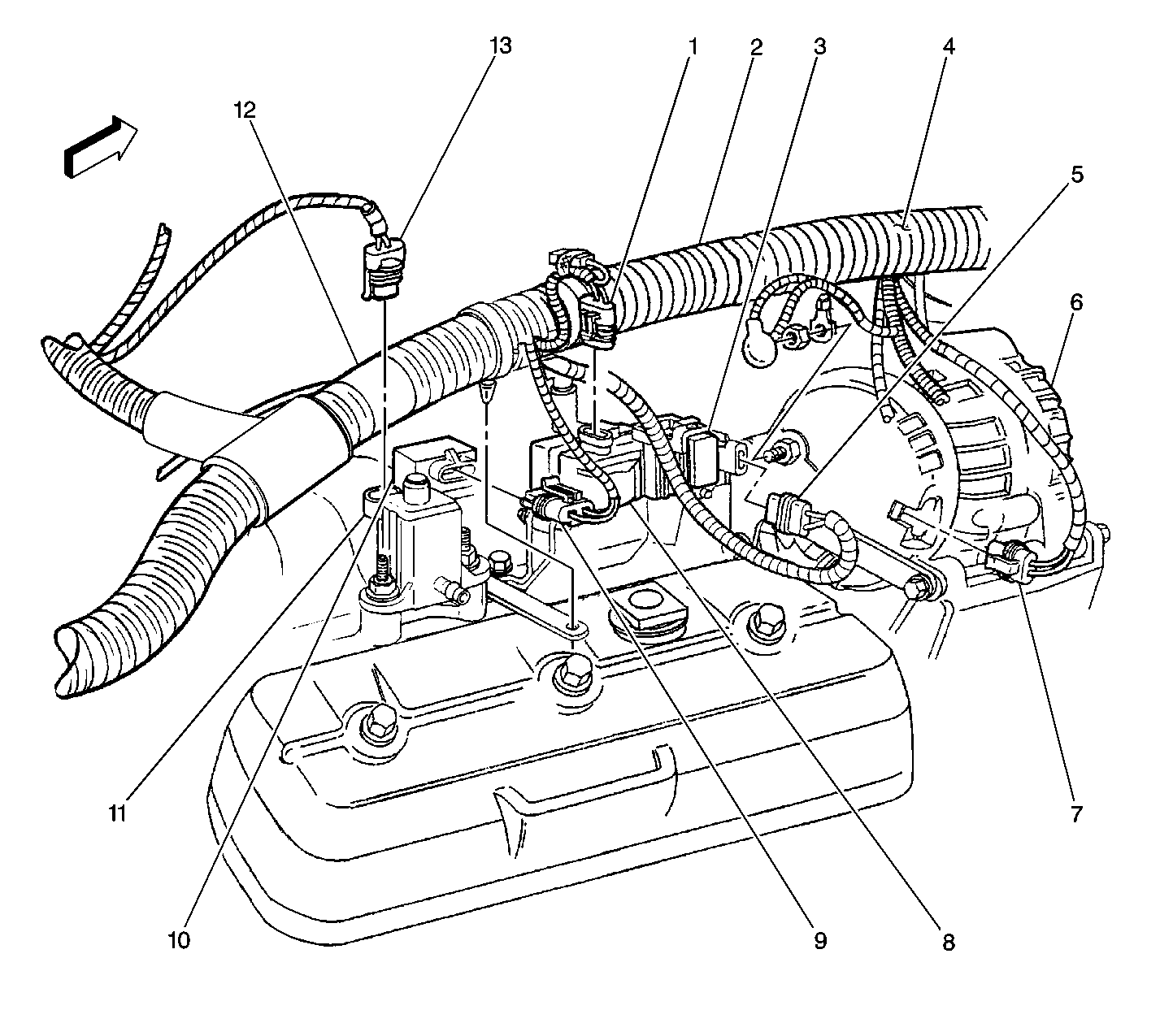
Figure 4:

Engine Wiring, RH Side


Object Number: 211877  Size: LF
(1)Ignition Coil Connector
(2)S122
(3)Ignition Control Module
(4)S120
(5)Ignition Control Module Connector
(6)Generator
(7)Generator Connector
(8)Ignition Coil
(9)Map Sensor Connector
(10)Map Sensor
(11)Evaporative Emission Canister Purge Solenoid Valve
(12)S123
(13)Evaporative Emission Canister Purge Solenoid Valve Connector
Figure 5:

Engine/Center of Front of Dash Wiring


Object Number: 211881  Size: LF
(1)S117
(2)Cruise Control Module
(3)S116
(4)Intake Manifold Air Temperature Sensor Connector
(5)Front Wiper Motor and Module
(6)Intake Manifold Air Temperature Sensor
(7)Mass Air Flow Sensor
(8)Mass Air Flow Sensor Connector
(9)Front Blower Motor
(10)G104
(11)S118
(12)S119
(13)A/C Low Pressure Cut-Off Switch
(14)A/C Low Pressure Cut-Off Switch Connector
(15)Heater and A/C Control Valve Solenoid
(16)Heater and A/C Control Valve Solenoid Connector
Figure 6:

Transmission Wiring (RWD)


Object Number: 211899  Size: LF
(1)S333
(2)Transmission Connector
(3)Vehicle Speed Sensor
(4)Vehicle Speed Sensor Connector
(5)Vehicle Speed Sensor Shield (taped)
(6)Adapter
(7)Park/Neutral Position and Backup Lamp Switch 4-way Connector
(8)Park/Neutral Position and Backup Lamp Switch 7-way Connector
(9)Park/Neutral Position and Backup Lamp Switch
(10)Auto Transmission
Figure 7:

Transmission Wiring (A4WD)


Object Number: 211900  Size: LF
(1)Auto Transmission
(2)Transmission Connector
(3)Transfer Case
(4)Vehicle Speed Sensor
(5)Vehicle Speed Sensor Connector
(6)Vehicle Speed Sensor Shield (taped)
(7)S333
(8)C304
(9)Park/Neutral Position and Backup Lamp Switch 4-way Connector
(10)Park/Neutral Position and Backup Lamp Switch 7-way Connector
(11)Park/Neutral Position and Backup Lamp Switch