GM Service Manual Online
For 1990-2009 cars only
Makes
🢒
Chevrolet
🢒
1998
🢒
Astro - 2WD
🢒
Body and Accessories
🢒
Garage Door Opener
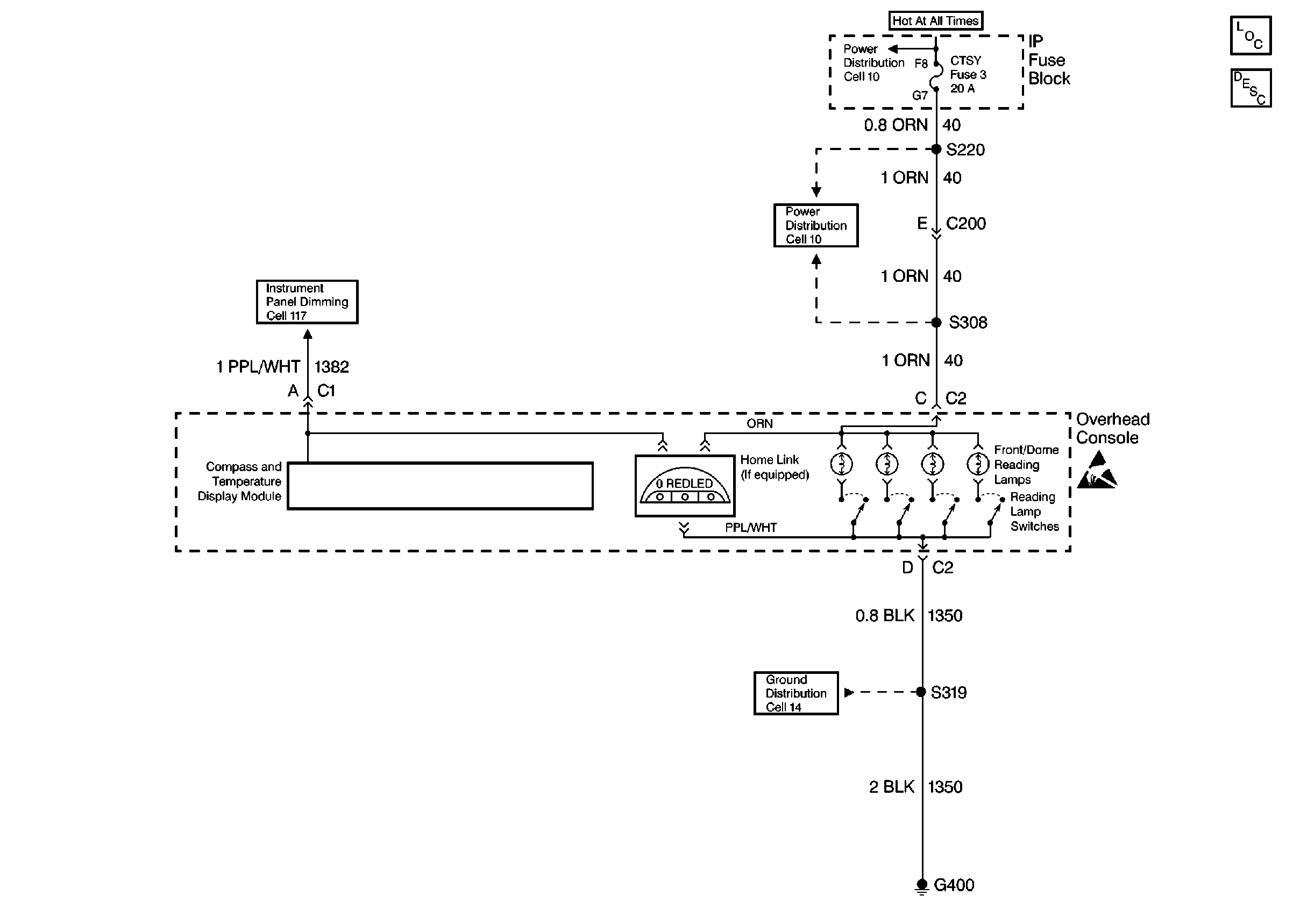
🢒 Garage Door Opener Schematics
Cell 136 Garage Door Opener
Garage Door Opener Components
Garage Door Opener Circuit Description
Power Distribution Schematics
Interior Lights Dimming Schematics
Handling ESD Sensitive Parts Notice
Ground Distribution Schematics