GM Service Manual Online
For 1990-2009 cars only

Removal Procedure


    Object Number: 327110  Size: SH
  1. Remove the door. Refer to Front Side Door Replacement .
  2. Remove the sealer from around the edge of the hinge (3).


    Object Number: 327108  Size: SH
  3. Scribe the location of the existing hinges on the door and the body pillar (1).
  4. Center punch each of the original welds on each hinge base (3).
  5. Drill a 3.0 mm (1/8 in) pilot hole completely through each weld at each punch mark.
  6. Drill through the hinge base only. Do not drill through the door or the body pillar.

  7. Drill a 13.0 mm (1/2 in) hole through the hinge base. Use the 3.0 mm (1/8 in) hole as a pilot.
  8. Do not drill through the door or the body pillar.


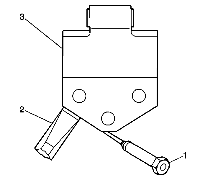
    Object Number: 327110  Size: SH
  9. Use a chisel (1) in order to separate any remaining weld attaching the hinge to the door or the body pillar.
  10. Remove the hinge from the door or the body pillar (3).

Installation Procedure


    Object Number: 327112  Size: SH
  1. Install the bolt on replacement hinge (4) to the door or the body pillar within the scribe marks (1) previously made:
  2. 1.1. Use the replacement hinge (4) as a template in order to center punch each bolt hole location.
    1.2. Drill a 13.0 mm (1/2 in) hole through the door or the body pillar at the center punch marks made previously.
    1.3. Dress and prepare the door or the hinge pillar for the replacement hinge. This includes grinding off any remaining welds.
  3. Apply a medium-bodied sealer to the hinge surface that mates with the door or the hinge pillar surface.
  4. Notice: Use the correct fastener in the correct location. Replacement fasteners must be the correct part number for that application. Fasteners requiring replacement or fasteners requiring the use of thread locking compound or sealant are identified in the service procedure. Do not use paints, lubricants, or corrosion inhibitors on fasteners or fastener joint surfaces unless specified. These coatings affect fastener torque and joint clamping force and may damage the fastener. Use the correct tightening sequence and specifications when installing fasteners in order to avoid damage to parts and systems.

  5. Use the bolts and the rapped anchor plate supplied with the replacement hinge in order to install the hinge to the door.
  6. Tighten
    Tighten the bolts to 27 N·m (20 lb ft).

  7. Apply paint to the hinge and the surrounding area.
  8. Install the door.
  9. Adjust the door to fit properly in the door frame. The 13.0 mm (1/2 in) holes drilled for the replacement will provide for some adjustment.
  10. Do not completely shut the door until a visual check of the lock fork bolt to striker alignment is made.