GM Service Manual Online
For 1990-2009 cars only
Makes
🢒
Chevrolet
🢒
1998
🢒
Astro - 2WD
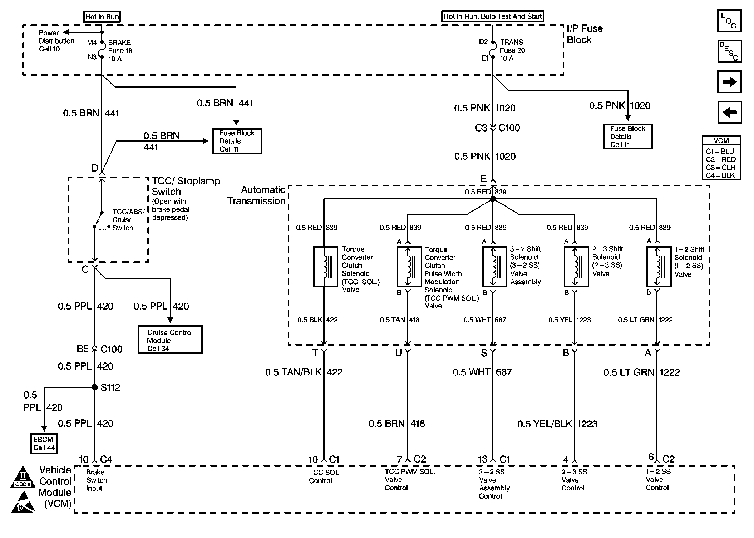
🢒 Transmission Shift Controls
Transmission Shift Controls
Transmission Shift Controls
Engine Controls Components
Electronic Component Description
Transmission Switch Input Controls
Speed and Cruise Controls
Antilock Brake System Schematics
Engine Controls Schematic Icons