GM Service Manual Online
For 1990-2009 cars only
Makes
🢒
Chevrolet
🢒
1998
🢒
Astro - 2WD
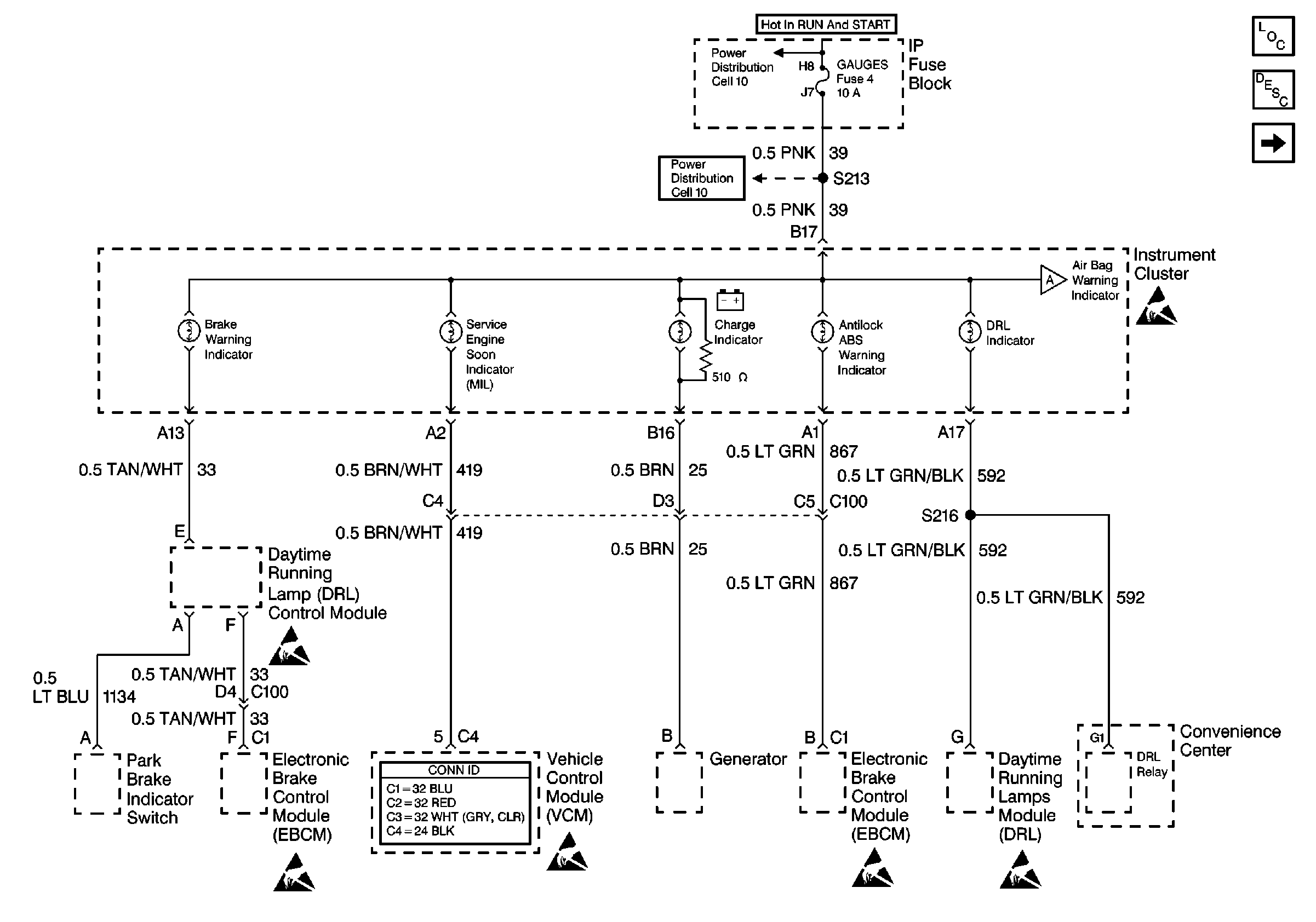
🢒 Cell 81 (IP Fuse Block, Daytime Running Lamp Module, Park Brake Warning Switch, Convenience Center)
Cell 81 (IP Fuse Block, Daytime Running Lamp Module, Park Brake Warning Switch, Convenience Center)
Cell 81 (IP Fuse Block, Daytime Running Lamp Module, Park Brake Warning Switch, Convenience Center)
Instrument Cluster Components
Instrument Cluster Circuit Description
Cell 81 (Instrument Cluster, Inflatable Restraint Sensing Diatnostic Module, Passlock Module)
GAUGES, AIR BAG Fuses
GAUGES, AIR BAG Fuses
Cell 81 (Instrument Cluster, Inflatable Restraint Sensing Diatnostic Module, Passlock Module)
Handling ESD Sensitive Parts Notice
Handling ESD Sensitive Parts Notice
Handling ESD Sensitive Parts Notice
Handling ESD Sensitive Parts Notice
Handling ESD Sensitive Parts Notice
Handling ESD Sensitive Parts Notice