GM Service Manual Online
For 1990-2009 cars only
Makes
🢒
Chevrolet
🢒
1998
🢒
Astro - 2WD
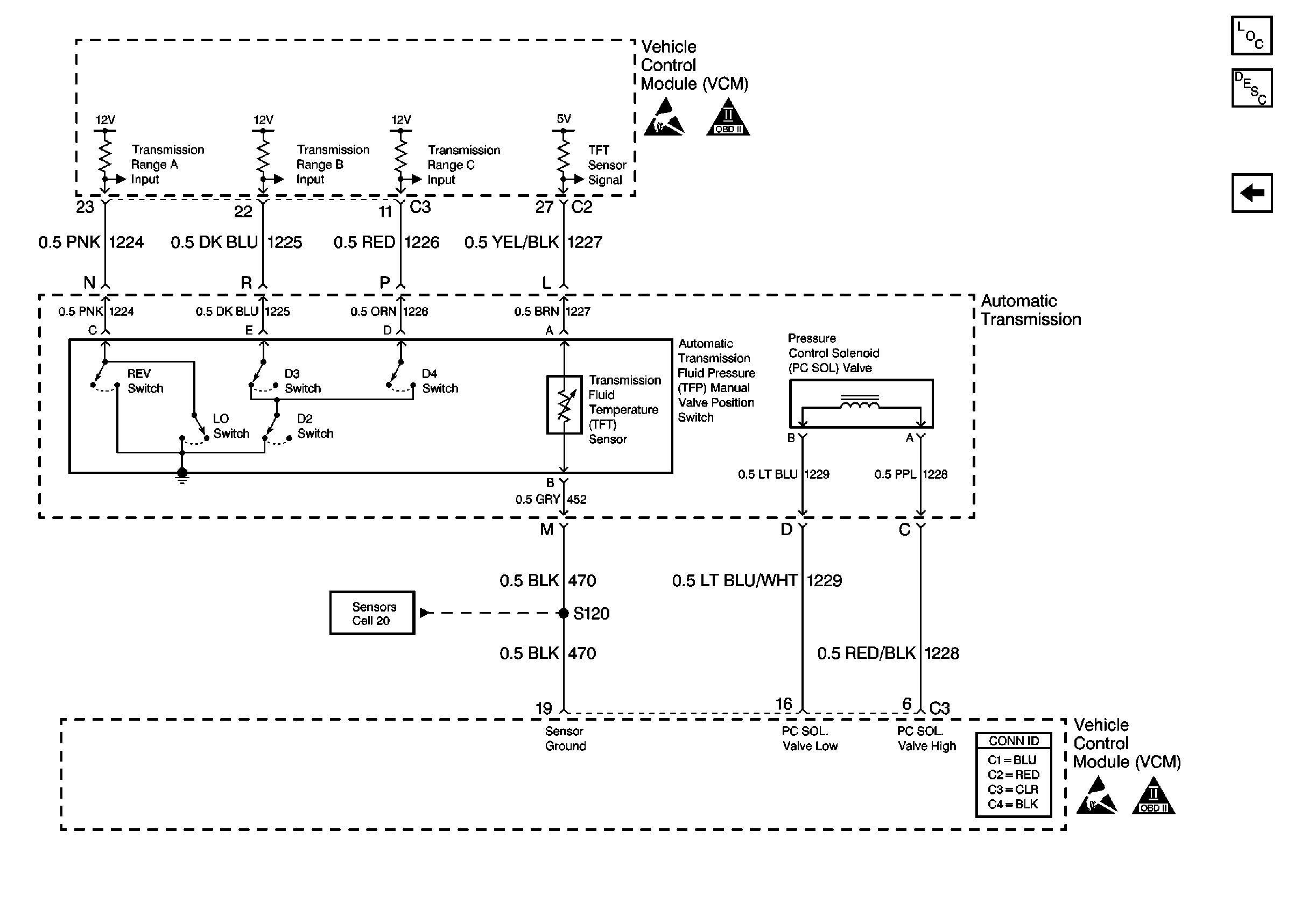
🢒 Transmission Switch Input Controls
Transmission Switch Input Controls
Transmission Switch Input Controls
Automatic Transmission Components
Electronic Component Description
Transmission Shift Controls
Automatic Transmission Schematic Icons
Automatic Transmission Schematic Icons
Fuel Mixture Input Controls