GM Service Manual Online
For 1990-2009 cars only
Makes
🢒
Chevrolet
🢒
1998
🢒
Astro - 2WD
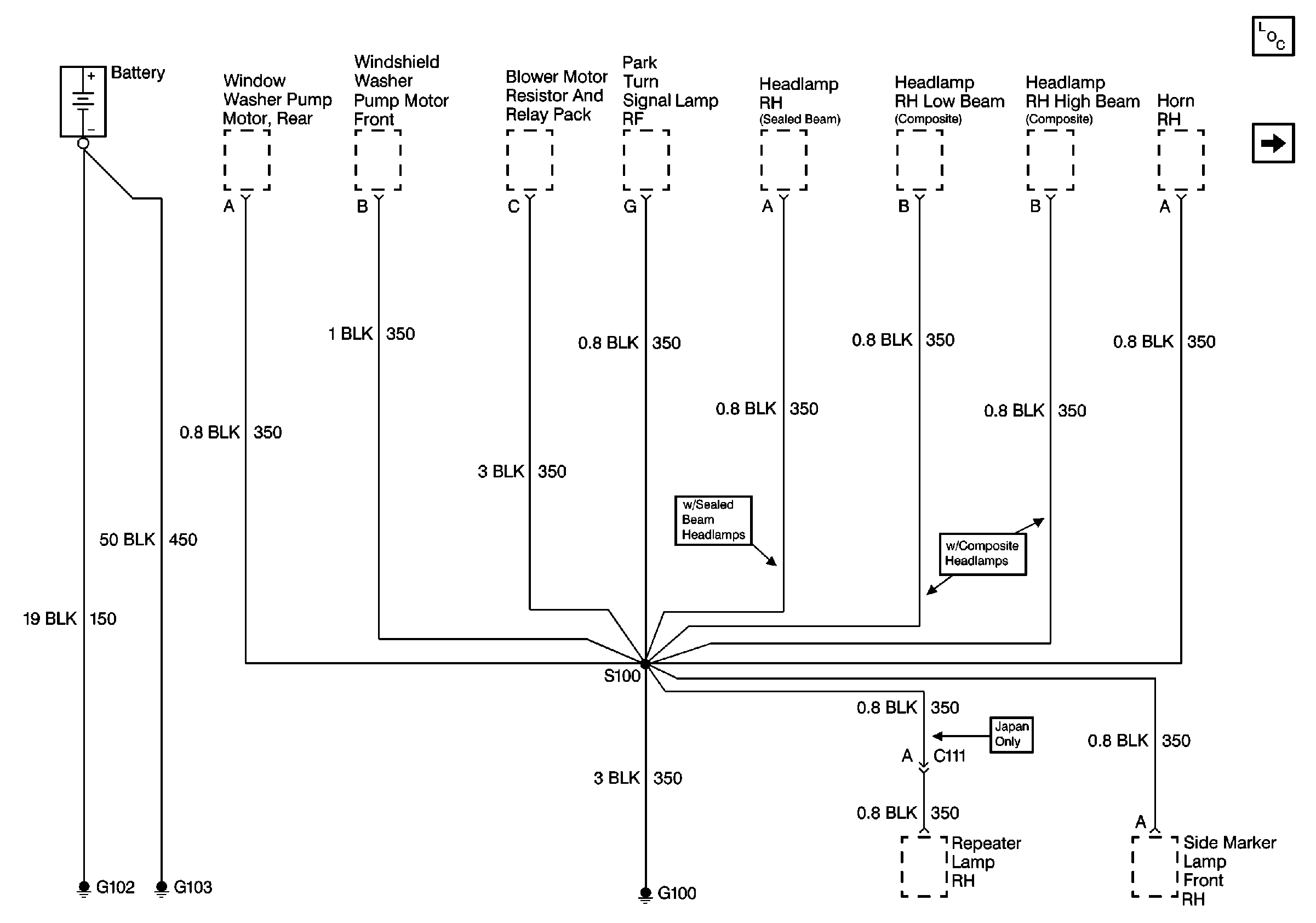
🢒 Cell 14 (G102, G103, G100)
Cell 14 (G102, G103, G100)
Cell 14 (G102, G103, G100)
Power and Grounding Component Views
Cell 14 (G108, G106, G101)