GM Service Manual Online
For 1990-2009 cars only
Makes
🢒
Chevrolet
🢒
1998
🢒
Astro - 2WD
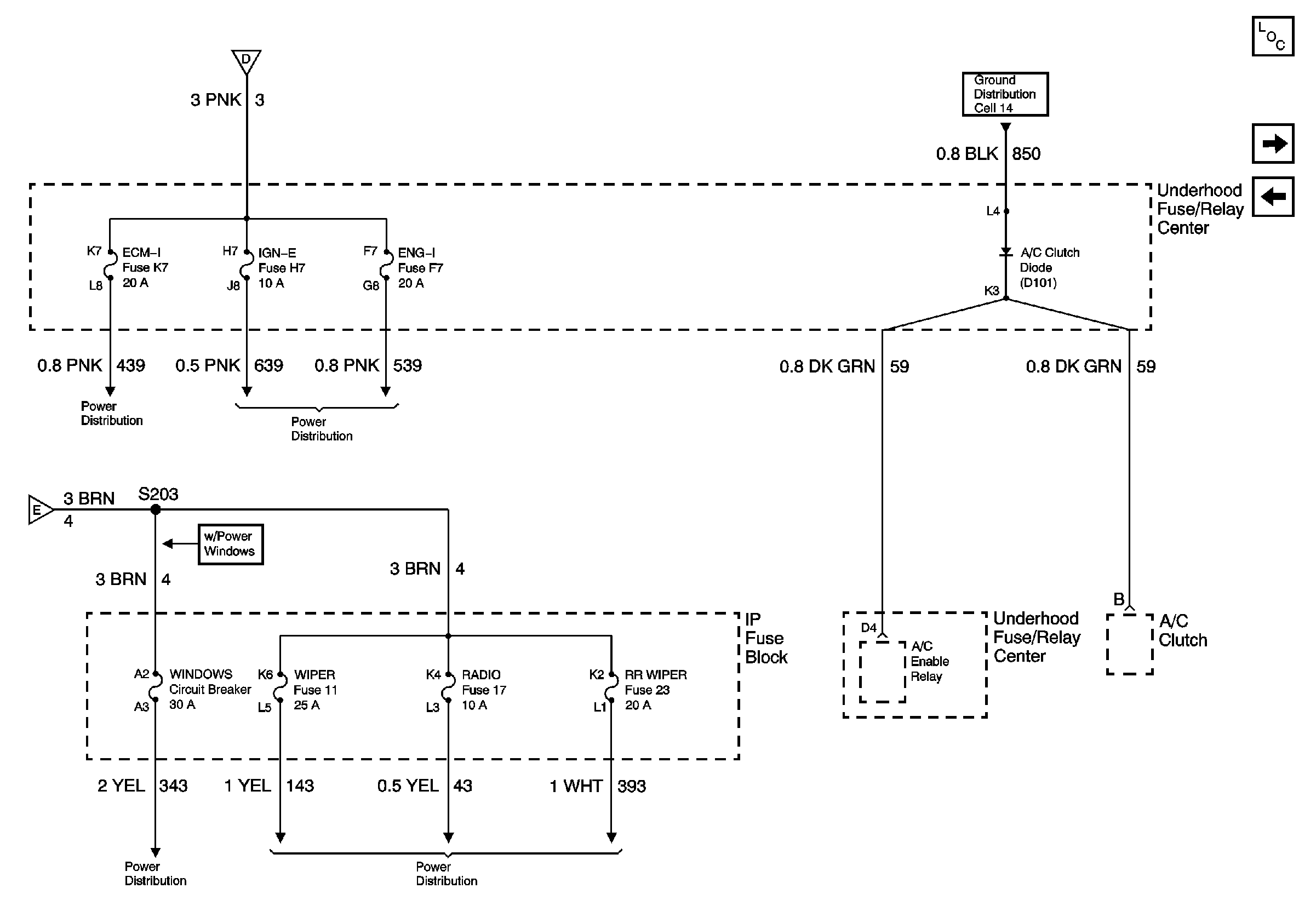
🢒 Cell 10 (Daytime Running Lamp Module, A/C Compressor Clutch)
Cell 10 (Daytime Running Lamp Module, A/C Compressor Clutch)
Cell 10 (Daytime Running Lamp Module, A/C Compressor Clutch)
Cell 10 (Ignition Switch, IP Fuse Block)
Cell 10 (Ignition Switch, IP Fuse Block)
Power Distribution Schematics
Power Distribution Schematics
Power Distribution Schematics
Power Distribution Schematics
Ground Distribution Schematics
Power and Grounding Components
Cell 10 (Ignition Switch, IP Fuse Block)