GM Service Manual Online
For 1990-2009 cars only

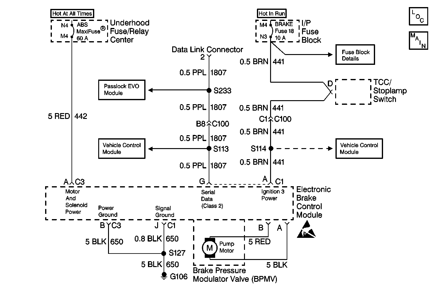
Object Number: 191381  Size: MF
ABS Components
Antilock Brake System Schematics

Circuit Description

The EBCM microprocessor grounds the isolation coil to energize and close the isolation valve. This will prevent any additional brake pressure applied by the driver from reaching the wheel. Further increases in brake pressure will be prohibited. Each isolation valve is closed independently to isolate each wheel. The EBCM microprocessor also uses a software subroutine to monitor for any ABS event which would initiate an isolation command. This subroutine is performed every 1.0 second.

Conditions for Setting the DTC

Isolation time (pressure hold) exceeding 255 consecutive 1.0 second checks.

Action Taken When the DTC Sets

    • The ABS indicator lamp turns on
    • The ABS disables

DTC C0274 is an ignition latched DTC, which indicates that the above actions remain true until the ignition switch is turned to OFF (even if the cause of the DTC is intermittent).

Conditions for Clearing the DTC

    • Repair the conditions responsible for setting the DTC
    • Use the Scan Tool Clear DTCs function

Diagnostic Aids

Repair any other DTCs first. Then perform the Function Test with the Scan Tool in order to ensure proper operation of the ABS.

Test Description

The numbers below refer to the steps in the diagnostic table:

  1. This step determines the resistance of the power ground circuit.

  2. This step determines the battery voltage available to the EBCM.

  3. This step determines the resistance of the signal ground circuit.

  4. This step determines the ignition voltage available to the EBCM.

Step

Action

Value(s)

Yes

No

1

Was the Diagnostic System Check performed?

--

Go to Step 2

Go to Diagnostic System Check

2

  1. Turn the ignition switch to OFF.
  2. Disconnect the 2-way EBCM harness connector from the EBCM.
  3. Inspect the connector for damage or corrosion that could cause a loss of power to the EBCM.

Is the connector in good condition?

--

Go to Step 3

Go to Step 11

3

Measure the resistance between terminal B of the 2-way EBCM harness connector and the ground using a J 39200

Is the resistance measurement within the specified range?

0-2ohms

Go to Step 4

Go to Step 12

4

Measure the voltage between terminal A of the 2-way EBCM harness connector and the ground using a J 39200

Is the voltage equal to or greater than the specified value?

10.0 V

Go to Step 6

Go to Step 5

5

Inspect the 60-amp ABS MaxiFuse.

Is the fuse open?

--

Go to Step 13

Go to Step 14

6

  1. Disconnect the 10-way EBCM harness connector from the EBCM.
  2. Inspect the connector for damage or corrosion that could cause a loss of power to the EBCM.

Is the connector in good condition?

--

Go to Step 7

Go to Step 15

7

Measure the resistance between terminal J of the 10-way EBCM harness connector and the ground using a J 39200

Is the resistance measurement within the specified range?

0-2ohms

Go to Step 8

Go to Step 16

8

  1. Turn the ignition to RUN.
  2. Measure the voltage between terminal A of the 10-way EBCM harness connector and the ground using a J 39200

Is the voltage equal to or greater than the specified value?

10.0 V

Go to Step 10

Go to Step 9

9

Inspect the 10-amp BRAKE fuse.

Is the fuse open?

--

Go to Step 17

Go to Step 18

10

  1. Inspect the 10-way and 2-way EBCM harness connectors for poor terminal contact or corrosion. Inspect CKT 442 , CKT 650 and CKT  441 for damage that could result in an intermittent open circuit. Repair any evident damage. Replace the terminals if poor contact or corrosion exists.
  2. Reconnect all the connectors.
  3. Clear all DTCs using the Scan Tool
  4. Test drive vehicle above the 16 km/h (10 mph)

Does the DTC set as a current DTC?

--

Go to Step 19

Malfunction is intermittent. Refer to Diagnostic Aids

11

Repair the 2-way EBCM harness connector.

Is the repair complete?

--

Go to Diagnostic System Check

--

12

Repair the open or the high resistance in the CKT 650.

Is the repair complete?

--

Go to Diagnostic System Check

--

13

Repair the short to ground in the CKT 442.

Is the repair complete?

--

Go to Diagnostic System Check

--

14

Repair the open or the high resistance in the CKT 442.

Is the repair complete?

--

Go to Diagnostic System Check

--

15

Repair the 10-way EBCM harness connector.

Is the repair complete?

--

Go to Diagnostic System Check

--

16

Repair the open or the high resistance in the CKT 650.

Is the repair complete?

--

Go to Diagnostic System Check

--

17

Repair the short to ground in the CKT 441.

Is the repair complete?

--

Go to Diagnostic System Check

--

18

Repair the open or the high resistance in the CKT 441.

Is the repair complete?

--

Go to Diagnostic System Check

--

19

Replace the EBCM.

Refer to Electronic Brake Control Module Replacement .

Is the repair complete?

--

Go to Diagnostic System Check

--