GM Service Manual Online
For 1990-2009 cars only
Makes
🢒
Chevrolet
🢒
1999
🢒
Astro - 2WD
🢒
Body and Accessories
🢒
Stationary Windows
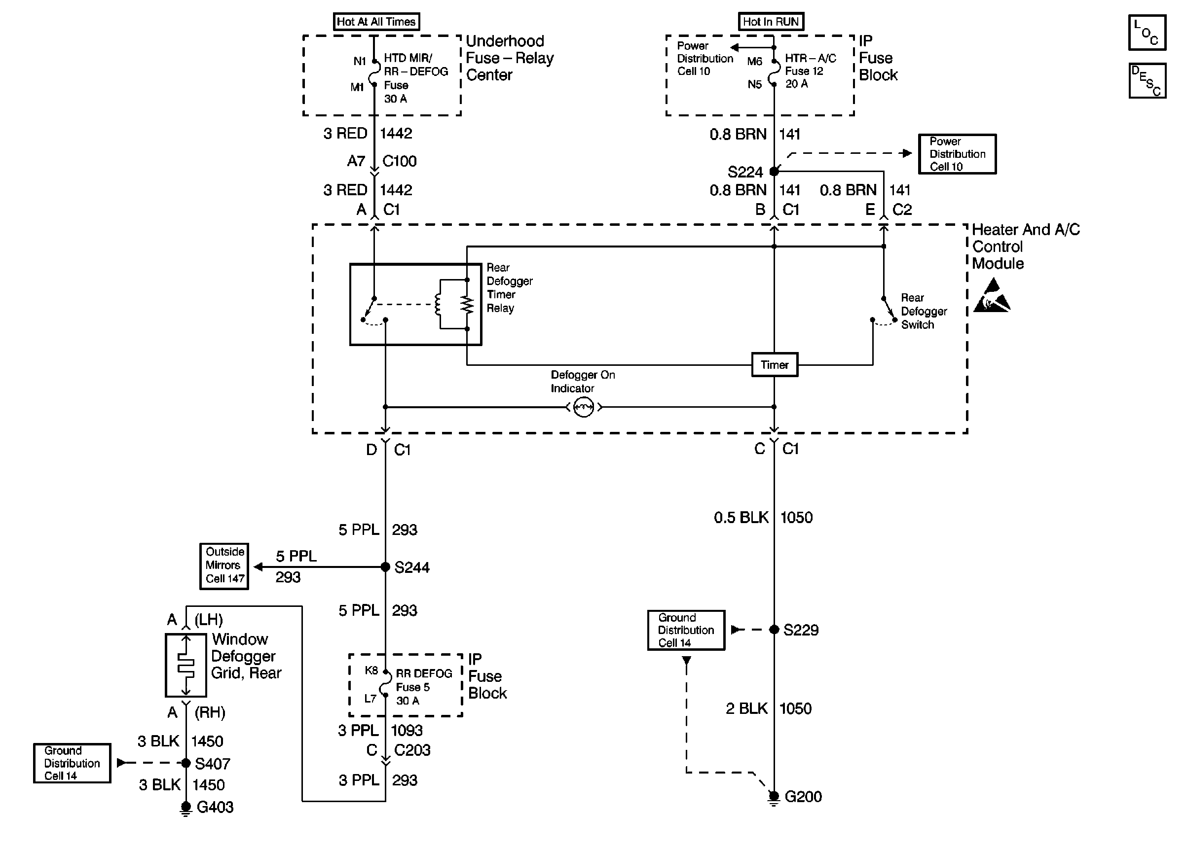
🢒 Defogger Schematics
Cell 61 Defogger
Stationary Windows Components
Rear Window Defogger Circuit Description
B+ Bus, Ignition Switch, Run Bus
B+ Bus, Ignition Switch, Run Bus
Handling ESD Sensitive Parts Notice
Cell 147 Power Mirrors
Cell 14 (G200)
Cell 14 (G403, G300)