GM Service Manual Online
For 1990-2009 cars only

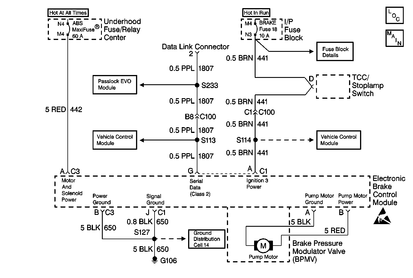
Object Number: 365054  Size: MF
ABS Components
Antilock Brake System Schematics Non VE1

Circuit Description

The EBCM microprocessor will ground the indicated solenoid coil (RF dump/isolation, LF dump/isolation, or Rear dump/isolation) circuit to energize the solenoid coil whenever the solenoid valve is needed. Refer to ABS Braking Mode in ABS Description . The magnetic force created by the solenoid coil will close the isolation valve.

Conditions for Setting the DTC

Open Circuit

    • The ABS bulb check is complete
    • Low voltage exists on the EBCM solenoid driver circuit when high voltage is expected (the solenoid is not energized)

Shorted Circuit

    • The ABS bulb check is complete
    • High voltage is present on the EBCM solenoid driver circuit when the voltage is expected to be low (solenoid energized).

Action Taken When the DTC Sets

    • The ABS indicator lamp turns on
    • The ABS disables

DTCs C0241-C0254 are Ignition Latched DTCs, which indicates the above actions remain true until the ignition is turned to OFF (even if the cause of the DTC is intermittent).

DTCs C0241-C0254 are DRP Critical malfunctions (except for C0243/C0244 and C0247/C0248), which means that DRP is disabled and the BRAKE indicator lamp will also light. DTCs C0243/C0244 and C0247/C0248 are DRP Non Critical malfunctions. If any other DTC sets before this DTC is investigated and cleared, this will become a DRP Critical malfunction.

Conditions for Clearing the DTC

    • Repair the conditions responsible for setting the DTC
    • Use the Scan Tool Clear DTCs function.

Diagnostic Aids

This DTC usually sets because of an open/shorted solenoid coil within the EHCU. The solenoid coil is located within the EBCM and is not serviceable. If the test does not repair the DTC, then replace the EBCM.

If this DTC sets with other DTCs, check for the following conditions:

    • A poor EBCM power or signal ground
    • A poor EBCM power or ignition feed

Test Description

The numbers below refer to the steps in the diagnostic table:

  1. This step determines the resistance of the power ground circuit.

  2. This step determines the battery voltage available to the EBCM.

  3. This step determines the resistance of the signal ground circuit.

  4. This step determines the ignition voltage available to the EBCM.

Step

Action

Value(s)

Yes

No

1

Was the Diagnostic System Check performed?

--

Go to Step 2

Go to Diagnostic System Check - ABS

2

  1. Turn the ignition switch to OFF.
  2. Disconnect the 2-way EBCM harness connector from the EBCM.
  3. Inspect the connector for damage or corrosion that could cause a loss of power to the EBCM.

Is the connector in good condition?

--

Go to Step 3

Go to Step 11

3

Measure the resistance between terminal B of the 2-way EBCM harness connector and the ground using a J 39200 .

Is the resistance measurement within the specified range?

0-2ohms

Go to Step 4

Go to Step 12

4

Measure the voltage between terminal A of the 2-way EBCM harness connector and the ground using a J 39200 .

Is the voltage equal to or greater than the specified value?

10.0 V

Go to Step 6

Go to Step 5

5

Inspect the 60-amp ABS MaxiFuse®.

Is the fuse open?

--

Go to Step 13

Go to Step 14

6

  1. Disconnect the 10-way EBCM harness connector from the EBCM.
  2. Inspect the connector for damage or corrosion that could cause a loss of power to the EBCM.

Is the connector in good condition?

--

Go to Step 7

Go to Step 15

7

Measure the resistance between terminal J of the 10-way EBCM harness connector and the ground using a J 39200 .

Is the resistance measurement within the specified range?

0-2ohms

Go to Step 8

Go to Step 16

8

  1. Turn the ignition to RUN.
  2. Measure the voltage between terminal A of the 10-way EBCM harness connector and the ground using a J 39200 .

Is the voltage equal to or greater than the specified value?

10.0 V

Go to Step 10

Go to Step 9

9

Inspect the 10-amp BRAKE fuse.

Is the fuse open?

--

Go to Step 17

Go to Step 18

10

  1. Inspect the 10-way and 2-way EBCM harness connectors for poor terminal contact or corrosion. Inspect CKT 442 , CKT 650 and CKT  441 for damage that could result in an intermittent open circuit. Repair any evident damage. Replace the terminals if poor contact or corrosion exists.
  2. Reconnect all the connectors.
  3. Clear all DTCs using the Scan Tool .
  4. Test drive vehicle above the 16 km/h (10 mph)

Does the DTC set as a current DTC?

--

Go to Step 19

Malfunction is intermittent. Go to Diagnostic Aids

11

Repair the 2-way EBCM harness connector. Refer to Connector Repairs .

Is the repair complete?

--

Go to Diagnostic System Check - ABS

--

12

Repair the open or the high resistance in the CKT 650.

Is the repair complete?

--

Go to Diagnostic System Check - ABS

--

13

Repair the short to ground in the CKT 442.

Is the repair complete?

--

Go to Diagnostic System Check - ABS

--

14

Repair the open or the high resistance in the CKT 442.

Is the repair complete?

--

Go to Diagnostic System Check - ABS

--

15

Repair the 10-way EBCM harness connector. Refer to Connector Repairs .

Is the repair complete?

--

Go to Diagnostic System Check - ABS

--

16

Repair the open or the high resistance in the CKT 650.

Is the repair complete?

--

Go to Diagnostic System Check - ABS

--

17

Repair the short to ground in the CKT 441.

Is the repair complete?

--

Go to Diagnostic System Check - ABS

--

18

Repair the open or the high resistance in the CKT 441.

Is the repair complete?

--

Go to Diagnostic System Check - ABS

--

19

Replace the EBCM. Refer to Electronic Brake Control Module Replacement .

Is the repair complete?

--

Go to Diagnostic System Check - ABS

--