GM Service Manual Online
For 1990-2009 cars only

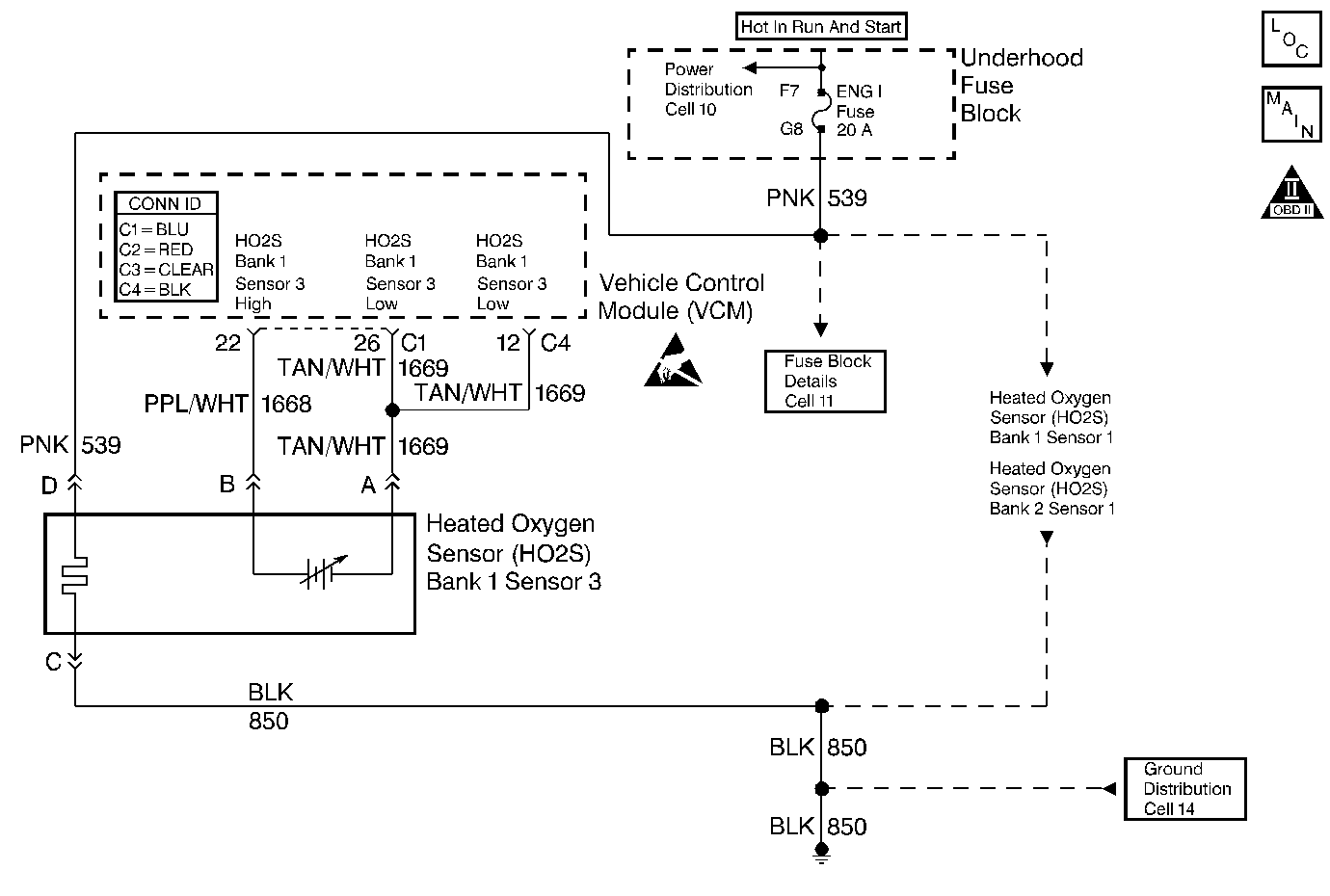
Object Number: 426064  Size: MF
Handling ESD Sensitive Parts Notice
Engine Controls Components
Oxygen Sensors
OBD II Symbol Description Notice

Circuit Description

The heated oxygen sensor (HO2S) is a sensor designed to create a voltage relative to the oxygen content in the engine exhaust stream. The control module supplies the HO2S with signal high and low circuits. Ignition voltage and ground are supplied to the HO2S heater by independent circuits. The oxygen content of the exhaust indicates when the engine is operating lean or rich. When the HO2S detects that the engine is operating rich, the signal voltage is high, and decreases the signal voltage as the engine runs leaner. This oscillation above and below the bias voltage, sometimes referred to as activity or switching, can be monitored with the HO2S signal voltage.

The HO2S contains a heater that is necessary in order to quickly warm the sensor to operating temperature. The heater also maintains the operating temperature during extended idle conditions. The HO2S needs to be at a high temperature in order to produce a voltage. When the HO2S reaches operating temperature, the control module monitors the HO2S bias, or reference, voltage. It also monitors the HO2S signal voltage for Closed Loop fuel control. During normal Closed Loop fuel control operation, the control module will add fuel, or enrich the mixture, when the HO2S detects a lean exhaust content. The control module will subtract fuel, or "lean-out" the mixture, when the HO2S detects a rich exhaust condition.

Certain vehicle models utilize an oxygen sensor behind the catalytic converter in order to monitor catalyst efficiency.

This diagnostic trouble code (DTC) determines if the HO2S is functioning properly. It checks for an adequate number of HO2S voltage transitions above and below the bias range of 300-600 mV. This DTC sets when the vehicle control module (VCM) fails to detect a minimum number of voltage transitions above and below the bias range during the test period. Possible causes of this DTC are:

    • An open or a short to voltage on either the HO2S signal or HO2S low circuits
    • A malfunctioning HO2S
    • A problem in the HO2S heater or its circuit
    • A faulty HO2S ground

This DTC determines if the post-convertor HO2S heater circuit is functioning properly by monitoring the amount of time required for the HO2S to reach operating temperature. This DTC sets when the VCM fails to detect HO2S voltage transitions above and below the bias range within a specified amount of time. Possible cause of this DTC are listed below:

    • An open circuit in either the HO2S ignition feed or the HO2S heater ground circuits
    • An HO2S heater element problem

Conditions for Running the DTC

Important: This test is void for this cold start if the system voltage remains outside the specified range for more than 4 seconds

    • The system voltage is between 11.7-17 volts
    • The MAF is less than 21 g/s
    • The engine run time is greater than 2 seconds
    • The ECT is less than 33°C(91°F)
    • The IAT is less than 33°C(91°F)
    • The difference between the ECT and IAT is 5°C(9°F) or less

Conditions for Setting the DTC

The O2 sensor voltage remains within 150 mV of its startup voltage for 270 seconds after cold start.

Action Taken When the DTC Sets

    • The control module illuminates the malfunction indicator lamp (MIL) if a failure is detected during 2 consecutive key cycles.
    • The control module sets the DTC and records the operating conditions at the time the diagnostic failed. The failure information is stored in the scan tool Freeze Frame/Failure Records.

Conditions for Clearing the MIL or DTC

    • The control module turns OFF the MIL after 3 consecutive drive trips when the test has run and passed.
    • A history DTC will clear if no fault conditions have been detected for 40 warm-up cycles. A warm-up cycle occurs when the coolant temperature has risen 22°C (40°F) from the startup coolant temperature and the engine coolant reaches a temperature that is more than 70°C (158°F) during the same ignition cycle.
    • Use a scan tool in order to clear the DTCs.

Diagnostic Aids

Important: Never solder the HO2S wires. For proper wire and connection repairs, refer to Wiring Repairs in Wiring Systems

An intermittent may be caused by any of the following conditions:

    • A poor connection
    • Rubbed through wire insulation
    • A broken wire inside the insulation

Thoroughly check any circuitry that is suspected of causing the intermittent complaint. Refer to Intermittents and Poor Connections Diagnosis in Wiring Systems.

If a repair is necessary, refer to Wiring Repairs or Connector Repairs in Wiring Systems.

Test Description

The number(s) below refer to the step number(s) on the Diagnostic Table.

  1. As the heater warms the oxygen sensor to operating temperature, the HO2S will output a voltage in relation to the amount of oxygen in the exhaust. With the ignition ON and the engine OFF the exhaust usually contains a high oxygen content. With the engine OFF the HO2S voltage will usually decrease from the initial (bias) voltage due to the high oxygen content.

  2. This step checks for proper HO2S heater ignition feed and ground supply.

  3. This step checks for proper VCM and signal circuit operation.

Step

Action

Value(s)

Yes

No

1

Important: Before clearing the DTCs, use the scan tool in order to record the Freeze Frame and the Failure Records for reference. This data will be lost when the Clear DTC Information function is used.

Was the Powertrain On-Board Diagnostic (OBD) System Check performed?

--

Go to Step 2

Go to the Powertrain On Board Diagnostic (OBD) System Check

2

Important: The HO2S must be cool before proceeding with diagnosis. The Ignition must remain OFF for at least one half hour before proceeding with diagnosis.

  1. Connect the scan tool.
  2. Set-up the scan tool with the tool with the proper vehicle identification information prior to turning the ignition ON.
  3. Turn the ignition is ON leaving the engine is OFF.
  4. As quickly as possible, observe and record the HO2S voltage for the sensor that applies to this DTC.
  5. Monitor the HO2S voltage for two minutes.

Does the HO2S voltage increase or decrease from the initial voltage by at least the value specified?

150 mV

Go to Step 3

Go to Step 4

3

The condition that set this DTC is not present. This DTC may have been set by one of the following conditions:

    • An intermittently open or high resistance HO2S HIGH signal circuit or LOW circuit
    • An intermittently open or high resistance HO2S heater ignition feed or ground circuit
    • Poor HO2S or VCM connector terminal contact
    • A defective HO2S

Repair any of the above conditions as necessary.

Did you find a problem?

--

Go to Step 14

Go to Diagnostic Aids

4

  1. Turn the ignition OFF.
  2. Disconnect the HO2S connector for the sensor that applies to this DTC.
  3. Connect a test lamp between the HO2S heater ignition feed and ground circuit terminals (engine harness side).
  4. Turn the ignition ON while leaving the engine OFF.

Is the test lamp ON?

--

Go to Step 5

Go to Step 6

5

  1. Disconnect the test lamp.
  2. Jumper the HO2S LOW circuit terminal to a known good ground.
  3. Jumper the HO2S HIGH signal circuit terminal to a known good ground.
  4. Using a scan tool monitor the HO2S voltage for the sensor that applies to this DTC.
  5. Ensure the ignition is ON while the engine is OFF.

Is the HO2S voltage less than the specified value?

20  mV

Go to Step 8

Go to Step 7

6

Connect the test lamp between the HO2S heater ignition feed circuit terminal (engine harness side) and a known good ground.

Ensure the ignition is ON while the engine is OFF.

Is the test lamp ON?

--

Go to Step 9

Go to Step 10

7

  1. Turn the ignition OFF.
  2. Remove the jumpers from the VCM connector containing the HO2S HIGH and LOW circuits.
  3. Using a J 39200 DMM measure the continuity of the HO2S HIGH signal circuit and then the HO2S LOW circuit between the VCM connector terminal and the HO2S connector terminal (engine harness side).

Is the resistance less than the specified value?

5 ohms

Go to Step 12

Go to Step 11

8

Replace the HO2S. Refer to Heated Oxygen Sensor Replacement .

Is the action complete?

--

Go to Step 14

--

9

Repair the open HO2S heater ground circuit. Refer to Wiring Repairs in Wiring Systems.

Is the action complete?

--

Go to Step 14

--

10

Repair the lack of voltage on the HO2S heater ignition feed circuit. Refer to Wiring Repairs in Wiring Systems.

If the fuse is blown repair the short to ground on the circuit. A blown fuse or lack of voltage to the fuse may cause other DTCs or symptoms to be present.

Is the action complete?

5 ohms

Go to Step 14

--

11

Repair the circuit that measured high resistance. Refer to Wiring Repairs in Wiring Systems.

Is the action complete?

--

Go to Step 14

--

12

  1. Check for proper VCM terminal contact.
  2. Repair VCM terminals as necessary. Refer to Wiring Repairs in Wiring Systems.

Did you find a problem?

--

Go to Step 14

Go to Step 13

13

  1. Replace the VCM.
  2. Program the new VCM. Refer to VCM Replacement/Programming .
  3. Perform the Passlock Reprogramming Procedure. Refer to PASSLOCK Reprogramming Seed and Key in Theft Deterrent.
  4. Perform the CKP System Variation Learning Procedure. Refer to Crankshaft Position System Variation Learn .

Is the action complete?

--

Go to Step 14

--

14

Important: The HO2S must be cool before proceeding with diagnosis. The Ignition must remain OFF for at least one half hour before proceeding with diagnosis.

  1. Connect the scan tool.
  2. Set-up the scan tool with the proper vehicle identification information prior to turning the ignition ON.
  3. Turn the ignition ON leaving the engine OFF.
  4. As quickly as possible, observe and record the HO2S voltage for the sensor that applies to this DTC.
  5. Monitor the HO2S voltage for two minutes.

Does the HO2S voltage increase or decrease from the initial voltage by at least the value specified?

150 mV

Go to Step 15

Go to Step 4

15

Does the scan tool display any additional undiagnosed DTCs?

--

Go to the Applicable DTC Table

System OK