GM Service Manual Online
For 1990-2009 cars only

The hydraulic power steering system consists of the following components:

    • A pump
    • A fluid reservoir
    • A steering gear
    • A pressure hose
    • A return hose
    • A cooler pipe and hose

Power Steering Pump


Object Number: 361684  Size: SH

The power steering pump (1) is a vane type, non-submerged design.The reservoir is separate from the housing and the internal parts. The reservoir is mounted on the cowl next to the wiper motor.

There are 2 bore openings at the rear of the pump housing. The larger opening contains the following components:

    • The cam ring
    • The pressure plate
    • The thrust plate
    • The rotor
    • The vane assembly

The smaller opening contains the following components:

    • The pressure hose discharge fitting
    • The flow control valve
    • The spring

The pressure relief valve inside the flow control valve limits the pump pressure.

Power Steering Gear

The power steering gear contains a recirculating ball system that acts as a rolling thread between the worm shaft and the rack piston. The worm shaft is supported by a pre-loaded thrust bearing and two conical thrust races at the lower end. A bearing assembly in the adjuster plug supports the shaft's upper end. When the worm shaft is turned right, the rack piston moves up in gear. Turning the worm shaft left moves the rack piston down in gear. The rack piston teeth mesh with the sector, which is part of the pitman shaft. Turning the worm shaft turns the pitman shaft, and the pitman shaft turns the wheels through the pitman arm and the steering linkage.

The control valve in the steering gear directs the power steering fluid to either side of the rack piston. The rack piston converts the hydraulic pressure into a mechanical force. If the steering system loses hydraulic pressure, the vehicle can be controlled manually.

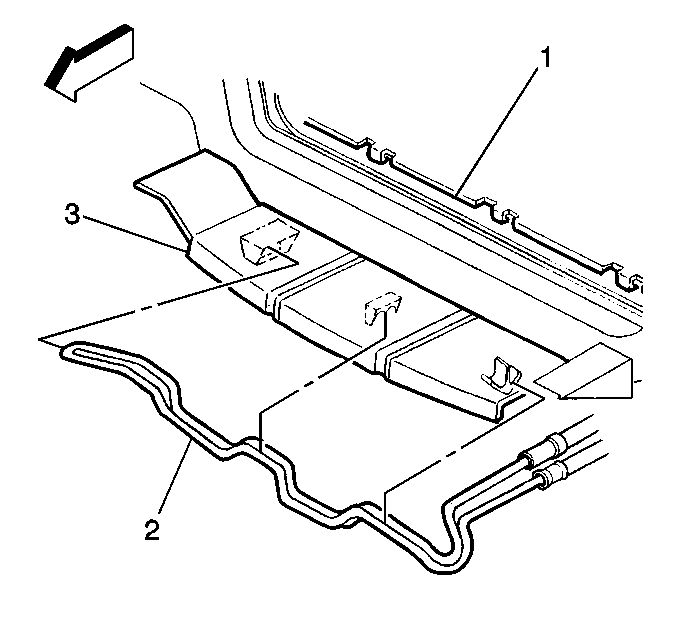
Power Steering Cooler Pipe


Object Number: 284255  Size: SH

The power steering cooler pipe mounts along the lower radiator support (1). In this location, air can circulate freely around the pipe. As the vehicle is driven, heat dissipates from the power steering fluid as it flows through the pipe.

A clip mounts the pipe to the radiator support (1) and holds the pipe in position. The cooler hoses that supply fluid to the cooler pipe are attached to the pipe with hose clamps.