GM Service Manual Online
For 1990-2009 cars only

    Important: Replace damaged or broken steering linkage and components. Do not attempt to repair steering linkage components.

  1. Set the wheels in the straight ahead position.
  2. Set the steering wheel into the locked position.
  3. Raise the vehicle on one side so that the tire is about 25 mm (1 in) above the floor.

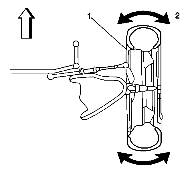
  4. Object Number: 330245  Size: SH
  5. Position a dial indicator at position (1) (as shown).
  6. Move the wheel back and forth (2) without moving the steering wheel.
  7. The gauge reading should not exceed 2.74 mm (0.108 in).

  8. Inspect all linkage pivots and ball studs for looseness if the gauge reading exceeds the specifications.
  9. Replace any worn components, as necessary.