GM Service Manual Online
For 1990-2009 cars only

I/P Fuse Block (Rear View)


Object Number: 559040  Size: MF

I/P Fuse Block (Rear View)

Pin

Wire Color

Circuit No.

Function

A2

DK BLU

75

Delayed Accessory Bus Relay Output

A3

YEL

343

Fuse Output Accessory Type 3 Fuse

A6

RED

142

Fuse Output Battery Type 2 Fuse

A7

ORN

540

Fuse Output Battery Type 3 Fuse

B2--B4

--

--

Not Used

B6

RED

142

Fuse Output Battery Type 2 Fuse

B8

--

--

Not Used

C1

ORN

1140

Fuse Output Battery Type 3 Fuse

C3

ORN

640

Fuse Output Battery Type 3 Fuse

C5

ORN

840

Fuse Output Battery Type 3 Fuse

C7

ORN

140

Fuse Output Battery Type 3 Fuse

D2

WHT

1390

Ignition Switch Output Off, Run, Crank

D4

DK GRN

44

Instrument Panel Lamps Dimmer Switch Output

D6

YEL

5

Ignition Switch Output Crank

D8

DK BLU

75

Delayed Accessory Bus Relay Output

E1

PNK (2 WIRES)

1020

Fuse Output Off, Run, Crank, Type 3 Fuse

E3

GRY

8

Instrument Panel Lamp Feed

E5

PPL

806

Fuse Output - Crank - Type 3

E7

YEL

43

Fuse Output - Accessory - Type 3

F2--F4

--

--

Not Used

F6

RED

42

Fuse Output Battery Type 2 Fuse

F8

--

--

Not Used

G1

ORN

1740

Fuse Output Battery Type 3 Fuse

G3

ORN

1840

Fuse Output - Battery - Type 3

G5

ORN

240

Fuse Output Battery Type 3 Fuse

G7

ORN

40

Fuse Output Battey Type 3 Fuse

H2

DK BLU

75

Delayed Accessory Bus Relay Output

H4

--

--

Not Used

H6

PNK

3

Ignition Switch Output Ignition 1

H8

--

--

Not Used

J1

YEL

443

Fuse Output - Accessory - Type 3

J3

PNK (2 WIRES)

139

Fuse Output Ignition 1 Type 3 Fuse

J5

YEL

1139

Fuse Output Ignition 1 Type 3 Fuse SIR

J7

PNK

39

Fuse Output Ignition 1 Type 3 Fuse

K2

--

--

Not Used

K4

BRN

4

Ignition Switch Output Accessory

K6

--

--

Not Used

K8

PPL

293

Rear Defogger Element Feed

L1

WHT

393

Rear Window Wiper Motor Feed

L3

YEL

143

Fuse Output Accessory Type 3 Fuse

L5

ORN

2267

Heated Mirror Feed

L7

PPL

1093

Right Rear Tail Lamp

M2--M4

--

--

Not Used

M6

ORN

300

Ignition Switch Output Ignition 3

M8--N1

--

--

Not Used

N3

BRN (2 WIRES)

441

Fuse Output Ignition 3 Type 3 Fuse

N5

BRN

141

Fuse Output Ignition 3 Type 3 Fuse

N7

BRN

41

Fuse Output Ignition 3 Type 3 Fuse

I/P Fuse Block (Front View)


Object Number: 559038  Size: MF

I/P Fuse Block (Front View)

Name

Fuse Number

Size

Circuit

Loads

STOP/HAZ

1

20A Fuse

140

Brake Pedal Position (BPP) Switch, Turn/Hazard Switch

RADIO ACCY

2

10A Fuse

43

Not Used

CTSY

3

20A Fuse

40

Courtesy Lamps, Dome/Reading Lamps, IP Compartment Lamp, Vanity Mirrors, Power Mirrors

GAUGES

4

10A Fuse

39

Compass/Temperature Module, Audio Alarm Module, IP Cluster, H/L Switch

RR DEFOG

5

30A Fuse

1093

Not Used

CRUISE

6

10A Fuse

4

Cruise Control Module and Switch

AUX PWR

7

25A Fuse

840

Auxiliary Power Outlets, Sub-Woofer Amplifier, DLC

CRANK

8

10A Fuse

5

Ignition Switch Output Crank

PK LPS

9

20A Fuse

240

Headlamp and Panel Dimmer Switch

AIR BAG

10

10A Fuse

1139

SDM

HTD MIR

11

10A Fuse

2267

Heated Mirrors

HTR-A/C

12

20A Fuse

141

Upfitter Accessory Relay, A/C Relay (Rear), Temperature Control Motor

CIG LTR

13

20A Fuse

640

LH and RH Lower Door Lock Switches, Cigar Lighter

ILLUM

14

10A Fuse

8

IP Cluster, HVAC Controls, RR HVAC Controls, IP Switches, Radio Illumination, Audio Alarm Module, Overhead Console

BCM

15

10A Fuse

1840

Body Control Module

TURN-B/U

16

20A Fuse

139(2)

Turn/Hazard Switch, Park/Neutral Position and Back-up Switch

WIPER

17

25A  Fuse

143

Wiper

BRAKE

18

10A  Fuse

441(2)

BPSS/Stoplamp Switch, BPMV, VCM

RADIO BATT

19

10A  Fuse

1140

Radio (Battery)

TRANS

20

10A  Fuse

1020(2)

IP Cluster, Transmission

PWR ADJ MIR

21

5A  Fuse

1740

Power Mirrors

PWR FLD MIR

22

10A Fuse

443

Power Folding Mirrors

RR WIPER

23

20A  Fuse

393

Rear Window Wiper/Washer Switch

--

24

--

--

Not Used

PWR ACCY

A

30A C/B

540

Power Door Lock, 6-Way Power Steering, Keyless Entry Module, Liftgate Module

WINDOWS

B

30A C/B

343

Power Windows

Underhood Fuse Block (Front View)


Object Number: 559036  Size: LF

Underhood Fuse Block (Front View)

Name

Cavity Number

Size

Circuit

Loads

DIODE - A/C COIL

K3-L4

1AMP - 400V Diode - 280 Series

59

A/C Clutch

RH HEADLAMP

H5-J6

15A Fuse

312

RH Headlamp

LH HEADLAMP

K5-L6

15A Fuse

712

LH Headlamp

ENG-I

F7-G8

20A Fuse

539

All Oxygen Sensor, VCM, MAF Sensor, Camshaft Position Sensor, Linear EGR Valve Solenoid, EVAP Emission Canister Purge Solenoid Valve

IGN-E

H7-J8

10A Fuse

639

A/C Enable Relay

ECM-I

K7-L8

20A Fuse

439

Fuel Injectors, VCM, Crankshaft Position Sensor, Distributor Ignition Control Module

RR HEAT-A/C

F9-G10

30A Fuse

1040

Rear Heat, Rear A/C

ATC

H9-J10

20A Fuse

1540

Active Transfer Case

FRT HVAC

K9-L10

30A Fuse

340

Front HVAC

ECM-B

F11-G12

20A Fuse

440

Fuel Pump Relay, VCM, Oil Pressure Switch and Sender

HORN

H11-J12

20A Fuse

740

Horn Relay

A/C COMP

K11-L12

10A Fuse

1240

A/C Enable Relay

RR DEFOG

M1-N1

40A Fuse

1440

Heated Mirror, Rear Defogger

RAP (Retained Accessory Power)

M2-N2

40A Fuse

742

Retained Accessory Power

ABS

M4-N4

60A Fuse

442

Electronic Brake Control Module (EBCM)

IGN-B

M5-N5

40A Fuse

342

IGN-B Switch to IP Fuse Block Bus Bars

IGN-A

M6-N6

40A Fuse

242

IGN-A Switch to IP Fuse Block Bus Bar, Park/Neutral Position and Back-up Lamp Switch, Underhood Fuse-Relay Center Bus Bar

BATT

M7-N7

50A Fuse

142

IP Fuse Block Bus Bar, Lock/Seats Circuit Breaker

LIGHTING

M8-N8

40A Fuse

42

Headlamp and Panel Dimmer Switch, IP Fuse Block Bus Bar

A/C CLUTCH

L4-K3

Diode-I

850-59(2)

A/C Enable Relay, A/C Compressor Clutch

UPFIT-ACCY

P7-R7

30A Fuse

--

Portable/Installed By Upfitter

UPFIT-BATT

P8-R8

30A Fuse

--

Portable/Installed by Upfitter

--

Stud "A"

30A Fuse

1842

Upfitter Ignition Power Stud

--

Stud "B"

30A Fuse

1742

Upfitter Battery Power Stud

Headlamps

A1-A3-B1-B2-B3

Micro Relay

1346

Headlamp Enable

Starter Enable Relay

A4-A6-B4-B5-B6

Mini Relay

6

Starter Solenoid Feed

A/C Relay (Rear)

A7-A9-B7-B8-B9

Mini Relay

1923

Auxiliary HVAC Switch Feed

Fuel Pump Relay

C1-C3-D1-D2-D3

Micro Relay

440

Fuse Output - Battery - Type 3 Fuse

A/C Enable Relay

C4-C6-D4-D5-D6

Micro Relay

59

Air Conditioning Compressor Clutch Solenoid Feed

Upfitter/ Accessory

D7-D9-E7-E8-E9

Mini Relay

1839

Fuse Output - Ignition 1 - Type 2

Underhood Fuse Block (Rear View)


Object Number: 559033  Size: MF

Underhood Fuse Block (Rear View)

Cavity

Gauge/Color

Circuit

Description

A1

0.8 WHT

352

Headlamp Relay Feed - Coil

A3

3.0 RED

42

Fuse Output - Battery - Type 2

A4

0.5 BLK

850

Ground

A6

3.0 RED

242

Fuse Output - Battery - Type 2

A7

0.8 BRN

141

Fuse Output - Ignition 3 - Type 3

A9

3.0 ORN

1040

Fuse Output - Battery - Type 3

B1

3.0 LT BLU

1346

Headlamp Relay Output - Normally Open Contact

B2

--

--

Not Used

B3

0.8 BLK

250

Ground

B4

3.0 PPL

6

Starter Solenoid Feed

B5

--

--

Not Used

B6

0.5 YEL

1737

Neutral Safety Switch Output - Park/Neutral

B7

3.0 ORN

1923

Auxilary HVAC Switch Feed

B8

--

--

Not Used

B9

0.8 BLK

850

Ground

C1

0.5 DK GRN/WHT

465

Fuel Pump Relay Feed - Coil

C3

2.0 GRY

120

Fuel Pump Motor Feed

C4

0.5 DK GRN/WHT

459

A/C Compressor Control Relay Output - Coil

C6

0.8 ORN

1240

Fuse Output - Battery - Type 3

D1

2.0 ORN

440

Fuse Output - Battery - Type 3

D2

--

--

Not Used

D3

0.5 BLK

850

Ground

D4

0.8 DK GRN

59

A/C Compressor Clutch Solenoid Feed

D5

--

--

Not Used

D6

0.5 PNK

639

Fuse Output - Ignition 1 - Type 3

D7

1.0 YEL

143

Fuse Output - Accessory - Type 3

D9

3.0 RED

1842

Fuse Output - Battery - Type 2

E7

3.0 PNK

1839

Fuse Output - Ignition 1 - Type 3

E8

--

--

Not Used

E9

0.8 BLK

850

Ground

F1-G6

--

--

Not Used

G8

0.8 PNK

539

Fuse Output - Ignition 1 - Type 3

G10

3.0 ORN

1040

Fuse Output - Battery - Type 3

G12

2.0 ORN

440

Fuse Output - Battery - Type 3

H1-H3

--

--

Not Used

H5

3.0 LT BLU

1346

Headlamp Relay Output - Normally Open Contact

H7

3.0 PNK

3

Ignition Switch Output - Ignition 1

H9

3.0 RED

1

Battery Output - Unfused

H11

3.0 RED

1

Battery Output - Unfused

J2-J4

--

--

Not Used

J6

0.8 TAN/WHT

312

Low Beam Headlamp Feed - Right

J8

0.5 PNK

639

Fuse Output - Ignition 1 - Type 3

J10

2.0 ORN

1540

Fuse Output - Battery - Type 3

J12

0.8 ORN

740

Fuse Output - Battery - Type 3

K1

--

--

Not Used

K3

0.8 DK GRN

59

A/C Compressor Clutch Solenoid Feed

K5-L2

--

--

Not Used

L4

0.8 BLK

850

Ground

L6

0.8 YEL

712

Low Beam Headlamp Feed - Left

L8

0.8 PNK

439

Fuse Output - Ignition 1 - Type 3

L10

3.0 ORN

340

Fuse Output - Battery - Type 3

L12

0.8 ORN

1240

Fuse Output - Battery - Type 3

N1-N8

Bus Bar Feed to Attached Fuses

--

Not Used

M1

3.0 RED

1442

Fuse Output - Battery - Type 2

M2

3.0 RED

742

Fuse Output - Battery - Type 2

M3

--

--

Not Used

M4

5.0 RED

442

Fuse Output - Battery - Type 2

M5

3.0 RED

342

Fuse Output - Battery - Type 2

M6

3.0 RED

242

Fuse Output - Battery - Type 2

M7

5.0 RED

142

Fuse Output - Battery - Type 2

M8

3.0 RED

42

Fuse Output - Battery - Type 2

P7-P8-R7-R8

30A Fused w/ Aftermarket Upfitter Provisions

--

Not Used

Convenience Center (Rear View)


Object Number: 299498  Size: MF

Convenience Center (Rear View)

Connector Part Information

    • 12146452
    • Convenience Center

Pin

Wire Color

Circuit No.

Function

A

RED

1742

Fuse Output - Battery - Type 2

B

PNK

1839

Fuse Output - Ignition 1 - Type 3

C1

GRY

8

Instrument Panel Lamp Feed

C2

BLK

750

Ground

C3

ORN

1923

Auxiliary HVAC Switch Feed

C4

GRY/BLK

1596

Heater Water Control Solenoid Output

C6

RED

1742

Fuse Output - Battery - Type 2

C7

ORN

540

Fuse Output - Battery - Type 3

C8

BLK

750

Ground

C9

RED

1742

Fuse Output - Battery - Type 2

D1

GRY

8

Instrument Panel Lamp Feed

D2

PPL/WHT

1382

L.E.D. Dimming Signal

D3

YEL

43

Fuse Output - Accessory - Type 3

D4

--

--

Not Used

D5

LT GRN/BLK

735

Outside Ambient Temperature Sensor Signal

D6

DK GRN

389

Vehicle Speed Signal

D7

ORN

1732

12 Volt - Controlled

D8

BLK

750

Ground

D9

ORN

640

Fuse Output - Battery - Type 3

E1

BRN

441

Fuse Output - Ignition 3 - Type 3

E2

--

--

Not Used

E3

DK GRN/WHT

1133

Class 2 Data Signal - Diagnostic to ATC (Active Transfer Case)

E4

BLK

750

Ground

E5

ORN

1540

Fuse Output - Battery - Type 3

E6

--

--

Not Used

F1

GRY

8

Instrument Panel Lamp Feed

F2

BLK

750

Ground

F3

ORN

1923

Auxiliary HVAC Switch Feed

F5

LT BLU

195

Power Door Lock Relay Feed - Lock Coil

F6

WHT

194

Power Door Lock Relay Feed - Unlock Coil

G1

WHT

1080

Park Lamp Relay Output - Coil

G2

--

--

Not Used

G3

BRN

9

Park Lamp Feed

G4

ORN

740

Fuse Output - Battery - Type 3

G5

--

--

Not Used

G6

DK GRN

29

Horn Feed

G8

BLK

550

Ground

H1

ORN

240

Fuse Output - Battery - Type 3

H3

ORN

240

Fuse Output - Battery - Type 3

H4

ORN

740

Fuse Output - Battery - Type 3

H6

BLK

28

Horn Relay Output - Coil

H7

PPL

16

Turn Signal Flasher Output

H8

--

--

Not Used

H9

LT GRN

62

Hazard Indicator Lamp Feed

J1-K4

--

--

Not Used

Convenience Center (Front View)


Object Number: 607770  Size: LF
(1)Not Used (Spare Battery Feed)
(2)C222 (Power Seat)
(3)C206 (Trailer Harness)
(4)C209 (Vanity Mirror)
(5)Spare Fused Power Feed
(6)C210 (Upfitter Power Feed)
(7)Spare Door Lock/Unlock Feed
(8)C218 (Rear A/C)
(9)C224 (Active Transfer Case)
(10)C207 (Overhead Console)
(11)C219 (Rear Heater)

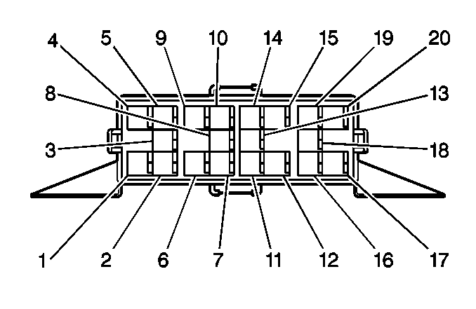
Relay Center #1


Object Number: 474206  Size: CH

Connector Part Information

    • 40024201
    • 20-Way Cassette Type (BLK)

Pin

Wire Color

Circuit No.

Function

1

LT BLU

1344

Trunk Release Relay Output Coil

2

ORN

540

Fuse Output - Battery - Type 3

3

TAN

294

Power Door Lock Motor Feed Unlock

4

TAN

246

Power Door Lock Motor Feed Unlock Rear Door

4

TAN

1095

Liftgate Release Unlock Motor Feed

5

ORN

540

Fuse Output - Battery - Type 3

6

LT GRN

1391

Power Door Lock relay Output Coil - Left Front

7

ORN

540

Fuse Output - Battery - Type 3

8

BLK

1050

Ground

9

TAN

694

Power Door Lock Motor Feed - Driver Door Unlock

10

ORN

540

Fuse Output - Battery - Type 3

11

GRY/BLK

690

Courtesy Lamp Relay Output - Coil

12

WHT

156

Courtesy Lamp Output

13

--

--

Not Used

14

BLK

750

Ground

15

ORN

1732

12 Volt Feed

16

DK BLU

1393

Interior Lamp Relay Output - Coil

17

ORN

40

Fuse Output - Battery - Type 3

18

--

--

Not Used

19

ORN

1732

12 Volt Feed

20

ORN

40

Fuse Output - Battery - Type 3

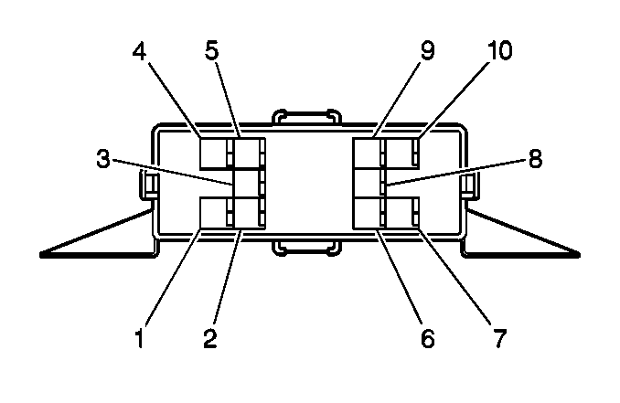
Relay Center #2


Object Number: 474208  Size: CH

Connector Part Information

    • 40024202
    • 10-Way Cassette Type (BLK)

Pin

Wire Color

Circuit No.

Function

1

BLK

755

RAP Output Coil - Accessory Relay

2

RED

742

Fuse Output - Battery - Type 2

3

BRN

4

Ignition Switch Output - Accessory

4

DK BLU

75

RAP Output - Common Contact - Accessory

5

RED

742

Fuse Output - Battery - Type 2

6

PNK

39

Fuse Output - Ignition 1 - Type 3

7

BLK

750

Ground

8

PPL

544

DRL Power Return

9

WHT

815

DRL Coil Feed

10

LT GRN/BLK

592

DRL Relay Output - Coil