| Subject: | Rolling Boom Noise Inside Vehicle (Install Pinion Nose Damper and/or New
Rear Leaf Spring Dampers) |
| Models: | 1995-2005 Chevrolet Astro Van Models |
| 1995-2005
GMC Safari Van Models |
This bulletin is being revised to add the 2005 model year, change a nut part
number within the spring damper kit and change a quantity in the Parts Information.
Please discard Corporate Bulletin Number 00-03-09-001A (Section 03 -
Suspension).
Condition
Some owners may comment about a "boom" noise inside the vehicle
while driving at speeds ranging between 97-105 km/h (60-65 mph). This
condition is most noticeable from behind the driver's seat.
Cause
The condition may result from an engine-firing harmonic, which becomes noticeable
at torque converter clutch (TCC) lock-up.
Correction
A new rear leaf spring damper kit (containing two dampers
, one per spring) has been developed, to be used in conjunction with a pinion
nose damper tuned to 86 Hertz (Hz), to reduce the resultant noise level.
AFFECTED VEHICLES MAY REQUIRE THE INSTALLATION OF THE PINION NOSE DAMPER, THE
SPRING DAMPERS, OR BOTH. THE INSTALLATION OF EITHER OF THESE DAMPERS IS AT THE DISCRETION
OF THE TECHNICIAN FOR BEST RESULTS. Use the following procedures and the appropriate
part number listed below.
Important: Installation of these dampers will not totally
eliminate the boom noise. The boom noise may only be reduced to a more acceptable
level. There may be other boom noises, such as body or exhaust, associated with the
vehicle and this fix may either diminish or enhance the noise. These other noises
should be addressed prior to the correction for the TCC boom dampener being installed.
Pinion Nose Damper Installation Procedure
Use Damper Kit, Rr. Axle Vib., P/N 15006567, for this procedure.
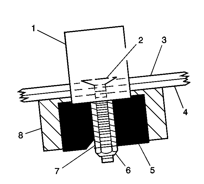
- Place the template (1), P/N 15005879, on the
bottom surface of the triangular flanged portion of the rear axle.
- Mark the hole locations.
- Using a pin punch (1), mark the center location
of the holes.
- Drill a 11 mm (0.44 in) diameter hole in two places.
- Clean out the holes, including the top and bottom surface of the axle.
- Install the rear axle pinion nose damper (1),
P/N 15005880.
- Install the rear axle pinion nose damper washers (2), P/N 15614758,
and the nuts (3), P/N 11516072.
Tighten
Tighten each nut to 37-53 N·m(27-39 lb ft).
- Rotate the driveshaft in order to verify that there is no contact between
the driveshaft and the pinion nose damper.
- Test drive the vehicle. Inspect for contact between the driveshaft and
the damper.
Rear Leaf Spring Damper Installation Procedure
Use Damper Kit, Rear Spring Vib., P/N 15042486, for this procedure.
- Raise the vehicle. Support the rear axle. Refer to the General Information
subsection of the appropriate Service Manual for lifting and jacking information.
- Remove the leaf spring. Refer to the Rear Suspension subsection of the
appropriate Service Manual for leaf spring replacement procedures.
- Locate the rear spring clip closest to the shackle. This clip maintains
the alignment of the rear spring plates #1 and #2.
Notice: Do not damage the top surfaces of the #1
and #2 spring plates. Damage may cause premature spring breakage.
- Insert a wood wedge, no metal or sharp objects, between rear spring plates
#1 and #2, located forward of the clip. Allow enough clearance to work around. This
should maximize the gap between spring plates #1 and #2.
- Grind off or, using an 11 mm (0.44 in) drill bit, drill
out the rivet head holding the clip to the #2 spring plate.
- Remove the clip and the plastic clip liner from the spring assembly.
Discard the spring clip only.
- Knock out any remaining rivet residue from spring plate #2.
- Insert the stud bolt (2), P/N 15042491, from
the top of spring plate #2 (3) so that the bolt head sits into the hole's counter
sink.
- Place the spring clip (1), P/N 15042492, over the stud so that
the clip is in a similar position as the original clip removed previously. Do not
close the clip at this time.
- Install the damper (8), P/N 15042487, onto the stud. Install the
damper completely onto the stud so that the clip is securely trapped between the
#2 spring plate (bottom) and the damper inner sleeve.
Tighten
Tighten the damper to 30 N·m (22 lb ft)
while holding the stud.
- Install the jam nut (6), P/N 11505989
,
onto the stud until the nut is against the inner sleeve of the damper.
Tighten
Tighten the nut to 30 N·m (22 lb ft).
Notice: Do not break the clip liner or damage the
top surface of the #1 spring plate.
- Install the plastic clip
liner in the same orientation as when removed. The bolt head may stick up above the
top surface of the spring plate.
- Remove the wood wedge.
- Using a press or a vise, close the clip to the same position as the removed
clip. The maximum width of the installed clip is 91.5 mm (3.6 in) and
the maximum height is 46.5 mm (1.8 in). This ensures proper clearance
to the body rails.
- Install the leaf spring onto the vehicle. Refer to the Rear Suspension
subsection of the appropriate Service Manual for leaf spring replacement procedures.
- Repeat steps 2-15 for the other spring.
Parts Information
P/N
| Description
| Qty
|
15042486
| Damper Kit, Rear Spring Vib.
| 1
|
15006567
| Damper Kit, Rr Axle Vib.
(w/86 Hz Damper)
| 1
|
Parts are currently available from GMSPO.
Warranty Information
For vehicles repaired under warranty, use:
Labor Operation
| Description
| Labor Time
|
E6200
| Damper to Spring - Install
| 1.4 hrs
|
Add
| To Install Pinion Nose Damper
| 0.5 hr
|
F4000
| Pinion Nose Damper - Install
| 0.6 hr
|
Add
| To Install Leaf Spring Damper
| 1.3 hrs
|
These are unique labor operation numbers for use only with this bulletin. These
numbers will not be published in the Labor Time Guide.
|