GM Service Manual Online
For 1990-2009 cars only

Seat Armrest Breaking (Repair Armrest Using Service Kits)

Subject:Seat Armrest Breaking (Repair Armrest Using Service Kits)

Models:2000 Chevrolet and GMC M/L-Van Models
Built Between September 20, 1999 and March 31, 2000



Condition

Some customers may comment that the seat armrest(s) are breaking.

Correction

Important: Repair all seat armrests on suspected vehicles. This will eliminate repeat visits from the customer for this condition.

Repair seat armrests using service kits, P/N 15062623 (LH) and P/N 15062624 (RH). Use the following service procedure and the part numbers listed below.

  1. Rotate the armrest to the down position.

  2. Object Number: 730128  Size: MF
  3. Place a pair of internal snap-ring pliers between the seat back (1) and the armrest (2). Make sure that the snap-ring pliers go between the finger detents (3) of the torque washer (4).
  4. Spread the finger detents and slide the armrest off the pivot pin (5).

  5. Object Number: 730129  Size: SH
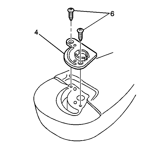
  6. Remove the two torque washer screws (6) and discard both the screws and the existing torque washer.

  7. Object Number: 730130  Size: SH
  8. Install the steel plate (7) over the two locator posts (8) on the armrest.
  9. Important: Make sure the armrest fabric is tucked in place and clear of the groove in the steel plate and the torque washer.

  10. Install the new torque washer. Secure the torque washer and steel plate to the armrest using the two new screws supplied with the service kit.
  11. With the armrest rotated at approximately 45 degrees, press the armrest onto the seat pivot pin until the finger detents fully engage into the groove of the seat pivot pin. An audible click should be heard.
  12. Raise and lower the armrest a few times to ensure that the armrest is working properly.
  13. Repeat the above steps to repair additional armrests. If repairing the inner armrests on the 2nd or 3rd seat, the seat back needs to be tilted forward to allow for armrest removal.

Parts Information

The armrest service kit contains two longer torque washer screws, a new torque washer and a steel plate. Service kits repair only one armrest. Several service kits may be required depending on vehicle application.

Part Number

Description

15062623

Attachment Kit, F/Seat Armrest (LH)

15062624

Attachment Kit, F/Seat Armrest (RH)

Parts are expected to be available 1-4-2001 from GMSPO.

Warranty Information

For vehicles repaired under warranty, use:

Labor Operation

Description

Labor Time

C6750

Armrest and/or Support Asm., Frt Seat Back - Replace

*0.2 hr

Add

To Repair Each Additional Armrest

0.1 hr

* This time is updated from the current Labor Time Guide. The next update of the Labor Time Guide will contain this change.