GM Service Manual Online
For 1990-2009 cars only
Makes
🢒
Chevrolet
🢒
2000
🢒
Astro - 2WD
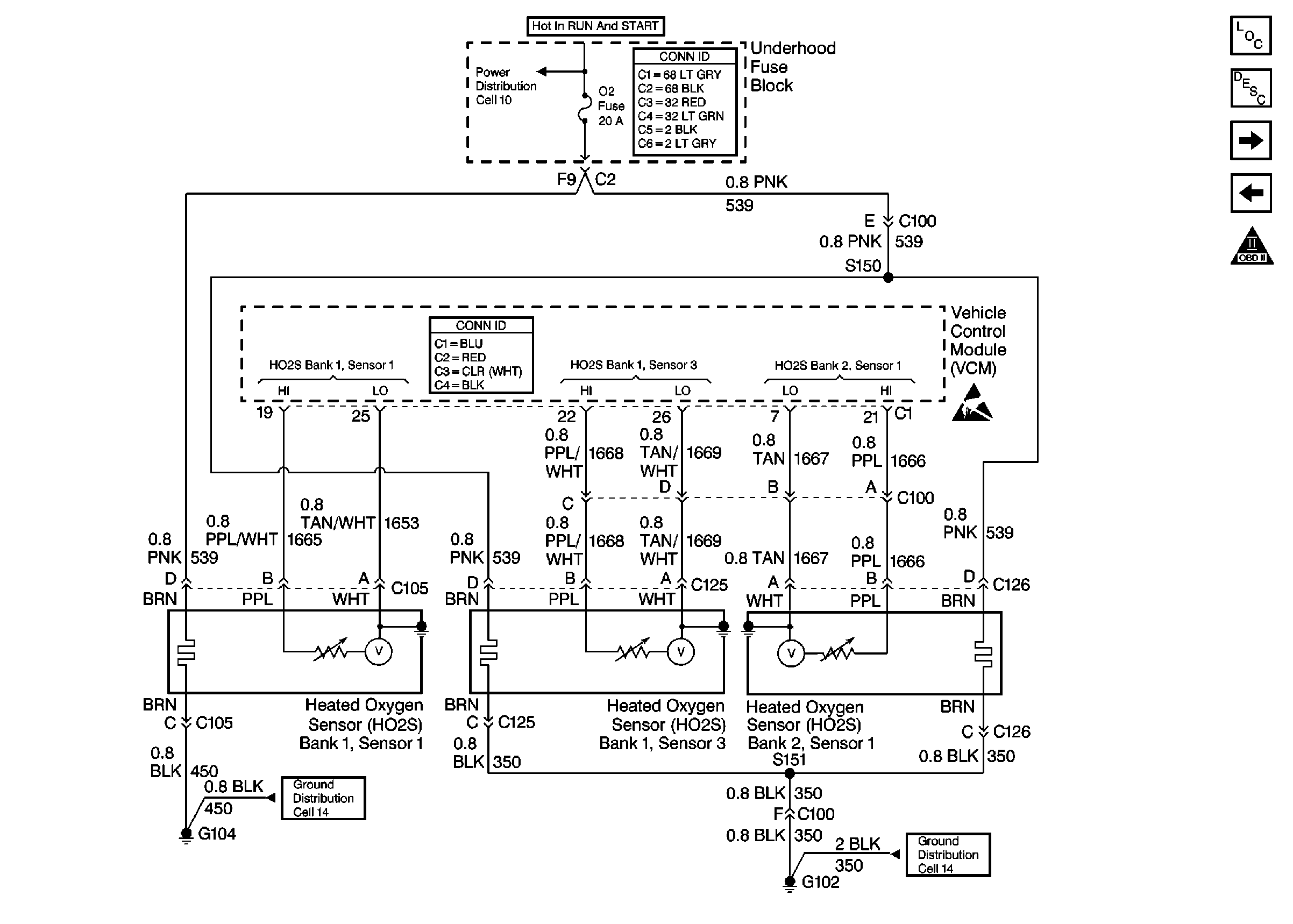
🢒 Cell 20: Heated Oxygen Sensors
Cell 20: Heated Oxygen Sensors
Cell 20: Heated Oxygen Sensors