GM Service Manual Online
For 1990-2009 cars only
Makes
🢒
Chevrolet
🢒
2000
🢒
Astro - 2WD
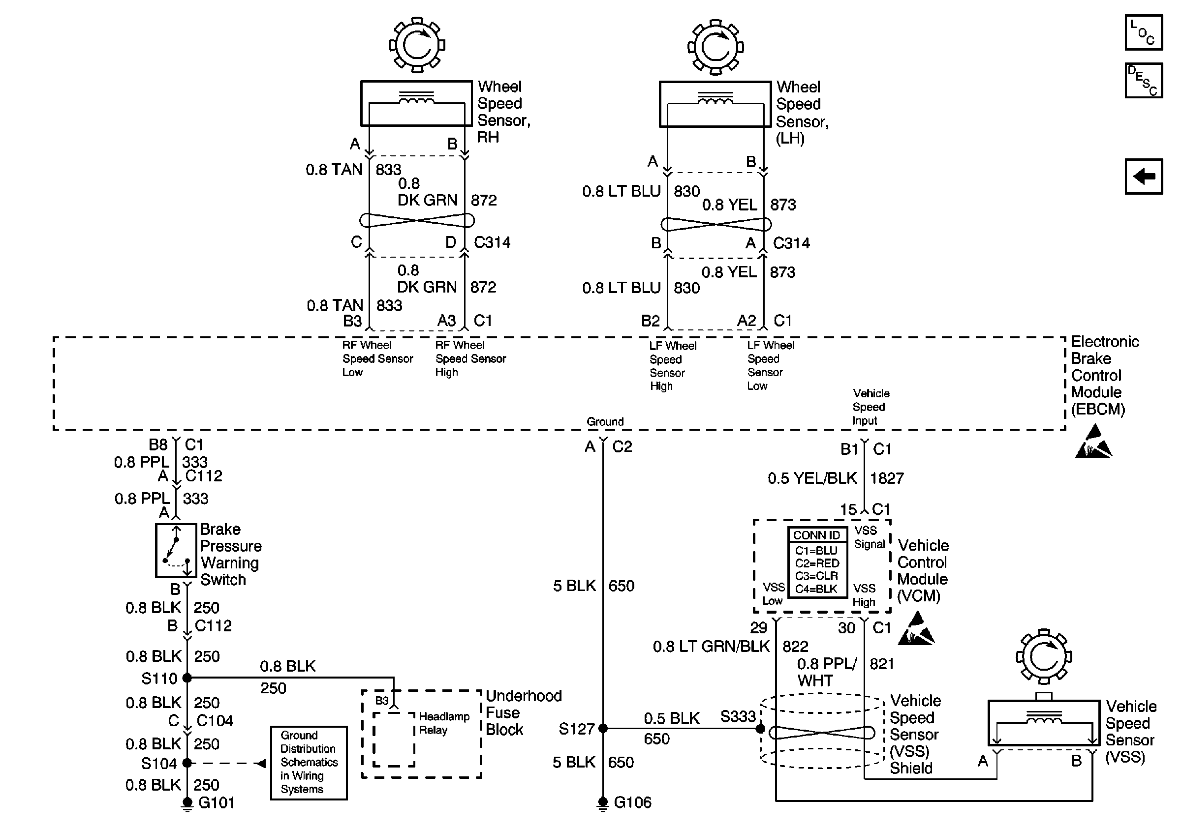
🢒 EBCM Ground Supply and Controls
EBCM Ground Supply and Controls
EBCM Ground Supply and Controls
ABS Components
ABS Description
EBCM Power Supply and Communication
Handling ESD Sensitive Parts Notice
Handling ESD Sensitive Parts Notice
G101, G106 and G302