GM Service Manual Online
For 1990-2009 cars only
Makes
🢒
Chevrolet
🢒
2000
🢒
Astro - 2WD
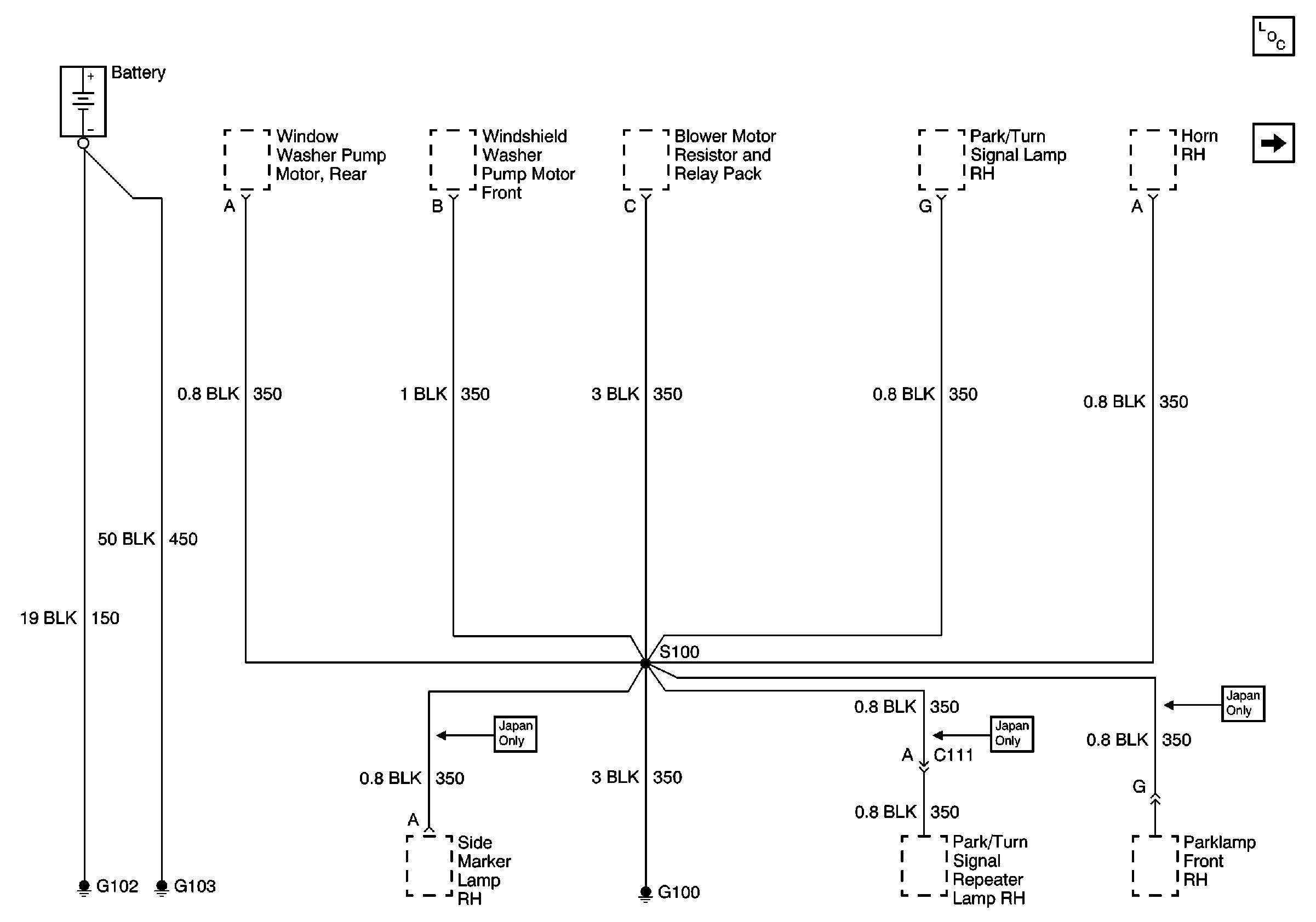
🢒 G100, G102 and G103
G100, G102 and G103
G100, G102 and G103
Power and Grounding Components
G101, G106 and G302